
Installation Guide
2-step solenoid valve
Type ICLX 32-65
ICLX 32-65 2 Step Solenoid Valve


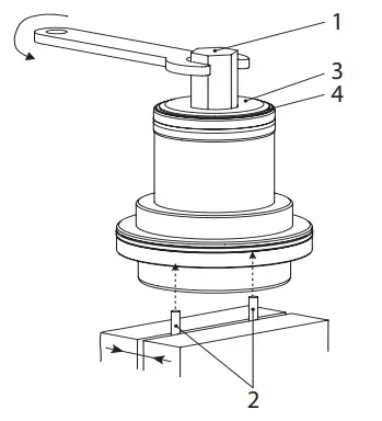
Unscrew and remove all top cover bolts.
Remove spindle sign, lock ring, and lock washer
Turn spindle downwards out of thread.

| two-step | one-step | |
| ICLX 32 | M5x6 | M5 x 16 |
| ICLX 40 | M5x6 | M5 x 16 |
| ICLX 50 | M5x6 | M5 x 16 |
| ICLX 65 | M5x6 | M5 x 16 |
| Allen key | Allen key |



| Valve body size | Nm | ft lb | |
| Pos. A | 32 | 120 | 88 |
| 40 | 120 | 88 | |
| 50 | 140 | 103 | |
| 65 | 150 | 110 | |
| 32 | 50 | 37 | |
| Pos. B | 40 | 50 | 37 |
| 50 | |||
| 65 |


- Body
- Top cover
- Function module
- Gasket
- Bolts
- EVM NC
- Manual operating spindle
- EVM NO
- External pressure inlet
- Cap

- Manual operating spindle
- Insert
- Piston assembly
- Spring
- Spring plate
- Retaining ring

- Sealing retainer
- PTFE valve plate
- Main piston
- Sealing retainer
- PTFE valve plate
- Bleed piston
- Bleed spring
- Main piston top
- Bolts

| Valve size | Nm | lb-ft |
| ICLX 32 | 30 | 22 |
| ICLX 40 | 30 | 22 |
| ICLX 50 | 50 | 37 |
| ICLX 65 | 50 | 37 |

| Valve size | Nm | lb-ft |
| ICLX 32 | 30 | 22 |
| ICLX 40 | 30 | 22 |
| ICLX 50 | 50 | 37 |
| ICLX 65 | 50 | 37 |

| Valve size | Nm | lb-ft |
| ICLX 32 | 30 | 7 |
| ICLX 40 | 30 | 7 |
| ICLX 50 | 30 | 22 |
| ICLX 65 | 50 | 37 |
Installation
Refrigerants
Applicable to HCFC, HFC, R717(Ammonia), and R744 (CO2). Flammable hydrocarbons are not recommended. The valve is only recommended for use in closed circuits. For further information please contact Danfoss.
Please note:
The ICLX function modules can only be used in housings produced in or after week 49 of 2012; thus the week code on the housing must be 4912 or higher.
Temperature range
-60 – 120 °C / -76 – 248 °F
Pressure
The valves are designed for a max. working pressure of 65 barg / 943 psig.
NOTE: Operating valve’s maximum working pressure is dependent on the maximum working pressure of installed pilots.
Application
The ICLX is used in suction lines for the opening against high differential pressure, e.g. after hot gas defrost in large industrial refrigeration systems with ammonia, fluorinated refrigerants, or CO2. The ICLX opens in two steps: Step one opens to approx. 10% of the capacity, when the pilot solenoid valves are activated. Step two opens automatically after the pressure differential across the valve reaches approximately 1 bar.
External pressure
The external pressure applied to the ICLX should always be 1.5 bar higher than the inlet pressure of the valve. This will give the valve a MOPD of 28 bar. If the external pressure s 2 bar higher than the inlet pressure the MOPD of the ICLX will be 40 bar.
Electrical wiring
The ICLX valve is a normally closed design. To ensure that the valve operates as normally closed it is important that the EVM NC pilot is mounted in the pilot port next to the external pressure inlet (fig. 2). For normal operation mode both pilots should be energized simultaneously, e.g. same signal can be used for both pilots. Coil requirements Both oils must be IP67. EVM NC: 10W ac (or higher) for MOPD up to 21 bar
EVM NC: 20W ac for MOPD 21 → 40 bar
EVM NO: 10W ac (or higher)
The valve will malfunction in systems where the pressure differential across the valve in normal open conditions will exceed 1 bar (15 psig). In this case, step two of the valve will close.
Orientation
The valve must be installed with the arrow in the direction of the flow and with the pilots pointing in one of the directions shown in fig.1. Downwards pointing pilots (any angle) is not possible. The top cover can be rotated 4 X 90° in relation to the valve body.
If the ICLX is installed with a vertical pilot orientation (see fig. 1) attention should be paid to having the EVM NO in the lower position. If needed rotate the top cover. The valve is fitted with a spindle for manual opening. Make sure that the external pilot line is connected to the upper side of the main line so that any dirt and oil from the plant will not find ts way into the pilot line. The valve is designed to withstand high internal pressure. However, the piping system should be designed to avoid liquid traps and reduce the risk of hydraulic pressure caused by thermal expansion. It must be ensured that the valve is protected from pressure transients like “liquid hammers” in the system.
Welding (fig. 5 and 8a)
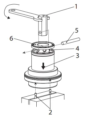
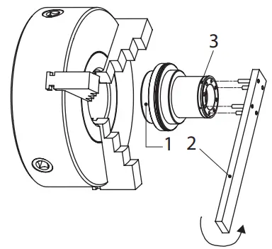
The top cover (fig. 8a, pos. 2) and function module (fig. 8a, pos. 3), must be removed before welding to prevent damage to o-rings and Teflon (PTFE) in the function module. Often the cover and function module can be removed while still assembled (fig. 3a), but if the internal O-rings stick to the metal surfaceit is necessary to disassemble in 2 steps (fig. 3b). In both cases the parts can be lifted out by the careful use of 2 screwdrivers.
Note: Remove all parts from the valve body before welding (as shown in fig. 5).
The internal surfaces and weld connections of the enclosed ICLX valve have been applied with an anti-corrosion treatment.
In order to maintain the effectiveness of this anti-corrosion treatment, it is important to ensure that the valve is disassembled just prior to the welding process being undertaken. In the event that the function modules are to be left disassembled for even a short period, please ensure that the function modules are further protected by placing in a polyethylene bag or by applying a rust protection agent (e.g. refrigeration oil or BRANOROL) on the surfaces. Only materials and welding methods, compatible with the valve ody material, must be applied to the valve body. Avoid welding debris and dirt in the valve body and the function module. The valve body must be free from stresses (external loads) after installation. The valves must not be mounted in systems where the outlet side of the valve is open to the atmosphere. The outlet side of the valve must always be connected to the system or properly capped off, for example with a welded-on end plate.
Assembly
Remove welding debris and any dirt from pipes and valve bodies before assembly. Check that the o-rings are intact before replacing the function module. If possible, apply some refrigeration oil to ease the insertion and to protect the o-rings. Check that the top gasket has not been damaged. If the surface has been damaged or the gasket has been bent, it
must be replaced.
Tightening (fig. 6)
Tighten the top cover with a torque wrench, to the values indicated in the table.
Colors and Identification
The ICLX valves are Zinc-Chromated from the factory. The Zinc-Chromatization does not cover the welding connections.
If further corrosion protection is required, the valves can be painted. The external surface of the valve housing must be protected against corrosion with a suitable top coating after installation involving welding and consequent assembly. Protection of the ID plate when painting the valve is recommended.
Important note for ICLX valves:
The ICLX valve is kept in its open position by hot gas. The hot gas condenses in the cold valve and creates liquid under the servo piston. When the pilot valves change status to close the ICLX, the pressure on the servo piston equalizes with the suction pressure through the pilot valve.
This equalization takes time because the condensed liquid is present in the valve. The exact time taken from when the pilot valves change position to the complete closing of the ICLX will depend on temperature, pressure, refrigerant, and size of the valve. Thus an exact closing time for the valves cannot be given but, in general, lower temperatures give longer closing times. It is very important to take the closing times into consideration when hot gas defrosts is performed on evaporators. Steps must be taken to ensure that the hot gas supply valve is not opened before the ICLX in the suction line is completely closed. If the hot gas supply valve is opened before the ICLX in the suction line is closed, considerable energy will be lost and potentially dangerous situations might arise because of the “liquid hammer”. In ICLX valves, the spring-loaded second stage might be induced to hammer by gas and liquid being forced through the valve at Δp > 1.5 bar across the ICLX. The final result could be severe damage to the valve. As a rule of thumb, a closing time of 2 minutes can be used as a starting point. The optimum closing time for each individual system must be determined at the initial start-up of the plant at intended operational conditions. It is recommended to check if the closing time needs to be changed when conditions change (suction pressure, ambient temp., etc.) and the closing time should be checked at the service of the valve. Once the optimum closing time has been identified it is recommended to add a safety margin of 30 sec. to the optimum closing time.
Maintenance
Service
The ICLX valves can be disassembled for service purposes. Only skilled and trained refrigeration engineers are allowed to service the ICLX valves. Do not open the valve while the valve is still under pressure. Pressure relief can be done by carefully opening the manual operating spindle. Small grooves along the thread will release refrigerant into open air. This operation must only be done after providing the correct countermeasures under local legislation.
Often the cover and function module can be removed while still assembled (fig. 3a), but if the internal O-rings stick to the metal surface it is necessary to disassemble in 2 steps (fig. 3b). In both cases the parts can be lifted out by the careful use of 2 screwdrivers. Upon opening and removal of the function module:
- Check that the o-rings on the function module has not been damaged. A valve with a damaged o-ring might not operate according to the specification.
- The insert and piston assembly can be disassembled according to figure 8b & 8c.
Be careful when removing the retaining ring (fig. 8b, pos. 6). The retaining ring (fig. 8b, pos. 6) will be submitted to the force from the compressed spring (fig. 8b, pos. 4). Be careful not to damage the two Seal Seats shown in fig. 8b and 8c since any deformation of the steel surface will lead to malfunction of the valve. - Check pistons, cylinders and valve plates for wear and scratches and replace if needed
- Check that the movement of the pistons and valve seats are free and with low friction.
Replacement of Valve Plates (ordinary wear parts)
It is possible to replace the two PTFE valve plates (fig. 8c, pos. 2, and pos. 5) by the following fig. 9 and these instructions: Fig. 9a, pos.1 shows a hexagon profile (tool) that fits into the female hexagon hole in the sealing retainer (pos. 3) of the piston assembly of ICLX 50 – 65. For ICLX 32 – 40 the corresponding tool has to be a hollow hexagon to fit onto the male hexagon. As a backstop when unscrewing the sealing retainer it is recommended to make an arrangement of two steel pins that fits into the small female hexagon holes of the Allen bolts (fig. 8c, pos. 9), clamped into a vice (fig. 9a, pos. 2). Once the sealing retainer is removed, the Valve plate (pos. 4) can be lifted out. Move the two steel pins (fig. 9b, pos. 2) to a higher position in the vice to allow the bleed piston (fig. 9b, pos. 3) to be slid downwards and expose a ring of holes (pos. 4). While there is access to the holes (pos. 4) a steel pin (pos. 5) with matching diameter is inserted through two opposed holes with tool post. 1 (or similar punched tool) in the middle. Unscrew the main piston (fig. 9b, pos. 6). For disassembling of the last sealing retainer it is recommended to utilize a mandrel with the three-point suspension to avoid deformation of the surfaces (fig. 9c). Clamp the bleed piston carefully to the mandrel at surface pos.1. Block the mandrel from rotation and unscrew the sealing retainer with a tool (pos. 2) manufactured for the purpose.
When the sealing retainer is removed the remaining valve plate (pos. 3) can be replaced. Reassembling of the piston assembly is done in reverse order. The torque values for the different joints are shown in fig. 9.
Assembly
Remove any dirt from the body before the valve is assembled. Check that all channels in the valve are not blocked by particles or similar. If possible, apply some refrigeration oil o ease the insertion and to protect the o-rings.
Tightening (fig. 6)
Tighten the top cover with a torque wrench, to the values indicated in the table.
Changing from two steps to a one-step function
The ICLX valve is from the factory side setup as two step function. To change the opening characteristics to one step function the following step must be completed:
- Remove the opcover from the valve housing (fig. 3
- Change the two bolts (fig. 8c, pos. 9), with the insert still in the valve housing.
- The length of the two bolts corresponds to the desired characteristic of the valve and should be applied according to the table (fig. 4)
- After changing the bolts the valve can be reassembled.
Manual opening device (fig. 7) Normal operation mode For the valve to operate normally under the influence of the pilot valves the spindle of the manual operation device needs to be turned fully clockwise until the locking ring (A) sits on the top of the packing gland. Manual forced opening To manually open the valve the spindle of the manual peration device needs to be turned fully counterclockwise until hitting the mechanical stop. Commissioning The time span required to secure full closing of the ICLX valve depends on valve size and application, and needs to be investigated on site. The optimum should be determined during commissioning. Use only original Danfoss parts, including O-rings and gaskets for replacement. Materials of new parts are certified for the relevant refrigerant. In cases of doubt, please contact Danfoss. Drawings are only for illustration, not for dimensioning or construction.
Danfoss A/S
Climate Solutions
- danfoss.com
- +45 7488 2222
Any information, including, but not limited to information on selection of product, its application or use, product design, weight, dimensions, capacity or any other technical data in product manuals, catalogs descriptions, advertisements, etc. and whether made available in writing, orally, electronically, on line or via download, shall be considered informative and is only binding if and to the extent, explicit reference is made in a quotation or order confirmation. Danfoss cannot accept any responsibility for possible errors in catalogs, brochures, videos, and other material. Danfoss reserves the right to alter its products without notice. This also applies to products ordered but not delivered provided that such alterations can be made without changes to the form, fit, or function of the product. All trademarks in this material are property of Danfoss A/Sor Danfoss group companies. Danfoss and the Danfoss logo are trademarks of Danfoss A/S. All rights reserved.
© Danfoss | Climate Solutions | 2022.08
AN17978643972202-000701 | 18















