00050561 Home and Office
DIN A4 or 250 Laminator
Instruction Manual
00 050561
![]()
![]()


Machine setup
- Laminate output (rear)
- Roller unlocking (rear)
- Connection cable
- Laminate intake
- On/Off switch
- Ready status LED
- Power status LED
Introduction
1.1 Foreword
Thank you for choosing the Hama products.
Take your time and read the following instructions and information completely. Please keep these instructions in a safe place for future reference. If you sell the device, please pass these operating instructions on to the new owner.
Note –Importance of the operating instructions
Failure to observe the operating instructions when using the product constitutes incorrect use or wilful misuse and is not permitted.
1.2 Explanation of warning symbols and notes
Risk of electric shock
This symbol indicates a risk of electric shock from touching product parts carrying hazardous voltage.
Warning
This symbol is used to indicate safety instructions or to draw your attention to specific hazards and risks.
Note
This symbol is used to indicate additional information or important notes.
1.3 Package contents
- Home &Office DIN A4 /250″ Laminator
- 5laminating pouches (DIN A4)
- These operating instructions
Security
2.1 Correct use
- This product is intended for the lamination of documents both in the home and in the commercial sector, provided the applications are comparable with typical household use (e.g. in offices, workshops, hotels, etc.).
- Do not operate the product continuously,asitisnot designed for this.
- Use the product only for the intended purpose.
- The product is intended only for use inside buildings.
- Protect the product from dirt, moistureand overheating, and use it in dry rooms only.
- Do not use the product in the immediate vicinity of heaters, other heat sources or in direct sunlight.
- Do not use the product in a damp environment and avoid splashing water.
- Do not operate the product outside the power limits specified in the technical data.
- Do not use the product in areas in which electronic products arenot permitted.
- Do not drop the product and do not expose it to any major shocks.
- This product is not intended for use by persons, including children, with limited physical, sensory, or mental abilities or lacking in experience or knowledge, unless they are
supervised by a person responsible for their safety or have been instructed on how to use the product. - As with all electrical products, this device should be kept out of the reach of children.
- Keep the packaging material out of the reach of children due to the risk of suffocation.
- Dispose of packaging material immediately in accordance with the locally applicable regulations.
- Do not modify the product in any way. Doing so voids the warranty.
- Only use the article under moderate climatic conditions.
Note
The product is only intended for volumes generated by households.
Note –Commercial use
- If the device is used commercially, the increased duty of care requirements apply.
- Therefore, please observe the accident prevention regulations of the German employer’s liability insurance association for electrical systems and equipment.
Please also observe all accident prevention regulations from other applicable employer liability insurance associations and accident insurance companies, as well as any legal regulations applicable to the particular industry and/or location.
2.2 Basic safety instructions
Please note the following safety instructions in order to use the device safely:
- Check the device before use for any visible external damage. Do not put the damaged device into operation.
- People who, as aresult of their physical, mental, or motor capacities, are unable to operate the device safely must only use the device under supervision or after instruction by a responsible person.
- Faulty components must only be replaced with original spare parts. Only these parts are guaranteed to meet the required safety standards.
- Protect the device against moistureand the penetration of liquids or objects. In the event of contact with liquid, disconnect the device from the power supply immediately.
Warning -Danger of burns on the housing
Do not touch the housing.
Risk of electric shock
- Do not open the device or continue to operate it if it becomes damaged.
- Do not use the product if the AC adapter, adapter cable, or power cable is damaged.
- Do not attempt to service or repair the product yourself. Leave any and all service work to qualified experts.
Installation /Setup
Warning
- Only operate the product from the socket that has been approved for the device. The socket must be installed close to the product and must be easily accessible.
- Disconnect the product from the power supply using the On/Off switch –if it is not available, unplug the power cord from the socket.
- If using a multi-socket power strip, make surethat the total power consumption of all connected devices does not exceed the power strip’s maximum throughput rating.
- If you will not be using the product for a prolonged period, disconnect it from mains power.
Note
- Set the product up on a level, horizontal, and sufficiently stable and heat-resistant surface.
- Route all cables so that thereisnorisk of tripping.
- Do not bend or crush the cable.
- Protect the connecting cable from hot surfaces and sharp edges.
- Always pull directly on the plug when disconnecting the cable, never on the cable itself.
- The product must only be operated on a supply network as described on the type plate.
- Connect the network cable to a properly installed and easily accessible network socket.
Operation
Note
- Always set the correct temperature for the laminating pouch thickness being used.
- When laminating thicker paper or multiple pages, we recommend using a thinner pouch.
- Always wait until one laminating operation is finished before starting the next one.
- Do not allow the device to run for more than two hours at a time.
- Wait around 15 seconds between two laminating processes.
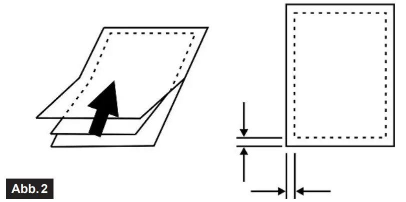
- Laminating pouches of all sizes should be introduced into the center of the opening on the front. Ensure that the sealed end is introduced first. (See Fig. 2)
4.1 Switching the device on
- Move the On/Off switch (5) to the “COLD” or “HOT” position to switch the device on.
- The Power status LED (7) lights up solid blue.
4.2 Cold lamination
- Move the On/Off switch (5) to the “COLD” position for cold lamination.
Note
- If hot lamination was carried out beforehand, it can take up to around 40 minutes before the device has fully cooled.
- Special pouches are needed for cold lamination. The seal is created with pressure rather than heat. It is not permanent and does not offer one hundred percent protection against oxygen and water. The process is suitable for heat-sensitive documents, such as thermal paper, till receipts, driving licenses, or laser copies. In other words, anything that would be damaged or altered by hot lamination.
- Wait until the Ready status LED (6) lights up solid red. The device is cool or is not heating up?
- Place the object to be laminated in the corresponding cold lamination pouch.
- Guide the pouch into the middle of the front opening (4) on the device. Ensure that the sealed end (see Fig. 2) is introduced first.
- The document is output again at the back (1).
- If the document has not been fully laminated, repeat the initial steps.
- To interrupt the lamination process (e.g. if the intake angle is incorrect), press the roller unlocking button (2) and correct the position of the pouch.
4.3 Hot lamination
- Forgot lamination, move the On/Off switch (5) to the “HOT” position.
Warning -Danger of burns on the housing
- Do not touch the housing.
- Be aware that laminated objects are hot.
- Place the laminated object on a level surface to cool down in order to prevent it from curling up.
Note
Special pouches are needed for hot lamination. They are sealed using heat. This seal is permanent and cannot be undone. Only objects that are insensitive to heat should be laminated. From a touch edge of around 4mm, the objects are protected so they are virtually waterproof. The thickness of the pouch determines the object’s stability/kink protection.
- The Ready LED (6) lights up solid to reduce the required temperature has been reached.
- Place the object to be laminated in the corresponding hot lamination pouch.
- Guide the pouch into the middle of the front opening (4) on the device. Ensure that the sealed end (see Fig. 2) is introduced first.
- The document is output again at the back (1).
- If the document has not been fully laminated, repeat the initial steps.
- To interrupt the lamination process (e.g. if the intake angle is incorrect), press the roller unlocking button (2) and correct the position of the pouch.
4.4 Switching the device off
- Move the On/Off switch (5) to the “OFF” position to switch the device off.
- Both status LEDs (6/7) go out.
- Remove the mains lead from the socket.
- Allow the device to cool down completely before tidying it away.
Care and maintenance
Danger –the risk of death from electric shock
Disconnect the mains plug from the socket before starting any cleaning work.
Warning -Danger of burns on the housing
Do not touch the housing.
Warning -damage to the device from moisture
Ensure, when cleaning, that no moisture penetrates the device in order to avoid irreparable damage to it.
The rollers on the laminator must be regularly cleared of dust and any glue residue. To do so, proceed as follows:
- Switch the device on -as described in 4.1 Switch the device on.
- Move the On/Off switch (5) to the “HOT” position.
- Wait until the Ready status LED (6) lights up solid red.
- Guide a piece of paper into the middle of the front opening (4).
- Repeat the process if there is a lot of dirt on the paper.
- Clean the outside of the device with a slightly damp cloth.
Troubleshooting
| Error | Possible cause | Remedy |
| The Power LED (7) does not light up solid blue. | The On/Off switch (5) is in the “OFF” position. | Move the On/Off switch (5) to the “COLD” or “HOT” position. |
| The mains cable (3) is not connected correctly. | Ensure that the mains plug is in the mains socket. | |
| The socket is not live. | Check the domestic fuses. | |
| The device is faulty. | Notify Customer Services. | |
| Pouches aren’t laminated correctly. | The required temperature has not yet been reached. | Wait until the Ready status LED (6) lights up solid red. |
Technical data
| Input voltage | 220-240 V~ |
| Mains Frequency | 50 Hz |
| Dimensions (W WxHxD) | 34.5 x6.5 x14cm |
| Weight (net) | 1.08 kg |
| Weight (gross) | 1.23 kg |
| Maximum laminating width | 240 mm |
| Maximum laminating thickness | 0.6 mm |
| Maximum pouch thickness | 125µ |
| Maximum heat-up time | 3-4minutes |
| Maximum speed | 250 mm/minute |
| Number of heated rollers | 2 |
Warranty Disclaimer
All of the technical information, data, and instructions regarding operation contained in these operating instructions were up to date at the time of printing and are provided based on previous experience and to the best of our knowledge.
Hama GmbH &CoKG assumes no liability and provides no warranty for damage resulting from improper installation/mounting, improper use of the product, or failure to observe the operating instructions and/or safety notes.
Hama GmbH &CoKG
86652 Monheim /Germany
Service &Support
www.hama.com
+49 9091 502-0
www.hama.com/nep![]()
All listed brands are trademarks of the corresponding companies. Errors and omissions excepted, and subject to technical changes. Our general terms of delivery and payment are applied.
00050561/05.22


















