
toboli 61580 Automatic Greenhouse Window Opener User Manual

Illustration similar, may vary depending on model
Read and follow the operating instructions and safety information before using for the first time.
Technical changes reserved!
Due to further developments, illustrations, functioning steps, and technical data can differ insignificantly.
Updating the documentation
If you have suggestions for improvement or have found any irregularities, please contact us.
The information contained in this document may alter at any time without previous notice. It is prohibited to copy or spread any parts of this document in any way without prior written allowance. All rights re-served.
The WilTec Wildanger Technik GmbH cannot be held accountable for any possible mistakes in this operating manual, nor in the diagrams and figures shown.
Even though, the WilTec Wildanger Technik GmbH has undergone biggest possible efforts to ensure that the operating manual is complete, faultless, and up to date, mistakes cannot be entirely avoided.
If you should find a mistake or wish to make a suggestion for improvement, we look forward to hearing from you.
Send an e-mail to:
[email protected]
or use our contact form:
https://www.wiltec.de/contacts/
The most recent version of this manual in various languages can be found in our online shop via:
https://www.wiltec.de/docsearch
Our postal address is:
WilTec Wildanger Technik GmbH
Königsbenden 12
52249 Eschweiler
Germany
To return orders for exchange, repair, or other purposes, please use the following address. Attention! To allow for a smooth execution of your complaint or return, it is important to contact our customer service team before returning the goods.
Returns Department
WilTec Wildanger Technik GmbH
Königsbenden 28
52249 Eschweiler
E-mail: [email protected]
Tel: +49 2403 55592–0
Fax: +49 2403 55592–15
Introduction
Thank you for purchasing this quality product. To minimise the risk of injury we urge that our clients take some basic safety precautions when using this device. Please read the operation instruc-tions carefully and make sure you have understood its content. Keep these operation instructions safe.
Parts list


Assembly
- The existing struts of the window sashes and the fittings need to be removed from the window. Make sure that the window can be opened freely.
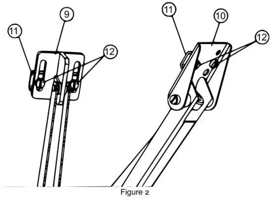
- Use screws (12) to loosely attach the two brackets (11) to the frame holder (10) (see fig. 2). Make sure that the upper side of the frame holder is close to the window frame. If the greenhouse is made of wood, the window and frame holder can directly be attached to the wood.
- Attach the cylinder to the cylinder casing.
- Use the suitable method depending on the different opening widths of the window.
◦ If the window can be opened by at least 40 cm: Place the piston rod (3) into the thrust rod (6). Push the splint (8) through 2 holes: the hole of the piston rod and the hole “B” of the thrust rod (6) (see fig. 5).
◦ If the window can be opened between 30 cm and 40 cm: Follow the steps described concerning a 40 cm opening window. But instead use hole “A” of the thrust rod (6). Then place the positioning pin (7) into the hole of arm B (5) (see fig. 6). (Attention! Do not fix the positioning pin (7) unless the splint has been secured in hole “A”). - Unscrew the cylinder (1) from the cylinder casing (2), yet do not remove the cylinder. The piston rod (3) and the thrust rod (6) should stay built together (see fig. 7).
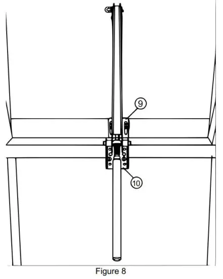
- Attach the frame holder (10) to the window sill and attach the window holder (9) to the window frame, above the frame holder (10). The window should be closed (see fig. 8).
- Screw the cylinder (1) to the cylinder casing (2) until the thread is the same length on both sides of the casing.
Adjustment
- Turning the cylinder can lead to the automatic opener opening at different temperatures (see fig. 9).
- Turning it clockwise enables an earlier and higher opening.
- Turning it counter-clockwise enables a later and lower opening.
- A complete turn corresponds to approximately 0.5 ℃.
Technical data

Storage
When the automatic window opener is not used for a longer period of time, we recommend to remove it (or at least the cylinder) from the greenhouse. It should be stored in a dry place. The piston rod needs to be lubricated. Ensure that the piston rod can move easily before reattaching it.
Note
- Do not heat above 50 ℃.
- Do not apply excessive loads with locking or covering the window.
- Never take the cylinder apart.
- Do not place in windows that are emergency exits, so that these are not blocked in case of an emergency.
- As the sash of the window can be damaged by the screws during the assembly, it should be considered when living in a rented flat. You risk a claim for compensation or the withholding of the rent deposit.
Figures








Important notice:
The reprint or reproduction, even of excerpts, and any commercial use, even in part, of this instruction manual require the written permission of WilTec Wildanger Technik GmbH.
© by WilTec Wildanger Technik GmbH
Read More About This Manual & Download PDF:

















