
GWS Professional
HEAVY
DUTY
9-100 P | 9-115 P | 9-125 P
Original instructions
1 609 92A 5FP (19.05.2021)
Bosch Power Tools
![]() | ![]() |
Safety Instructions
General Power Tool Safety Warnings
WARNING
Read all safety warnings and all instructions.
Failure to follow the warnings and instructions may result in electric shock, fire and/or serious injury. Save all warnings and instructions for future reference.
The term “power tool” in the warnings refers to your mains-operated (corded) power tool or battery-operated (cordless) power tool.
Work area safety
- Keep the work area clean and well-lit. Cluttered or dark areas invite accidents.
- Do not operate power tools in explosive atmospheres, such as in the presence of flammable liquids, gases or dust. Power tools create sparks that may ignite dust or fumes.
- Keep children and bystanders away while operating a power tool. Distractions can cause you to lose control.
Electrical safety - Power tool plugs must match the outlet. Never modify the plug in any way. Do not use any adapter plugs with earthed (grounded) power tools. Unmodified plugs and
matching outlets will reduce risk of electric shock. - Avoid body contact with earthed or grounded surfaces, such as pipes, radiators, ranges and refrigerators. There is an increased risk of electric shock if your body is earthed or grounded.
- Do not expose power tools to rain or wet conditions. Water entering a power tool will increase the risk of electric shock.
- Do not abuse the cord. Never use the cord for carrying, pulling or unplugging the power tool. Keep
cord away from heat, oil, sharp edges or moving parts. Damaged or entangled cords increase the risk of electric shock. - When operating a power tool outdoors, use an extension cord suitable for outdoor use. Use of a cord suitable for outdoor use reduces the risk of electric shock..
- If operating a power tool in a damp location is unavoidable, use a residual current device (RCD) protected supply.
The use of an RCD reduces the risk of electric shock.
Personal safety - Stay alert, watch what you are doing and use common sense when operating a power tool. Do not use a power tool while you are tired or under the influence of drugs, alcohol or medication. A moment of inattention while operating power tools may result in serious personal injury.
- Use personal protective equipment. Always wear eye protection. Protective equipment such as dust mask, non-skid safety shoes, hard hat, or hearing protection used for appropriate conditions will reduce personal injuries.
- Prevent unintentional starting. Ensure the switch is in the off-position before connecting to a power source and/or battery pack, picking up or carrying the tool.
Carrying power tools with your finger on the switch or energizing power tools that have the switch on invites accidents. - Remove any adjusting key or wrench before turning the power tool on. A wrench or a key left attached to a rotating part of the power tool may result in personal injury.
- Do not overreach. Keep proper footing and balance at all times. This enables better control of the power tool in unexpected situations.
- Dress properly. Do not wear loose clothing or jewelry. Keep your hair, clothing and gloves away from moving parts. Loose clothes, jewelry or long hair canbe caught in moving parts.
- If devices are provided for the connection of dust extraction and collection facilities, ensure these are connected and properly used.
The use of dust collection can reduce dust-related hazards.
Power tool use and care - Do not force the power tool. Use the correct power tool for your application. The correct power tool will do the job better and safer at the rate for which it was designed.
- Do not use the power tool if the switch does not turn it on and off. Any power tool that cannot be controlled with the switch is dangerous and must be repaired.
- Disconnect the plug from the power source and/or the battery pack from the power tool before making any adjustments, changing accessories, or storing power tools. Such preventive safety measures reduce the risk of starting the power tool accidentally.
- Store idle power tools out of the reach of children and do not allow persons unfamiliar with the power tool or these instructions to operate the power tool. Power tools are dangerous in the hands of untrained users.
- Maintain power tools. Check for misalignment or binding of moving parts, breakage of parts and any other condition that may affect the power tool’s operation. If damaged, have the power tool repaired before use.
Many accidents are caused by poorly maintained power tools. - Keep cutting tools sharp and clean. Properly maintained cutting tools with sharp cutting edges are less likely to bind and are easier to control.
- Use the power tool, accessories and tool bits, etc. in accordance with these instructions, taking into account the working conditions and the work to be performed.
Use of the power tool for operations different from those intended could result in a hazardous situation.
Service - Have your power tool serviced by a qualified repair person using only identical replacement parts. This will ensure that the safety of the power tool is maintained.
Safety Warnings for Angle Grinder
Safety Warnings are common for Grinding, Sanding, Wire Brushing or Abrasive Cutting Off operations - This power tool is intended to function as a grinder, sander, wire brush or cut-off tool. Read all safety warnings, instructions, illustrations and specifications provided with this power tool.
Failure to follow all instructions listed below may result in electric shock, fire and/or serious injury. - Operations such as polishing are not recommended to be performed with this power tool. Operations for which the power tool was not designed may create a hazard and cause personal injury.
- Do not use accessories that are not specifically designed and recommended by the tool manufacturer. Just because the accessory can be attached to your power tool, it does not assure safe operation.
- The rated speed of the accessory must be at least equal to the maximum speed marked on the power tool. Accessories running faster than their rated speed can break and fly apart.
- The outside diameter and the thickness of your accessory must be within the capacity rating of your power tool.
Incorrectly sized accessories cannot be adequately guarded or controlled. - Threaded mounting of accessories must match the grinder spindle thread. For accessories mounted by flanges, the arbor hole of the accessory must fit the locating diameter of the flange. Accessories that do not match the mounting hardware of the power tool will run out of balance, vibrate excessively and may cause loss of
control. - Do not use a damaged accessory. Before each use inspect the accessory such as abrasive wheels for chips and cracks, backing pad for cracks, tear or excess wear, wire brush for loose or cracked wires. If a power tool or accessory is dropped, inspect for damage or install an undamaged accessory. After inspecting and installing an accessory, position yourself and bystanders away from the plane of the rotating accessory and run the power tool at maximum no-load speed for one minute.
Damaged accessories will normally break apart during this test time. - Wear personal protective equipment. Depending on the application, use face shield, safety goggles or safety glasses. As appropriate, wear dust mask, hearing protectors, gloves and a workshop apron capable of stopping small abrasive or workpiece fragments. The eye protection must be capable of stopping flying debris generated by various operations. The dust mask or respirator must be capable of filtrating particles generated by your operation. Prolonged exposure to high-intensity noise may cause hearing loss.
- Keep bystanders a safe distance away from work area. Anyone entering the work area must wear personal protective equipment. Fragments of a workpiece or of a broken accessory may fly away and cause injury beyond the immediate area of operation.
- Hold the power tool by insulated gripping surfaces only, when performing an operation where the cutting accessory may contact hidden wiring or its own cord. Cutting accessory contacting a “live” wire may make ex- posed metal parts of the power tool “live” and could give the operator an electric shock.
- Position the cord clear of the spinning accessory. If you lose control, the cord may be cut or snagged and your hand or arm may be pulled into the spinning accessory.
- Never lay the power tool down until the accessory has come to a complete stop. The spinning accessory may grab the surface and pull the power tool out of your control.
- Do not run the power tool while carrying it at your side. Accidental contact with the spinning accessory could snag your clothing, pulling the accessory into your
body. - Regularly clean the power tool’s air vents. The motor’s fan will draw the dust inside the housing and excessive accumulation of powdered metal may cause electrical
hazards. - Do not operate the power tool near flammable materials. Sparks could ignite these materials.
- Do not use accessories that require liquid coolants.
Using water or other liquid coolants may result in electro- cution or shock.
Kickback is a sudden reaction to a pinched or snagged rotating wheel, backing pad, brush or any other accessory.
Pinching or snagging causes rapid stalling of the rotating accessory which in turn causes the uncontrolled power tool to be forced in the direction opposite of the accessory’s rotation at the point of the binding.
For example, if an abrasive wheel is snagged or pinched by the workpiece, the edge of the wheel that is entering into the pinch point can dig into the surface of the material
causing the wheel to climb out or kick out. The wheel may either jump toward or away from the operator, depending on the direction of the wheel’s movement at the point of pinching. Abrasive wheels may also break under these conditions.
Kickback is the result of power tool misuse and/or incorrect operating procedures or conditions and can be avoided by taking proper precautions as given below.
- Maintain a firm grip on the power tool and position your body and arm to allow you to resist kickback forces. Always use an auxiliary handle, if provided, for maximum control over kickback or torque reaction during start-up. The operator can control torque reactions or kickback forces if proper precautions are taken.
- Never place your hand near the rotating accessory.
The accessory may kick back over your hand. - Do not position your body in the area where the power tool will move if kickback occurs. Kickback will propel the tool in a direction opposite to the wheel’s movement at the point of snagging.
- Use special care when working corners, sharp edges etc. Avoid bouncing and snagging the accessory.
Corners, sharp edges or bouncing have a tendency to snag the rotating accessory and cause loss of control or kickback. - Do not attach a saw chain woodcarving blade or toothed saw blade. Such blades create frequent kickback and loss of control.
Safety warnings specific for Grinding and Abrasive
Cutting-Off operations - Use only wheel types that are recommended for your power tool and the specific guard designed for the selected wheel. Wheels for which the power tool was not
designed cannot be adequately guarded and are unsafe. - The grinding surface of center depressed wheels must be mounted below the plane of the guard lip. An improperly mounted wheel that projects through the plane of the guard lip cannot be adequately protected.
- The guard must be securely attached to the power tool and positioned for maximum safety, so the least amount of wheel is exposed to the operator.
The guard helps to protect the operator from broken wheel fragments, accidental contact with the wheel and sparks that could ignite clothing. - Wheels must be used only for recommended applications. For example: do not grind with the side of cutoff wheel.
Abrasive cut-off wheels are intended for peripheral grinding, side forces applied to these wheels may cause them to shatter. - Always use undamaged wheel flanges that are of correct size and shape for your selected wheel.
Proper wheel flanges support the wheel thus reducing the possibility of wheel breakage. Flanges for cut-off wheels may be different from grinding wheel flanges. - Do not use worn-down wheels from larger power tools. Wheel intended for larger power tool is not suitable for the higher speed of a smaller tool and may burst. Additional Safety Warnings Specific for Abrasive Cutting Off operations
- Do not “jam” the cut-off wheel or apply excessive pressure. Do not attempt to make an excessive depth of cut. Overstressing the wheel increases the loading and susceptibility to twisting or binding of the wheel in the cut and the possibility of kickback or wheel breakage.
- Do not position your body in line with and behind the rotating wheel. When the wheel, at the point of operation, is moving away from your body, the possible kickback may propel the spinning wheel and the power tool directly at you.
- When the wheel is binding or when interrupting a cut for any reason, switch off the power tool and hold the power tool motionless until the wheel comes to a complete stop. Never attempt to remove the cut-off wheel from the cut while the wheel is in motion otherwise kickback may occur. Investigate and take corrective action to eliminate the cause of wheel binding.
- Do not restart the cutting operation in the workpiece.Let the wheel reach full speed and carefully re-enter the cut. The wheel may bind, walk up or kick back if the power tool is restarted in the workpiece.
- Support panels or any oversized workpiece to minimize the risk of wheel pinching and kickback.
Large workpieces tend to sag under their own weight. Supports must be placed under the workpiece near the line of cut and near the edge of the workpiece on both sides of the wheel. - Use extra caution when making a “pocket cut” into existing walls or other blind areas. The protruding wheel may cut gas or water pipes, electrical wiring or objects that can cause kickback.
Safety warnings specific for Sanding operations - Do not use excessively oversized sanding disc paper.
Follow manufacturer’s recommendations, when selecting sanding paper. Larger sanding paper extending beyond the sanding pad presents a laceration hazard and may cause nagging, tearing of the disc, or kickback.
Safety warnings specific for Wire Brushing operations - Be aware that wire bristles are thrown by the brush even during ordinary operation. Do not overstress the wires by applying excessive load to the brush The wire bristles can easily penetrate light clothing and/or skin.
- If the use of a guard is recommended for wire brushing, do not allow any interference of the wire wheel or brush with the guard. Wire wheel or brush may expand in diameter due to work load and centrifugal forces.
Additional safety information
Wear safety goggles.
- Use suitable detectors to determine if utility lines are hidden in the work area or call the local utility company for assistance. Contact with electric lines can lead to fire and electric shock. Damaging a gas line can lead to an explosion. Penetrating a water line causes property damage or may cause an electric shock.
- Do not touch grinding and cutting discs until they have cooled down. The discs can become very hot while working.
- Release the On/Off switch and set it to the off position when the power supply is interrupted, e. g., in case of a power failure or when the mains plug is pulled. This
prevents uncontrolled restarting. - Secure the workpiece. A workpiece clamped with clamping devices or in a vice is held more secure than by hand.
Products sold in GB only:
Your product is fitted with a BS 1363/A approved electric plug with an internal fuse (ASTA approved to BS 1362). If the plug is not suitable for your socket outlets, it should be
cut off and an appropriate plug fitted in its place by an authorized customer service agent. The replacement plug should have the same fuse rating as the original plug.
The severed plug must be disposed of to avoid a possible shock hazard and should never be inserted into a main socket elsewhere.
Please observe the illustrations at the beginning of this operating manual.
Intended use
The power tool is intended for cutting, roughing and brushing metal and stone materials without the use of water.
A separate protective guard for cutting must be used when cutting with bonded abrasives.
Sufficient dust extraction must be provided when cutting stone.
With approved abrasive tools, the power tool can be used for sanding with sanding discs.
Product Features
The numbering of the product features refers to the diagram of the power tool on the graphics page.
| (1) Spindle lock button (2) On/off switch (3) Lock-off button for on/off switch (4) Combination wrench for grinding spindle M 10/M 14 (5) Auxiliary handle (insulated gripping surface) (6) Grinding spindle (7) Protective guard for grinding (8) Mounting flange (9) Grinding disc a) (10) Clamping nut | (11) Carbide grinding head a) (12) Protective guard for cutting a) (13) Cutting disc a) (14) Handguard a) (15) Rubber sanding pad a) (16) Abrasive disc a) (17) Round nut a) (18) Cup brush a) (19) Handle (insulated gripping surface) (20) Locking screw for protective guard |
a) Accessories shown or described are not included with the product as standard. You can find the complete selection of accessories in our accessories range.
Product Description and Specifications
Read all the safety and general instructions.
Failure to observe the safety and general instructions may result in electric shock, fire and/or serious injury.
Technical Data
| Angle grinder | GWS 9-100 P | GWS 9-115 P | GWS 9-125 P | |
| Article number | 3 601 C96 5.. | 3 601 C96 5.. | 3 601 C96 5.. | |
| Rated power input | W | 900 | 900 | 900 |
| Power output | W | 450 | 450 | 450 |
| Rated speed | min – 1 | 11.000 | 11.000 | 11.000 |
| Max. grinding disc diameter | mm | 100 | 115 | 125 |
| Grinding spindle thread | M 10 | M 14 | M 14 | |
| sMax. thread length of grinding spindle | • mm | 22 | 22 | 22 |
Angle grinder | GWS 9-100 P | GWS 9-115 P | GWS 9-125 P | |
Weight according to EPTA- procedure 01:2014 | ||||
– with low-vibration auxiliary handle | kg | 2.0 | 2.0 | 2.0 |
– with standard auxiliary handle | kg | 1.9 | 1.9 | 1.9 |
Protection class | /II | /II | /II | |
The specifications apply to a rated voltage [U] of 230 V. These specifications may vary at different voltages and in country-specific models.
Noise/Vibration Information
Noise emission values determined according to
EN 60745-2-3.
Typically the A-weighted noise level of the power tool are: 91 dB(A); the sound power level is 102 dB(A). Uncertainty K = 3 dB.
Wear hearing protection!
Vibration total values ah (triax vector sum) and uncertainty K determined according to EN 60745-2-3: Surface grinding (roughing): ah = 5.5 m/s 2 , K = 1.5 m/s 2 , Disc sanding: ah = 3.5 m/s 2 , K = 1.5 m/s 2 .
The vibration level given in these instructions has been measured in accordance with a standardized measuring procedure and may be used to compare power tools. It can also
be used for a preliminary estimation of exposure to vibration. The stated vibration level applies to the main applications of the power tool. However, if the power tool is used for different applications, with different application tools or poorly maintained, the vibration level may differ. This can significantly increase the exposure to vibration over the total working period.
To estimate the expo sure to vibration accurately, the times when the tool is switched off or when it is running but not actually being used should also be taken into account. This can significantly reduce the exposure to vibration over the total working period.
Implement additional safety measures to protect the operator from the effects of vibration, such as servicing the power tool and application tools, keeping the hands arm, and organizing workflows correctly.
Fitting
Fitting Protective Equipment
- Pull the plug out of the socket before carrying out any work on the power tool.
Note: If the grinding disc breaks during operation or the holding fixtures on the protective guard/power tool become damaged, the power tool must be sent to the after-sales service immediately; see the “After-Sales Service and Application Service” section for addresses.
A protective guard for grinding
Place the protective guard (7) on the spindle collar. Adjust the position of the protective guard (7) to meet the requirements of the operation. Lock the protective guard (7) by tightening the locking screw (20) using the combination wrench (4).
- Adjust the protective guard (7) such that spark in the direction of the operator is prevented.
Note: The coding cams on the protective guard (7) ensure that only a protective guard that is suitable for the power tool can be fitted.
A protective guard for cutting - Always use the protective guard for cutting (12) when cutting with bonded abrasives.
- Provide sufficient dust extraction when cutting stone.
The protective guard for cutting (12) is fitted in the same way as the protective guard for grinding (7). Side handle - Do not operate your power tool without the side handle (5).
Screw the side handle (5) on the left or right of the machine head depending on how your are working.
Low-vibration auxiliary handle
The low-vibration auxiliary handle reduces vibration, enabling the tool to be used safely and more comfortably.
- Do not make any alterations of any kind to the auxiliary handle.
Do not continue to use a damaged auxiliary handle.
Handguard - Always fit the hand guard (14) when working with the rubber sanding plate (15) or with the cup brush/disc brush/flap disc.
Attach the hand guard (14) to the side handle (5).
Fitting the Abrasive Tools
- Pull the plug out of the socket before carrying out any work on the power tool.
- Do not touch grinding and cutting discs until they have cooled down. The discs can become very hot while working.
Clean the grinding spindle (6) and all the parts to be fitted.
Lock the grinding spindle with the spindle lock button (1) before clamping and releasing the abrasive tools. - Do not press the spindle lock button while the grinding spindle is moving. The power tool may become damaged if you do this.
Grinding/cutting disc
Pay attention to the dimensions of the abrasive tools. The diameter of the hole must match that of the mounting flange. Do not use an adapter or reducer.
When using diamond cutting discs, ensure that the arrow indicating the direction of rotation on the diamond cutting disc matches the direction of rotation of the power tool (see the direction of rotation arrow on the machine head).
See the graphics page for assembling instructions.
To fasten the grinding/cutting disc, screw on the clamping nut
(10) and tighten with the combination wrench (4).
u After fitting the abrasive tool, check that the abrasive tool is fitted correctly and can turn freely before switching on the power tool. Make sure that the abrasive tool does not brush against the protective guard or other parts.Flap disc
u Always fit the hand guard (14) when working with the flap disc.
Rubber sanding pad
u Always fit the hand guard (14) when working with the rubber sanding pad (15). See the graphics page for fitting instructions.
Screw on the round nut (17) and tighten with the combination wrench (4). Cup brush/disc brush
u Always fit the hand guard (14) when working with the cup brush or disc brush.
See the graphics page for fitting instructions.
The cup brush/disc brush must be screwed onto the grinding spindle until it rests firmly against the grinding spindle flange at the end of the grinding spindle thread. Tighten the cup brush/disc brush with an open-ended spanner.
Approved abrasive tools
You can use all the abrasive tools mentioned in these operating instructions.
The permissible speed [min -1 ] or the circumferential speed [m/s] of the abrasive tools used must at least match the values given in the table.
It is therefore important to observe the permissible rotational/circumferential speed on the label of the abrasive tool.
| max | mm | mm | ![]() | ![]() | |
| D | b | d | [rpm] | [m/s] | |
![]() | 100 | 6 | 22 | 11,000 | 80 |
| 115 | 7 | 22 | 11,000 | 80 | |
| 125 | 7 | 22 | 11,000 | 80 | |
![]() | 100 | – | – | 11,000 | 80 |
| 115 | – | – | 11,000 | 80 | |
| 125 | – | – | 11,000 | 80 | |
![]() | 70 | 30 | m10 | 11,000 | 45 |
| 70 | 30 | m14 | 11,000 | 45 | |
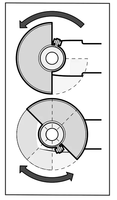
Rotating the machine head
- Pull the plug out of the socket before carrying out any work on the power tool.
The machine head can be rotated in 90° increments. In this way, the on/off switch can be brought into a more favorable handling position for particular applications, e.g. for
lefthanded tool users. Completely unscrew the four screws. Rotate the machine head carefully, without removing it from the housing, into the new position. Screw in and retighten the four screws.
Dust/Chip Extraction
The dust from materials such as lead paint, some types of wood, minerals and metal can be harmful to human health. Touching or breathing in this dust can trigger allergic reactions and/or cause respiratory illnesses in the user or in people in the near vicinity. Certain dusts, such as oak or beech dust, are classified as carcinogenic, especially in conjunction with wood treatment additives (chromate, wood preservative). Materials containing asbestos may only be machined by specialists.
– Use a dust extraction system that is suitable for the material wherever possible.
– Provide good ventilation at the workplace.
– It is advisable to wear a P2 filter class breathing mask.
The regulations on the material being machined that apply in the country of use must be observed.
Avoid dust accumulation at the workplace. Dust can easily ignite.
Operation
Start-Up
- Pay attention to the mains voltage. The voltage of the power source must match the voltage specified on the rating plate of the power tool. Power tools marked with 230 V can also be operated with 220 V. u Products that are only sold in AUS and NZ: Use a residual current device (RCD) with a nominal residual current of 30 mA or less.
When operating the power tool using a mobile generator that does not have sufficient reserve capacity or an adequate voltage control system with inrush current boost converter, loss of performance or atypical behavior may occur upon switch-on.
Please check the suitability of the power generator you are using, particularly with regard to the mains voltage and frequency. - Hold the tool by the insulated gripping surfaces and auxiliary handle only. The application tool could come into contact with hidden wiring or its own cord. Contact with live wires may make metal parts of the tool live, posing a risk of electric shock.
Switching on/off
To start the power tool, first slide the lock-off switch (3) backward, then press and hold the on/off switch (2).
To switch off the power tool, release the on/off switch (2). - Always check abrasive tools before using them. The abrasive tool must be fitted properly and be able to move freely. Carry out a test run for at least one minute with no load. Do not use abrasive tools that are damaged, run untrue or vibrate during use. Damaged abrasive tools can burst apart and cause injuries.
Working Advice - Pull the plug out of the socket before carrying out any work on the power tool.
- Exercise caution when cutting slots in structural walls; see the “Information on structural design” section.
- Clamp the workpiece if it is not secure under its own weight.
- Do not load the power tool so heavily that it comes to a stop.
- If the power tool has been subjected to a heavy load, continue to run it at no-load for several minutes to cool down the accessory.
- Do not use the power tool with a cut-off stand.
- Do not touch grinding and cutting discs until they have cooled down. The discs can become very hot while working.
Rough grinding - Never use cutting discs for rough grinding.
The best rough grinding results are achieved with a set angle of 30° to 40°. Move the power tool back and forth with moderate pressure. This will ensure that the workpiece does not become too hot or discolored and that grooves are not formed.
Flap Disc
With the flap disc (accessory), curved surfaces and profiles can be worked. Flap discs have a considerably higher service life, lower noise levels and lower sanding temperatures
than conventional sanding sheets.
Cutting Metal
- Always use the protective guard for cutting (12) when cutting with bonded abrasives.
When carrying out abrasive cutting, use a moderate feed that is suited to the material being machined. Do not exert pressure on the cutting disc and do not tilt or swing the
power tool. Do not attempt to reduce the speed of a cutting disc coming to a stop by applying pressure from the side.

The power tool must always work in an up-grinding motion. Otherwise, there is a risk that it will be pushed uncontrolled out of the cut.
For best results when cutting profiles and rectangular tubing, start at the smallest cross-section.
Cutting Stone
- Provide sufficient dust extraction when cutting stone.
- Wear a dust mask.
- The power tool may be used only for dry cutting/grind- ing.
For cutting stone, it is best to use a diamond cutting disc.
When cutting especially hard materials such as concrete with a high pebble content, the diamond cutting disc can overheat and become damaged as a result. This is clearly indicated by circular sparking, rotating with the diamond cutting disc.
If this happens, stop cutting and allow the diamond cutting disc to cool down by running the power tool for a short time at maximum speed with no load.
If work is noticeably slower and circular sparking is present, this indicates that the diamond cutting disc has become blunt. You can resharpen the disc by briefly cutting into abrasive material (e.g. lime-sand brick).
Information on structural design
Slots in load-bearing walls are subject to DIN 1053 part 1 or country-specific regulations. These regulations must be observed under all circumstances. Seek advice from the
responsible structural engineer, architect or construction supervisor before starting work.
Maintenance and Service
Maintenance and Cleaning
- Pull the plug out of the socket before carrying out any work on the power tool.
- To ensure safe and efficient operation, always keep the power tool and the ventilation slots clean.
- In extreme conditions, always use a dust extractor if possible. Blow out ventilation slots frequently and install a residual current device (RCD) upstream.
When machining metals, conductive dust can settle inside the power tool, which can affect its protective insulation.
Store and handle the accessories carefully.
In order to avoid safety hazards, if the power supply cord needs to be replaced, this must be done by Bosch or by an after-sales service center that is authorized to repair Bosch power tools.
After-Sales Service and Application Service
Our after-sales service responds to your questions concerning maintenance and repair of your product as well as spare
parts. You can find explosion drawings and information on
spare parts at: www.bosch-pt.com
The Bosch product use advice team will be happy to help you with any questions about our products and their accessories.
In all correspondence and spare parts orders, please always include the 10‑digit article number given on the nameplate of the product.
Great Britain
Robert Bosch Ltd. (B.S.C.)
P.O. Box 98
Broadwater Park
North Orbital Road
Denham Uxbridge
UB 9 5HJ
At www.bosch-pt.co.uk you can order spare parts or arrange the collection of a product in need of servicing or repair.
Tel. Service: (0344) 7360109
E-Mail: [email protected]
You can find further service addresses at: www.bosch-pt.com/serviceaddresses
Disposal
The power tool, accessories and packaging should be recycled in an environmentally friendly manner.
Do not dispose of power tools along with the household waste.
Only for EU countries:
According to the European Directive 2012/19/EU on Waste Electrical and Electronic Equipment and its implementation into national law, power tools that are no longer usable must be collected separately and disposed of in an environment- ally friendly manner.
![]() | ![]() |
| en EU Declaration of Conformity | We declare under our sole responsibility that the stated products comply with all applicable provisions of the directives and regulations listed below and are in conformity with the following standards. Technical file at: * | |
| Angle grinder | Article number |
| GWS 9-100 P GWS 9-115 P GWS 9-125 P | 3 601 C96 5.. 3 601 C96 5.. 3 601 C96 5.. | 2006/42/EC 2014/30/EU 2011/65/EUEN 60745-1:2009+A11:2010 EN 60745-2-3:2011+A2:2013+ A11:2014+A12:2014+A13:2015 EN 55014-1:2017+A11:2020 EN 55014-2:2015 EN IEC 61000-3-2:2019 EN 61000-3-3:2013+A1:2019 EN IEC 63000:2018 |
![]() | * Robert Bosch Power Tools GmbH (PT/ECS) 70538 Stuttgart GERMANY |
| Henk Becker | Helmut Heinzelmann |
| Chairman of | Head of Product Certification |
Executive Management![]() Robert Bosch Power Tools GmbH, 70538 Stuttgart, GERMANY Stuttgart, 16.11.2020 | |
Robert Bosch Power Tools GmbH
1 609 92A 5FP (2021.05)
70538 Stuttgart
GERMANY
www.bosch-pt.com
1 609 92A 5FP (2021.05) O / 264
1 609 92A 5FP
References
My Blog
Početna strana | Bosch u Srbiji
Skånevik Ølen Kraftlag AS
ЕлектроінÑтрументи Bosch | Bosch Professional
ÐлектроинÑтрументы Bosch | Bosch Professional
Bosch Power Tools | Bosch Power Tools
Select your country | Bosch Power Tools
Електроинструменти на Bosch | Електроинструменти на Bosch
Service worldwide
Bosch Elektrowerkzeuge und Zubehör | Bosch Elektrowerkzeuge
Bosch-sähkötyökalut | Bosch-sähkötyökalut
Outillage électroportatif Bosch | Outillage électroportatif Bosch
Bosch elektromos kéziszerszámok | Bosch elektromos kéziszerszámok
Elektronarzędzia Bosch | Elektronarzędzia Bosch
Scule electrice Bosch | Scule electrice Bosch
Bosch električni alati | Bosch električni alati
bosch-pt.ru
Elektrické náradie Bosch | Elektrické náradie Bosch
Invented for life | Bosch Global
Ana Sayfa | Bosch Türkiye
Početna | Bosch u Hrvatskoj
Domov | Bosch v Sloveniji
Loading...


/II
























