IKEA AA-2108960-5-2 UTSUND LED Lighting Chain with 12 LightsProduct Information

The UTSUND is a timer-controlled light switch that automatically switches off the light after 6 hours and switches it back on at the same time the next day. It is designed to be hung out of reach of young children to avoid strangulation hazards.
Product Usage Instructions
- Hang the UTSUND out of reach of young children to avoid strangulation hazards.
- Insert two AA batteries into the UTSUND.
- Set the timer by turning the dial to the current time.
- The light will turn on and remain on until the timer automatically switches it off after 6 hours.
- The light will turn back on at the same time the next day.
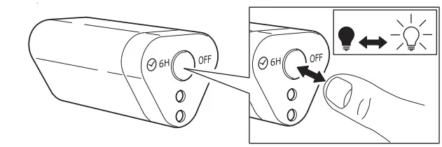
- To cancel the timer function, turn the dial to “OFF”.
NOTE: The UTSUND requires two AA batteries and has a battery life of approximately one year. When the batteries need to be replaced, the UTSUND will stop working. Replace the batteries as soon as possible to resume normal operation.
CAUTION! Strangulation hazard.
Hang out of reach of young children.

INSTALLATION INSTRUCTION



The timer switches the light off automatically after 6 hours, and switches it back on at the same time next day


















