LSCG307ST Gas Cooktop
Installation Guide
INSTALLATION MANUAL
GAS COOKTOP
LSCG307ST Gas Cooktop
Read this owner’s manual thoroughly before operating the appliance and keep it handy for reference at all times.
www.lg.com
Copyright © 2022 LG Electronics Inc.
All Rights Reserved.
Safety for a Gas Cooktop
WARNING: If the information in these instructions is not followed exactly, a fire or explosion may result causing property damage, personal injury or death.
- Do not store or use gasoline or other flammable vapors and liquids in the vicinity of this or any other appliance.
- WHAT TO DO IF YOU SMELL GAS
– Do not try to light any appliance.
– Do not touch any electrical switch.
– Do not use any phone in your building.
– Immediately call your gas supplier from a neighbor’s phone. Follow the gas supplier’s instructions.
– If you cannot reach your gas supplier, call the fire department. - Installation and service must be performed by a qualified installer, service agency, or the gas supplier.
WARNING: Never Operate the Top Surface Cooking Section of this Appliance Unattended.
- Failure to follow this warning statement could result in fire, explosion, or burn hazard that could cause property damage, personal injury, or death.
- If a fire should occur, keep away from the appliance and immediately call your fire department.
DO NOT ATTEMPT TO EXTINGUISH AN OIL/GREASE FIRE WITH WATER.
IMPORTANT SAFETY INSTRUCTIONS
READ ALL INSTRUCTIONS BEFORE USE
Download this owner’s manual at http://www.lg.com
Safety Messages
Your safety and the safety of others are very important.
We have provided many important safety messages in this manual and on your appliance. Always read and follow all safety messages.
This is the safety alert symbol.
This symbol alerts you to potential hazards that can kill or injure you and others. All safety messages will follow the safety alert symbol and either the word WARNING or CAUTION.
These words mean:
WARNING You may be killed or seriously injured if you do not follow instructions.
CAUTION You may be injured or cause damage to the product if you do not follow instructions.
All safety messages will tell you what the potential hazard is, tell you how to reduce the chance of injury, and tell you what may happen if the instructions are not followed.
WARNING
- To reduce the risk of explosion, fire, death, electric shock, injury or scalding to persons when using this product, follow basic precautions, including the following:
Installation
- Remove all tape and packing materials before using the cooktop. Dispose of all plastic bags after unpacking the cooktop. Never allow children to play with packing materials.
- Never reuse old flexible connectors. The use of old flexible connectors can cause gas leaks and personal injury. Always use NEW flexible connectors when installing a gas appliance.
- Remove all packing material and literature before connecting gas and electrical supply.
- Have your cooktop installed by a qualified installer.
- Your cooktop must be electrically grounded in accordance with local codes or, in the absence of local codes, in accordance with the National Electrical Code (ANSI/NFPA 70, latest edition). In Canada, electrical grounding must be in accordance with the current CSA C22.1 Canadian Electrical Code Part 1 and/or local codes. Refer to step 3, Electrical Connections, in this manual.
- Be sure the wall coverings around the cooktop can withstand heat generated by the cooktop up to 200 ℉.
- The ventilating hood must be constructed of sheet metal not less than 0.0122″ thick. Install above the cooktop with a clearance of not less than 1/4″ between the hood and the underside of the combustible material or metal cabinet. The hood must be at least as wide as the appliance and centered over the appliance. Clearance between the cooking surface and the ventilation hood surface MUST NEVER BE LESS THAN 24 INCHES. EXCEPTION: Installation of a listed microwave oven or cooking appliance over the cooktop shall conform to the installation instructions packed with that appliance.
- If cabinets are located above the cooktop, allow a minimum clearance of 30″ between the cooking surface and the bottom of unprotected cabinets.
- If a 30″ clearance between cooking surface and overhead combustible material or metal cabinets cannot be maintained, protect the underside of the cabinets above the cooktop with not less than 1/4″ insulating millboard covered with sheet metal not less than 0.0122″ thick. Clearance between the cooking surface and protected cabinets MUST NEVER BE LESS THAN 24 INCHES.
- The vertical distance from the plane of the cooking surface to the bottom of adjacent overhead cabinets extending closer than 1″ to the plane of the cooktop sides must not be less than 18″. (See the Dimensions and Clearances illustration in this manual.)
- Do not obstruct the combustion or ventilation air vents.
- Leak testing of the appliance must be conducted according to the manufacturer’s instructions.
- Items of interest to children should not be placed in cabinets above the cooktop.
– Children climbing on the cooktop to reach items could be seriously injured. - This appliance must not be installed with a ventilation system that blows air downward toward the cooktop. This type of ventilation system may cause ignition and combustion problems with the gas cooking appliance resulting in personal injury or unintended operation.
SAVE THESE INSTRUCTIONS
Before Installing
Before You Begin
Read these instructions completely and carefully. Improper installation, adjustment, alteration, service or maintenance can cause injury or property damage. For assistance or additional information, consult a qualified installer, service agency, manufacturer (dealer) or your gas supplier.
Installation of this cooktop must conform with local codes, or in the absence of local codes, with the National Fuel Gas Code, ANSI Z223.1/NFPA.54 or, in Canada, the Natural Gas and Propane Installation Code, CSA B149.1.
As with any appliance using gas and generating heat, there are certain safety precautions you should follow. You will find these precautions in the IMPORTANT SAFETY INSTRUCTIONS chapter.
Read them carefully.
IMPORTANT:
- Save these instructions for the local electrical inspector’s use.
- Observe all governing codes and ordinances.
NOTE
- Installer: Leave these instructions with the appliance after installation is completed.
- Consumer: Keep the owner’s manual and installation manual for future reference.
- This appliance must be properly grounded.
- The electrical diagram is in an envelope attached to the back of the cooktop.
- Skill level – Installation of this appliance requires basic mechanical skills.
- Proper installation is the responsibility of the installer.
- Product failure due to improper installation is not covered under the Warranty.
- Remove all tape and packaging.
- Make sure the burners are properly seated and level.
- Take the accessory pack off of the cooktop.
- Check to be sure that no cooktop parts have come loose during shipping.
In the Commonwealth of Massachusetts
- This product must be installed by a licensed plumber or gas fitter.
- When using ball type gas shut-off valves, they must be the T-handle type.
- A flexible gas connector, when used, must not exceed 3 feet in length.
Tools and Materials
Tools You Will Need
- Phillips Screwdriver
- Flat-blade Screwdriver
- Open-end or Adjustable Wrench
- Pencil and Ruler
- Pipe Wrench (2 ea) (one for support)
Materials You May Need
- Joint Sealant
- Pipe Fittings
- Shut Off Valve
- Flexible Connector
- Gas line shut-off valve
- To reduce the possibility of gas leaks, apply Teflon tape or a thread compound approved for use with LP or natural gases to all threaded connections.
- Flexible metal appliance connector (5/8” I.D.) A 3foot length is recommended for ease of installation but other lengths are acceptable.
Never use an old connector when installing a new cooktop. - Flare union adapter for connection to gas supply line (3/4” or 1/2” NPT x 5/8” I.D.)
- Flare union adapter for connection to pressure regulator on cooktop. (1/4” NPT x 1/2” I.D.)
- Liquid leak detector or soapy water
Dimensions and Clearances
Provide enough clearance between the cooktop and adjacent combustible surfaces. These dimensions must be met for safe use of your cooktop. The location of the electrical outlet and pipe opening may be adjusted to meet specific requirements.
The cooktop must be placed with at least 2 3/4” of clearance to the back wall.
- Make sure wall coverings, countertop and cabinets around cooktop can withstand the heat (up to 200 ℉) generated by the cooktop
- To ensure accuracy, it is best to make a template when cutting the opening in the counter

- Recommended gas supply location
- From cutout center line
- 1” min. from back wall
| – | Dimension/Clearance | 30″ Cooktop | 36″ Cooktop |
| A | Width of upper plate | 30″ | 36″ |
| B | Depth of upper plate | 21 11/16″ | |
| C | Height of cooktop base | 3 3/4″ | |
| D | Width of cooktop base | 28 1/4″ | 33 5/8″ |
| E | Depth of cooktop base | 19 3/8″ | |
| F | Width of cutout | 28 1/2″ | 33 15/16″ |
| G | Depth of cutout | 19 11/16″ | |
| H | Distance from cutout to side wall on the left of unit. / Distance from cutout to side wall on the right of the unit. | 11 13/16″ | |
| I | Distance from front edge of cutout to front edge of countertop | 5/8″ | |
| J | Distance between cutout and the wall behind the cooktop | 3/4″ | |
| K | Width of unprotected overhead cabinets | 30″ | 36″ |
| L | Depth of unprotected overhead cabinets | 3″ | |
| M | Clearance from countertop to unprotected overhead surface | 30″ | |
| N | Clearance from countertop to nearest cabinet on either side of unit | 8″ | |
Installing the Cooktop
Installing the Cooktop Unit
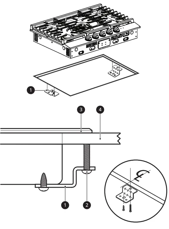
- Locate the electrical outlet and gas shut-off valve beneath the cabinet. Never reuse old flexible connectors. Install a manual shut-off valve 2 in the gas line in an easily accessible location outside the cooktop. Be sure you know how and where to shut off the gas supply to the cooktop. Install the electrical outlet 12˝ 1 a below the countertop.

- Carefully lower the cooktop into the countertop cutout, making sure not to trap any wires.

- Remove the retainer brackets from the literature package.

- Install the retainer brackets a to the bottom 1 of the cooktop unit 3. then snug the screws 2 against the bottom of the countertop 4 as shown.
NOTE
• The retainer brackets MUST be installed to meet local codes or, in their absence, the National Electrical Code ANSI/NFPA No. 70, latest edition.
1. Providing Adequate Gas Supply
This cooktop is designed to operate at a pressure of 5” of water column with natural gas or 10” of water column with LP, propane or butane gas.
Make sure you are supplying your cooktop with the type of gas for which it is designed.
This cooktop is convertible for use with natural or propane gas. When using this cooktop with LP gas, the conversion must be made by a qualified LP installer before attempting to operate the cooktop using that gas.
For correct operation, the pressure of natural gas supplied to the regulator should be between 5” and 13” of water column.
For LP gas, the pressure supplied must be between 10” and 13” of water column.
When checking for correct operation of the regulator, the inlet pressure must be at least 1” more than the operating (manifold) pressure as given above.
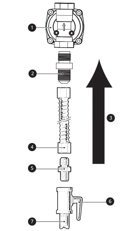
The pressure regulator located at the inlet of the cooktop manifold must remain in the supply line regardless of whether natural or LP gas is being used.
A flexible metal appliance connector used to connect the cooktop to the gas supply line must have an I.D. of 5/8” and must be a maximum of 3 feet in length for easy installation. In Canada, flexible connectors should be single wall metal connectors less than 6 feet in length.
2. Connecting the Cooktop to Gas
Shut off the main gas supply valve before removing the old cooktop and leave it off until the new hook-up has been completed. Don’t forget to relight the pilot on other gas appliances when you turn the gas back on. Because hard piping restricts movement of the cooktop, the use of a CSA International-certified flexible metal appliance connector is recommended unless local codes require a hardpiped connection.
Never reuse an old connector when installing a new cooktop. If the hard piping method is used, you must carefully align the pipe; the cooktop cannot be moved after the connection is made.
To prevent gas leaks, put pipe joint compound on all male (external) pipe threads.
- Install a manual gas line shut-off valve in the gas line in an easily accessed location outside of the cooktop. Be sure everyone operating the cooktop knows where and how to shut off the gas supply to the cooktop.
- Install a male 1/2” flare union adapter to the 1/2” NPT internal thread at the inlet of the pressure regulator. Use a backup wrench on the pressure regulator fitting to prevent damage.
- Install a male 1/2” or 3/4” flare union adapter to the NPT internal thread of the manual shut- off valve, taking care to back-up the shut-off valve to keep it from turning.
- Connect a flexible metal connector to the adapter on the cooktop. Position the cooktop to permit connection at the shut-off valve.
- When all connections have been made, be sure all cooktop controls are in the off position and turn on the main gas supply valve. Check for gas leaks using a manometer.
If a manometer is not available, turn the gas supply to the cooktop on and use a liquid leak detector at all joints and connections to check for leaks. Tighten all connections, if necessary, to prevent gas leakage in the cooktop or supply line.
WARNING
- DO NOT USE A FLAME TO CHECK FOR GAS LEAKS.
- The appliance and its individual shutoff valve must be disconnected from the gas supply piping system during any pressure testing of that system at test pressures in excess of 1/2 psi (3.5 kPa).
- The appliance must be isolated from the gas supply piping system by closing its individual manual shutoff valve during any pressure testing of the gas supply piping system at test pressures equal to or less than 1/2 psi (3.5 kPa).
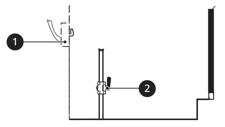
Flexible Connector Hookup
- Pressure Regulator
- Adapter
- Gas Flow into Range
- Flex Connector (3 ft. max. in US, 6 ft. max. in Canada)
- Adapter
- Gas Shut-off Valve
- 1/2” or 3/4” Gas Pipe
Electrical Connections
Electrical Requirements
This cooktop requires a 120 Volt, 60 Hertz, properly grounded dedicated circuit protected by a 15 A or 20 A circuit breaker or time-delay fuse. The appliance, when installed, must be electrically grounded in accordance with local codes or, in the absence of local codes, with the National Electrical Code, NFPA70 or the Canadian Electric Code, CSA C22.1-02.
Grounding
IMPORTANT: FOR PERSONAL SAFETY, THIS APPLIANCE MUST BE PROPERLY GROUNDED.
Preferred Method
Ensure proper ground exists before use.
The power cord of this appliance should be equipped with a three-prong (grounding) plug which mates with a standard three-prong grounding wall receptacle to reduce the possibility of electric shock hazard from this appliance.
The customer should have the wall receptacle and circuit checked by a qualified technician to be sure the receptacle is properly grounded.
When connecting this cooktop, it is the personal responsibility and obligation of the customer to have a standard two-prong wall receptacle replaced with a properly grounded three-prong wall receptacle.
DO NOT, UNDER ANY CIRCUMSTANCES, CUT OR REMOVE THE THIRD (GROUND) PRONG FROM THE POWER CORD.
A word about Ground Fault Circuit Interrupters – A Ground Fault Circuit Interrupter (GFCI) is not required or recommended for gas range receptacles.
GFCIs are devices that sense leakage of current in a circuit and automatically switch off power when a threshold leakage level is detected.
These devices must be manually reset by the customer.
The National Electrical Code requires the use of GFCIs in kitchen receptacles installed to serve countertop surfaces.
Performance of the cooktop will not be affected if it is operated from a circuit protected by a GFCI, but resetting the circuit can become a nuisance.
CAUTION
If needed, have the circuit checked by a qualified technician to make sure the receptacle is correctly grounded.
DO NOT use an adapter plug because disconnection of the power cord places undue strain on the adapter and causes eventual failure of the adapter ground terminal.
If only a two-prong wall receptacle is available, it must be replaced with a three-prong (grounding) receptacle by a qualified electrician before plugging in the cooktop.
The installation of appliances designed for manufactured (mobile) home installation must conform with the Manufactured Home
Construction and Safety Standard, Title 24 CFR, Part 3280 [formerly the Federal Standard for Mobile Home Construction and Safety, Title 24, HUD (Part 280)] or with local codes where applicable.
Sealing the Openings
Seal any openings in the wall behind the cooktop and in the floor of the cabinet when hookups are completed.
Assembling the Surface Burners
CAUTION
- DO NOT operate the burners without all parts in place.
Place the burner caps and heads on the cooktop.
Make sure that the caps and heads are placed in the correct locations.
- Medium Burner Head and Cap
- Extra Large Burner (Center) Head and Cap
- Small Burner Head and Cap
- Large Burner Head and Cap
Make sure the hole 1in the burner head is positioned over the electrode 2.
Checking Ignition of Surface Burners
Operation of all cooktop burners should be checked after the cooktop and gas supply lines have been carefully checked for leaks.
Electric Ignition
Select a top burner knob, push down and then turn counterclockwise to the LITE position. You can hear a clicking sound indicating proper operation of the spark module.
Once the air has been purged from the supply lines, burners should ignite within 4 seconds.
After the burner ignites, rotate the knob out of the LITE position. Try each burner in succession until all burners have been checked.
The combustion quality of the burner flames needs to be confirmed visually.
![]() | 1 Yellow flames — Call for service |
![]() | 2 Yellow tips on outer cones — Normal for LP gas |
![]() | 3 Soft blue flames — Normal for natural gas |
If burner flames look like a, call for service.1 or 2 is normal for burner flames, depending on the type of gas you use.
With LP gas, some yellow tipping on outer cones is normal.
Adjusting the Surface Burner Low
Flame (Simmer) Setting
- Light all surface burners.
- Turn the knob on the burner being adjusted to LO (LOW).
- Remove the knob.
- On center and right front knob rings only, remove the plastic cover a on the knob ring by turning it counterclockwise.

- For single-valve burners (left front, left rear, right rear), insert a small, flat-blade screwdriver into the valve stem.
For dual-valve burners (center, right front), insert a small, flat-blade screwdriver into the hole to the left of the valve stem.
1 Single Valve Adjustment Screw
2 Dual Valve Adjustment Screw - Turn the adjustment screw until the flame reaches the desired size.
- Replace the knob.
- Test the flame stability.
Test 1
•Turn the knob from HI to LOW quickly.
• lf the flame goes out, increase the flame size and test again.
Test 2
• With the burner on a LOW setting, open and close the oven or cabinet door quickly.
• If the flame is extinguished by the air currents created by the door movement, increase the flame height and test again. - Repeat steps 1 – 6 for each surface burner.
- After setting the low flame, turn off the burner.
APPENDIX Checking Operation
Final Check
When All Hookups are Complete
Make sure all controls are left in the off position.
Make sure the flow of combustion and ventilation air to the cooktop is unobstructed.
Converting to LP Gas (or Converting Back to Natural Gas from LP)
This cooktop leaves the factory set for use with natural gas. When converting to LP gas, the conversion must be performed by a qualified LP gas installer.
The conversion instructions and LP orifices are supplied with your cooktop.
Keep these instructions and the orifices in case you want to convert back to natural gas.
LG Customer Information Center
For inquiries or comments, visit www.lg.com or call:
1-800-243-0000………….. U.S.A.
1-888-542-2623 …….CANADA
Register your product Online! www.lg.com





















