teamson kids TD-12863R Paris Modern Play Kitchen Instruction Manual
WARNING! Not suitable for children under 3 years, as there is a choking hazard from swallowable small parts. should be carried out by an adult. Prior to assembly this package contains sharp edges and sharp points. Keep away from children until assembled. Please remove all packaging attachments before giving this item to your child. Please keep this information for possible future correspondence.
Safety Instructions



Got questions? Please have your product code (on the first page of this instruction, e.g. TD-12345A) and the order number ready, give us a call or email us through our customer care support! We are always ready to assist you!
Exploded Drawing

Product Parts




Accessories

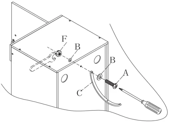
Hardware

Assembly And Installation Instructions





















WALL MOUNTING ASSEMBLY
For added safety and stability, it is recommended that the wall mounting hardware be installed.
For safe mounting, it is essential to use wall anchors appropriate to your wall type (i.e. plaster, drywall, concrete, etc.). Mount to wood studs whenever possible.
Use a 1/4″(6.5mm) drill bit to pilot the hole. If mounting to plaster, wood panels, brick or other drywall please consult a qualified professional.
Please make sure you use the right hardware for your wall type for your safety.
WARNING:
Do not install on a wall where items can fall off and injure a child.
WARNING:
CHOKING HAZARD, Unassembled parts may be choking hazard to children 3 years and younger.
CAUTION:
Adult assembly required.
Hardware contains small screws with sharp points.
Keep unassembled parts out of reach of small children.
Hardware

- Step 1 Attach Plastic strip to back of product. Hole predrilled in product backboard # G

- Step 2 Use 1/4″ (6.5mm) drill 1/4″(6.5 ) bit to drill hole in wall
Do not drill an oversized hole or the wall anchor will not hold tightly into the wall.
Tap wall anchor into hole.
Secure product to wall with screw “E” through Plastic strap and into wall anchor.
Warning:
- Serious or fatal injuries can occur from furniture tip-over. To help prevent furniture tip-over:
- Use provided mounting hardware to secure furniture to the wall.
- This may reduce but not eliminate the risk of furniture tip-over.
- Do not allow children to climb on furniture.
- Keep remote controls, toys, and other items that might attract children off of this product.
- Unless specifically designed to accommodate, do not set televisions or other heavy objects on top of this product.
www.teamsonkids.com
We feeling the joy of serving you best!
USA
+1(800)935-3959
Mon – Fri 10:00am ~ 2:00pm EST
[email protected]
EU/UK
+44(0)1952-916-050
Mon – Thu 9:00am ~ 5:00pm GMT
Friday 9:00am ~ 4:00pm GMT
[email protected]
+86(0755)8885-3558.分机号108
Mon – Sat 9:00am ~ 5:00pm GMT+8
[email protected]
ASIA
+886(2)2556-6268
Mon – Fri 9:00am ~ 5:00pm GMT+8
[email protected]
Thank you for choosing Teamson Kids





















