FLIGHTCOM FL51PC.v2 Wireless DECT7 Base Station

Overview
Flightcom Wireless Base Stations support the RF connections of Flightcom wireless communication systems. The Base Station supports full duplex, conference call-like digital communication for up to five Flightcom DECT7 Wireless Headsets. Radio PTT-capable Headsets can be set up to transmit on a mobile radio via a Flightcom Digital Intercom. For installations that need a greater number of users, such as education or tour groups, Broadcast mode supports up to 100 users. Broadcast users share connections to take turns talking with the group.
Flightcom DECT7 wireless, operating on the 1.9GHz band provides secure, interference-free, full-duplex communication. Wireless Headsets have a wideband connection of up to 7kHz. This gives a line-of-sight range of up to 1,600 feet. With internal and external antennas, the Wireless Base Station configures itself for the best reception. Multiple Wireless Base Stations and Intercoms can be combined to support up to 60 users in a single audio network. USB programming allows complete customization.
Accessories not included
- Magnet Mount Remote Antenna
- Permanent Antenna
- Auxiliary Input Radio Interface – Connect to virtually any radio and many other devices
- Worldwide Power Adaptor
Features
USB Programmable
Using its USB port, a Base Station can be configured using a Windows PC. Features may be customized and saved. Refer to the Flightcom Headset Software for details.
Wireless DECT7 Communications
The Base Station features wireless DECT7, enabling conference call-like full duplex communication. The Flightcom Wireless DECT7 Base Station will connect with Flightcom Wireless Headsets and Belt Packs. DECT7 networks have up to 1600ft line-of-sight range in Region 1 (US) and up to 800 meters in Region 2 (EU). DECT7 ensures interference-free, digitally encrypted communications for all parties.
Backward Compatibility
The Flightcom Wireless Base Station is backward compatible with the Flightcom first-generation wireless DECT and DECT6 bases, with minimal loss in functionality.
Wide Band Audio
The Wireless DECT7 communications are transmitted in a high definition wide band audio format. This gives greater clarity of voice, and allows for integration with voice-activated control systems. It can be switched to narrow-band audio when necessary.
Dual Antenna Design
The Base Station has internal and external antennas for diversity switching to lock onto the best signal. This allows the installer to place the Wireless Base Station and antenna in different locations for system optimization in custom installations.
Multi-Channel System
The Wireless Base Station can be configured for multiple channels. These can be remotely selected by paired Wireless Headsets.
Broadcast Mode
The Headset may be paired into a listen-only mode of operation, reducing power consumption considerably. This also allows many more headsets to be connected to a Wireless Base Station simultaneously. Pressing the Radio PTT button allows the headset to momentarily talk on any available slot. A tone will let the user know when they can talk. After talking, there will be a slight delay when other users cannot be heard.
Mounting
The Wireless Base Station is designed to mount on a variety of surfaces. The unit includes internal and external antennas. Consideration must be given to antenna location optimization performance.
WARNING:
Do not locate the Wireless Base Station within 4” of any metal.
If the Wireless Base Station must be located in a non-optimal location, use an external accessory remote antenna.
Option 1: Window Glue Mount

- Remove the duck antenna.
- Clean the location where the wireless base will be installed.
- Remove the protective backing from the 3M double-sided tape on the bottom of the wireless base.
- Press firmly to the window.
Option 2: Fixed-mount with Feet
- Remove one of the screws on the bottom of the Base Station.
- Place a mounting foot, and attach it using a replacement screw.
- Repeat for the other three screws.
- Mount the Wireless Base Station using the mounting feet.

- Position the antenna and use the antenna mount to secure it. Alternatively, use a remote antenna.
Option 3: Desk
- Place on Desk.
- Orient the external duck antenna vertically or use a remote antenna.
Antennas
An external antenna can provide a performance increase in some locations and affords greater installation flexibility.
To optimize performance:
- Position the antenna at least 12 inches from any other antenna, metal, electrical power, radio equipment, or obstructions.
- Choose a location in the center of the vehicle’s roof (if mounting outside).
WARNING:
For FCC and other Radio Frequency regulatory compliance, use only Flightcom-approved wireless antennas.
Duck Antenna
Always position the Duck antenna at 90 degrees from the internal antenna. The internal antenna is shown below.
The duck antenna needs to be supported when used in a vehicle or any environment where the Wireless Base Station may be subjected to vibration. 
Accessory Antennas
Flightcom has accessory antennas for temporary and permanent installation on the exterior of a vehicle or building. To ensure the best system performance, external antennas must not be mounted inside metal enclosures.
Magnet Mount Antenna
This antenna is designed for non-permanent installations on metallic surfaces.
- Temporarily mark the center of the vehicle’s roof or trunk. Centering the antenna on a flat metal area will improve the ground plane and increase range.
- Clean the marked area with rubbing alcohol or another non-corrosive cleaner to prepare the surface. Let it dry completely.
- Cut a round piece of felt the same size as the bottom of the magnet mount and place it on your center mark. Set the magnetic antenna on top of the felt to protect to the vehicle’s paint from scratches. The use of a felt patch will slightly reduce the strength of the magnet. Make sure the coaxial cable is pointed toward where it will enter the vehicle.
- Open the hood or the trunk. Route the cable through a body panel gap to get to the base station location.
- Connect the cable to the antenna connector on your Wireless Base Station. Do not over-tighten the antenna! Finger tight plus 1/8th a turn is sufficient.
Permanent Mount Antenna
This antenna is designed for permanent installation. Have a qualified radio installer perform the installation.
Power
The Wireless Base Station can be powered from the DC Jack or directly from a Digital intercom. The unit will automatically power on when power is applied.
WARNING:
Use only one power option to prevent ground loops.
Option 1: DC Jack Power

Wall Adapter Charging
Only charge the base station using the supplied 12VDC regulated wall adapter.
WARNING: Use only approved wall adaptors.
Vehicle Charging

Connect the BLACK wire with WHITE dashes to +12V and the BLACK wire to the chassis ground. Install the fuse no further than 18″ from the battery.
- WARNING: Only replace the fuse with the same type, 0.5A AGU.
- WARNING: Voltages exceeding the Base Station charging specification will damage the Base Station.
Option 2: Digital Intercom Power

- Connect one RJ-45 modular plug as shown above. Both the Power and Ground will be connected from the Digital Intercom to the Wireless Base Station. Any input will power the Wireless Base Station.
- Adjust the fuse of the Digital Intercom to include the current draw from the Wireless Base Station.
- Additional connections to the Digital Intercom using a 6-pin wire, and RJ-12 connectors.
Modular Plug Installation

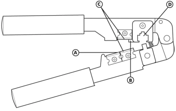
- Using the cutter blade on the crimping tool (A), cut the flat CA Cable so the cut is clean and 90 degrees to the sides of the cable.
- Insert one end of the CA Cable between the stripping blades (C) until the end of the cable hits the stop (B).
- Squeeze the handles of the crimping tool together until the tool bottoms out.
- While holding the handles together, pull the cable out of the tool.
- The stripped insulation should expose approximately 3/16” of wire.

- Push an RJ Modular Plug into the plug holder on the crimping tool (D) until the release tab on the plug locks into position.
- Holding the cable so that the printed side (or smooth side) of the cable is toward the release tab on the plug, push the cable into the plug as far as it will go.
ALWAYS make sure the printed side (or smooth side) of the cable is facing the release tab on the RJ Modular Plug.
- Squeeze the tool handles COMPLETELY together. You may feel the crimper finish punching the contacts through the insulation on the wires.
- Let the handles spring open.
- Push down on the release tab on the RJ Modular Plug and remove the RJ Modular Plug from the crimping tool.
- Inspect the plug to ensure that the cable is held securely in place.
LED Indicators
Top

Power Indicator
Lights when unit has power and is turned on.
Link Indicators
There is one light per wireless position. These indicate the connection status of the wireless devices paired onto the Wireless Base.
- Off – No wireless device is paired to this position
- Slow Flashing – Pairing Mode Active
- Fast Flash – Device paired, no connection.
- Solid Light – Device paired and connected

Front

Radio Transmit (Red LEDs)
Indicates the radio transmit activity for each output.
Mode/Channel Indicators (Green LEDs)
These are used to set up the Base Station for ComHub or Intercom functionality.
Use with a Digital Intercom
(FL400 Series Digital Intercoms)
The Wireless Base Station is designed to integrate into a Flightcom Intercom system. This lets the user operate two-way radios with a Wireless Headset. When used in Intercom mode, the Base Station must be connected to a Flightcom Intercom for Headsets to communicate with one another. Only one channel is available in Digital Intercom Mode.
Setting up Digital Intercom Mode (default setting)
- Unplug the Base Station, then plug it back in while holding the Pairing buttons for positions 1 and 2 until the green channel indicator LEDs for positions 1 and 2 light up (about 5 seconds).
- The Base Station is now in Digital Intercom mode.
- Unplug the Base Station, then plug it back in. The Base Station is now ready to use.
Digital Intercom Radio Transmit
Some models of Wireless Headsets have radio transmission capability built in. Headsets can receive and transmit via the built-in PTT button. The Wireless Base Station must be connected to a Flightcom intercom that is connected to a two-way radio. Consult your Intercom manual for instructions on how to connect them.
- Make sure your Headset is a radio transmit model and that it is configured to transmit radio over DECT. Consult your Headset manual for instructions.
- Pair the Headset to the desired position on the Base Station.
- Connect the port for that position to a Flightcom Intercom using a flat cable.
- Repeat for other positions needing Radio to transmit capability.
- Test and verify each position. The Red LED next to the connected port on your base station will light when the Headset is radio transmitting.
Intercom Only
For Intercom only functionality, the Wireless Base can be connected to the Flightcom Intercom using the intercom port. All Headsets will communicate over the intercom using only position 6. No radio push-to-talk function will be available.
- Pair the Headset to the desired position on the Base Station.
- If radio transmits capability is needed for a headset, follow the instructions above under “Digital Intercom Radio Transmit”.
Base Station connected to a Flightcom Digital Intercom 
Examples:
Stand Alone, No Radio Interface
All positions communicate locally via the Base Station only. With no connection to a Digital Intercom, the Headsets will only be able to communicate with other Headsets connected to the Wireless Base Station.
Intercom Only Connected to Digital Intercom
All positions communicate over the Intercom only. No radio transmission is available.
Mixed mode, Radio PTT with Intercom only Connected to Digital Intercom
Positions 1 & 2 have radio transmission capability. All positions have intercom communications through the intercom port. Positions 3, 4, and 5 do not have radio transmission capability (any position connected via its own cable will have radio transmission capability).
Use in a ComHub
In addition to being used in an installed system, your Base Station can be used in a portable ComHub. Up to 5 channels are available through the Wireless Base Station when used in this configuration.
Setting up ComHub mode, and the number of channels
To enter configuration mode:
- Unplug the Base Station, then plug it back in while holding the position 3 pairing button.
- Hold the pairing button until the green channel indicator LED turns on (see “Mode/Channel Indicators” on page 10).
- The Base Station is now in ComHub mode.
- To set the number of available channels, press the pair button corresponding to the number of channels desired (button 2 = 2 channels, etc). The current number of channels is shown with a green LED on the associated Mode/Channel Indicator (e.g. Port 5 = 5 channels).

- To exit configuration mode, unplug your base station from power, then plug it back in. The Base Station is now ready to use.p cdb
Pairing
Pairing creates a connection between the Wireless Base Station and the Headset. This is only required once. After pairing, Headsets will connect automatically.
Full-Duplex Pairing

- Press and hold the desired pairing button until its link indicator begins to flash slowly. Any previous pairing will be forgotten.
- Place the Flightcom Headset into pairing mode by pressing the right PTT button and the power button until you hear “base station registering”.
- The Base Station will automatically connect, showing a solid link led.
- If the pairing was unsuccessful, repeat all steps above.
Broadcast Only Pairing
Broadcast Only allows up to 100 devices to be paired. One active full duplex pairing must exist for the Broadcast channel to be opened. Broadcast users never have Radio Transmit capability.
Example:
Position 1 has a Full Duplex Headset pairing. Positions 2-4 are available for devices to share. Position 5 broadcasts back to the group.
- Press and hold Buttons 4 & 5 until the 4 & 5 link LEDs begin to flash slowly.
- Place the wireless device you wish to link into pairing mode.
- The wireless base will automatically connect showing a solid link LED on position 5 and the device will show connected (refer to the Flightcom device manual).
- If the pairing was unsuccessful, repeat steps 1-3.
- To pair additional devices, repeat steps 1-4.
Because Broadcast Only Headsets share communication positions, there can be slight delays in communication. To talk, the Push-To-Talk button must be held until a position opens. After a Broadcast call is made, there will be a pause in which incoming communications cannot be heard.
To exit Broadcast Only mode:
Press and hold 4 or 5 until the link LED flashes slowly indicating pairing mode.
Troubleshooting
Note:
If you are experiencing symptoms not covered here, or are having difficulty troubleshooting, call us or visit our website. We’re here to help.
Service Contact:
800-432-4342
[email protected]
No indication of power to the base station
- Make sure that the Wireless Base Station has an appropriate power connection, and that it is fully plugged in.
No audio communication and/or PTT from or to the base.
- Make sure the Wireless Headset(s) are on, connected, and using the same channel.
- Ensure that the modular communication cable is connected between the Wireless Base Station and Intercom.
- Check the modular communication cable between the Wireless Base Station and Intercom for continuity.
- Ensure the correct polarity of the modular plug on both ends of the modular cable.
Poor quality audio, low or distorted audio.
- Check the intercom volume. Set the volume level as high as possible without causing Headset distortion, then adjust the Headset volume.
- Poor audio quality can also be caused by a defective Headset. Check operation with a known, properly functioning Headset.
- Ensure the correct Wireless Base Station model for your Intercom is used.
Audible interference from portable and mobile radios.
- Care should be taken to install cables away from radio and antenna cabling to prevent RF interference.
Poor coverage range.
- Check the Wireless Base Station and external antenna locations. They should not be installed inside metal enclosures or closer than 4 inches to a metal object or surface.
- The poor range can also be caused by a defective Headset. Check operation with a known, properly functioning Headset.
- If the problem persists, contact Flightcom Service for additional help.
Specifications
FL51C.v2 / FL51PC.v2 Specifications
Physical
- Length: 5.70in / 145mm
- Width: 2.72in / 69mm (not including external antenna)
- Height: 1.22in / 31mm
- Weight: 5.6oz / 158g
Power
- Voltage Input: 5 VDC to 16 VDC
- Maximum Current Input: 400mA @ 5V, 150mA @ 12V
Environmental
- IP-Rating: IP-20
- Operating temperature: -40°F to 176°F / -40°C to 70°C
- Storage temperature: -40°F to 185°F / -40°C to 85°C
FCC
- FCC ID: V9N950344001V1
- FCC Part 15: All Models
Industry Canada
- IC UPN: 7895A-950344001
MIL-SPEC
- Humidity: MIL-STD 810F and 810G
- Temperature Shock: MIL-STD 810F and 810G
SAE/NFPA 1901
- Vibration: J1455 Sec. 4.9
- Conducted Immunity: J1113-11
- Electrostatic Discharge: J1113-13
- Radiated Emissions: CISPR 25
- Radiated Immunity: ISO 11452-2
ISO
- Conducted Transients: 7637-2
- Quality Management System Control: ISO 9001:2008
DECT Specifications
Common DECT Specifications
- Carrier Spacing: 1.724 MHz
- Time Slots: 2 x 12 (up and downstream)
- Channel Allocation: Dynamic
- Encryption: DECT Standard Cipher with the 35-bit initialization vector
- Audio Bandwidth: 300 Hz to 3.4 kHz, Narrow Band, G.726 compression 50 Hz to 7 kHz, Wide Band, G.722 compression
Region 1 Specific Specification
- Authorized for use in: Canada, USA
- Frequency Bandwidth: 1921.536 MHz to 1928.448 MHz
- Number of Carriers: 5
- Total Time Slots: 60 in G.726(narrow band)/30 in G.722(wide band)
- Average Output Power: 4 mW
- Maximum Output Power: 100 mW
- Range (line of sight): 1600 feet maximum
Flightcom Standard Limited Warranty
Flightcom Corporation (“Flightcom”) warrants to the original purchaser of its products that products will be free from defects in materials and workmanship under normal and proper use for the period of one (1) year from the date of purchase.
Flightcom Corporation will repair or replace, at its option, any products showing factory defects during this warranty period, subject to the following provisions and obligations:
- This warranty applies only to a new product sold through authorized channels of distribution.
- All work under warranty must be performed by Flightcom Corporation or Flightcom Authorized Service Center.
- All returned products must be shipped to our address, freight prepaid and Flightcom will return products to customers via ground freight. Any expedited fees or additional freight charges will be charged to the customer.
- Any attempt to repair, service, or alter the product in any way voids this warranty.
- This warranty does not apply in the event of an accident, abuse, misuse, liquid contact, improper installation, unauthorized repair, tampering, modification, fire, earthquake, or damage from other external sources – including damage caused by user-replaceable parts.
- This warranty does not apply: (a) to consumable parts such as batteries, ear seals, intercom bags, cables, external power supplies, parts listed as accessories to a system, or other parts designed to diminish in function over time unless a failure is due to a defect in materials or workmanship; (b) to cosmetic damage or to defects caused by normal wear and tear or aging of the product; (c) to damage caused by use with non-Flightcom products; (d) to damage caused by operating the product outside the permitted or intended uses or environments described by Flightcom; (e) to damage caused by service performed by anyone who is not a representative of Flightcom or a Flightcom Authorized Service Provider; (f) to a product or part that has been modified without the written permission of Flightcom; (g) if any Flightcom serial number has been removed or defaced.
- This warranty does not extend to any other equipment, apparatus, vehicle, aircraft, or watercraft to which this product may be attached or connected.
THE FOREGOING IS YOUR SOLE REMEDY FOR FAILURE IN SERVICE OR DEFECTS. FLIGHTCOM CORPORATION SHALL NOT BE LIABLE UNDER THIS OR ANY IMPLIED WARRANTY FOR INCIDENTAL OR CONSEQUENTIAL DAMAGES NOR FOR ANY INSTALLATION OR REMOVAL COSTS OR OTHER SERVICE FEES. THIS WARRANTY IS IN LIEU OF ALL OTHER WARRANTIES, EXPRESS OR IMPLIED, INCLUDING THE WARRANTY OF MERCHANTABILITY OR FITNESS OF USE, WHICH ARE HEREBY EXCLUDED. TO THE EXTENT THAT THIS EXCLUSION IS NOT LEGALLY ENFORCEABLE, THE DURATION OF SUCH IMPLIED WARRANTIES SHALL BE LIMITED TO ONE YEAR FROM THE DATE OF PURCHASE. NO SUIT FOR BREACH OF EXPRESS OR IMPLIED WARRANTY MAY BE BROUGHT AFTER ONE (1) YEAR FROM THE DATE OF PURCHASE.
Subject to the terms and limitations of this Flightcom Standard Limited Warranty, this warranty covers any new covered product found to be defective within the applicable warranty period. Flightcom reserves the right to examine the alleged defective covered product to determine whether this Flightcom Standard Limited Warranty is applicable, and the final determination of warranty coverage lies solely with Flightcom. If Flightcom determines that warranty coverage applies, Flightcom reserves the right to either repair or replace a covered product or any part thereof, as determined by Flightcom in its sole discretion. If the product has been subjected to conditions that exclude coverage under the warranty, the customer will be so advised. The customer may then authorize paid repair service or other disposition of the product. Notwithstanding any other provision of this warranty, if you sell or otherwise transfer ownership of your covered product, this Flightcom Standard Limited Warranty shall automatically terminate.
Scan the code to view regulatory information or visit flightcom.net/fcc.
FLIGHTCOM CORPORATION
Copyright ©2023 Flightcom Corporation. All rights reserved.
The information in this document is subject to change without notice.
600-0586-00 Rev B.

























