OMP Cantilever Tv Wall Mount Universal 3 2 Or 1 Arm Dual Lock

CAUTION! DO NOT EXCEED RECOMMENDED TV SCREEN SIZE OR WEIGHT. SERIOUS INJURY OR TV DAMAGE MAY OCCUR.
WARNING!
- Do not begin the installation until you have read and understood all the instructions and warnings contained in this installation sheet. If you have any questions regarding any of the instructions or warnings, please contact your local distributor.
- This mounting bracket was designed to be installed and utilised ONLY as specified in this manual. Improper installation of this product may cause damage or serious injury.
- This product should only be installed by someone with good mechanical ability who fully understands this manual.
- Prior to installation ensure your desired installation location is fit for purpose.
- We recommend installation to an internal panel. External walls may not offer the necessary strength and may be used to route plumbing and cables. If in doubt please consult vehicle manufacturer.
- This product is intended for indoor use only. Using this product outdoors could lead to product failure and personal injury.
- Installers are responsible to provide hardware for other types of mounting situations.
- Installers must verify that the supporting surface will safely support the combined weight of the equipment and all attached hardware and components.
- OMP declines all responsibility in the event of incident or accident if they are due to non-observation of the installation instructions or installation error.
COMPONENT CHECKLIST
Important: Ensure that you have received all parts according to the component checklist prior to installation. If any parts are missing or faulty contact your local OMP distributor for a replacement

WARNING !
- Prior to installation ensure your desired installation location is fit for purpose.
- We recommend installation to an internal panel. External walls may not offer the necessary strength and may be used to route plumbing and cables. If in doubt please consult vehicle manufacturer.
- Installers are responsible to provide hardware for other types of mounting situations.
- Installers must verify that the supporting surface will safely support the combined weight of the equipment and all attached hardware and components.
NOTE – BEFORE INSTALLATION YOU WILL NEED TO DECIDE HOW MANY ARM/S YOU WILL NEED IN YOUR APPLICATION, 3, 2, OR 1?. THIS WILL DETERMINE HOW MUCH SPACE YOU WILL NEED FOR THE FUNCTION OF THE BRACKET.
WOODEN PANEL MOUNTING
Fixings are provided for wooden panel mounting only, as illustrated below. It may be necessary to source additional fixings to mount the wall bracket using an alternative mounting arrangement as deemed appropriate by the installer. It is the installers responsibility to ensure the fixings are suitable for the medium the bracket is being fixed to.

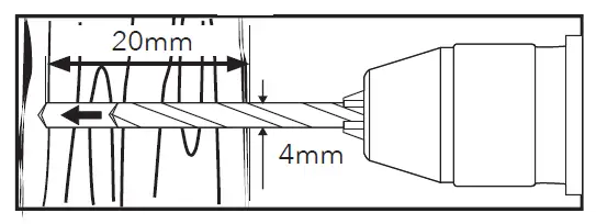
1. Find and mark the exact location of mounting holes making sure the bracket is level.
REMOVING OR ADDING ARM/S
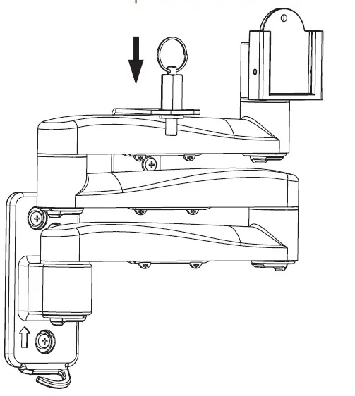
FITTING VESA PLATE BRACKET AND ARM ASSEMBLY INTO WALL BRACKET
Note: 3 Arm option shown as an example.
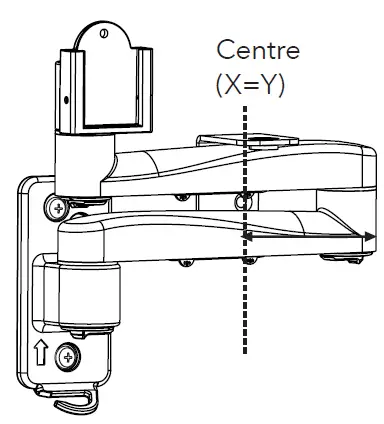
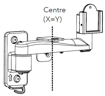
Note: Before installing the lock assembly please take note of the position.
X = Y reference
Note – Position the Lock Plate close to the arm to ensure the lock pin has maximum engagement to hold arm.
INSTALLING THE LOCK ASSEMBLY – FOR 3 ARMS
- Remove the plug.

- Fold the arms to make the arms parallel with the wall.

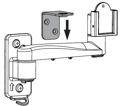
- Position the Lock Plate making sure its central. (See above).4. Unfold the arms and use the Lock Plate to mark the two mounting holes.

- Unfold the arms and use the Lock Plate to mark the two mounting holes.

- Fix the Lock Plate to the wall using the W-A screws.
- Replace the Spring Lock.
INSTALLING THE LOCK ASSEMBLY – FOR 2 ARMS
- Remove the plug.

- Fold the arms to make the arms parallel with the wall

- Position the Lock Plate making sure its central. (See opposite page above).

- Unfold the arms and use the Lock Plate to mark the two mounting holes

- Fix the Lock Plate to the wall using the W-A screws.
- Replace the Spring Lock.
INSTALLING THE LOCK ASSEMBLY – FOR 1 ARM
- Remove the plug.

- Fold the arm to make the arm parallel with the wall.

- Position the Lock Plate making sure its central. (See opposite page above).

- Unfold the arms and use the Lock Plate to mark the two mounting holes.

- Fix the Lock Plate to the wall using the W-A screws.
- Replace the Spring Lock
USING THE ASSEMBLY LOCK
Note: 3 arm option shown as an example.
1. Pull to release
To release – Use the spring lock to release the arm/s and postition your TV Bracket
2. Replace to lock.
2. To lock – Fold the arms and engage the spring lock to avoid the arms moving whilst driving
ASSEMBLING THE VESA ADAPTORS
VESA 200 x 200

VESA 200 x 100

INSTALLING THE VESA PLATE
VESA 75 x 75 to 100 x 100



VESA 200 x 100


MOUNTING THE TV ONTO THE WALL PLATE

For safety please lock the TV by screwing the small screws x 2 either side of the TV mount bracket.
CABLE MANAGEMENT
Connect the cables to your TV and route through the cable clips along the arms.
Note: Leave slack in the cables for the arm movement.
ADJUSTMENT
Common Lane, Setchey,
Kings Lynn, Norfolk, PE33 0AT, England.
T: +44 (0) 1553 813300
E: [email protected]
W: www.ompglobal.co.uk




































