AGM WOLVERINE 4 Night Vision Weapon Sight User Manual
EXPORT INFORMATION
Buyer acknowledges that all products supplied by AGM Global Vision, LLC are subject to U.S. export control laws, including, but not limited to, the Export Administration Regulations, the International Economic Emergency Powers Act, and various U.S. embargoes and sanctions. AGM Global Vision products may not be exported, reexported, or transferred contrary to U.S. export control laws. In particular, AGM Global Vision products may not be exported, re-exported, or transferred to prohibited countries, individuals, organizations, or entities, including but not limited to those individuals and entities listed on the List of Specially Designated Nationals and Blocked Persons administered or maintained by the U.S. Office of Foreign Assets Control (“OFAC”), the various lists maintained by the Bureau of Industry and Security of the Department of Commerce, and the U.S. State Department and Buyer represents and warrants that neither Buyer nor any of its officers, directors, or employees are on such lists. Distribution or resale by Buyer to such countries, individuals, organizations, or entities is expressly prohibited. Buyer has and will maintain a positive process to ensure compliance with this Section.
SAFETY SUMMARY
- Read and follow all instructions
- Read all warnings
- Only use the attachments/accessories specified by the manufacturer
- All service must be provided by the manufacturer.
WARNING:
Always make sure your firearm is unloaded before you place the scope on the firearm. Verify that the chamber is empty, particularly if you stop the procedure and resume at a later time. Safe handling rules should be followed at all times.
WARNING:
If a scope is mounted too far to the rear of a weapon, the eyepiece can injure the shooter’s brow. Shooting at an uphill angle also increases this risk, because it shortens the distance between the brow and the rear of the scope. When mounting your scope, we recommend positioning it as far forward in the mounts as possible. With hard-recoiling rifles, serious injury or even death can result from eyepiece impact when discharging the firearm.
BEFORE SHOOTING THE FIREARM, verify that your installation provides sufficient space between the eyepiece and the scope to account for the recoil generated by your rifle.
NOTE: Give special attention to this warning when shooting uphill and/or from a prone position. These shooting conditions can dramatically reduce space allotted for recoil between your eyes and the weapon. PLEASE maintain maximum distance when shooting magnum firearms or firearms with heavy recoil. THE USER ASSUMES ALL RESPONSIBILITY AND LIABILITY FOR HAVING THE RIFLESCOPE PROPERLY MOUNTED TO A FIREARM AND USING THE RIFLESCOPE PROPERLY. ALWAYS CHECK THE CONDITION OF YOUR MOUNTING SYSTEM PRIOR TO USING YOUR FIREARM.
WARNING:
This product contains natural rubber latex which may cause allergic reactions! The FDA has reported an increase in the number of deaths that are associated with an apparent sensitivity to natural latex proteins. If you are allergic to latex, it is a good idea to learn which products contain it and strictly avoid exposure to those products.
WARNING
The light from the infrared illuminator is invisible to the unaided eye. However, the light can be detected by other night vision devices.
CAUTION
- DO NOT dismantle the equipment.
- Keep the equipment clean. Protect it from moisture, dramatic temperature changes, and electric shocks.
- DO NOT drop or hit the equipment.
- Protect the equipment from overexposure to light: DO NOT activate the equipment in daylight with the objective lens cap removed; DO NOT aim the equipment at bright light sources (a fire, car headlights, lanterns, streetlamps, room lights, etc.).
- DO NOT force the equipment controls past their stopping points.
- DO NOT leave the equipment activated during breaks in operation.
- Verify that the equipment is off before installing a battery.
- DO NOT store the equipment with the battery still in it.
- To avoid deformation or damage, remove the light suppressor from the Wolverine 4 before placing the equipment in storage.
- Thoroughly clean and dry each item before placing them into the storage case.
NOTES
- The equipment requires some level of ambient light (moonlight, starlight, etc.) to function correctly.
- Performance of the device in night-time conditions depends on the level of ambient light in the environment. Please remember the following:
- The level of ambient light is reduced by the presence of clouds, shade, or objects that block natural light (trees, buildings, etc.).
- The equipment is less effective when operated in shadows and other darkened areas.
- The equipment is less effective when operated in rain, fog, sleet, snow, dust or smoke.
- The equipment will not “see” through dense smoke.
- For the purpose of returning defective components, retain all packaging materials.
GENERAL INFORMATION
GENERAL INFORMATION
The AGM Wolverine 4 is a rugged and advanced night vision riflescope that offers excellent performance at a competitive price. Boasting a high-quality Gen 2+ image intensifier tube, adjustable illuminated reticle, easy-to-use internal windage and elevation adjustments, and simple controls, the Wolverine 4 allows you to see beyond the expected in nighttime conditions.
This riflescope is manufactured using a specially-coated aircraft alloy. It is equip with a doublelever quick-release mount that allows for highly accurate rail positioning to maximize user comfort. The manual precision top wheel focus provides improved accuracy and ergonomics. Water resistant, lightweight, and robust, the Wolverine 4 is the ideal night vision riflescope for dedicated hunters and tactical marksmen.
KEY FEATURES
- 4X magnification
- Shock protected, all-glass IR transmission multicoated optics
- Illuminated reticle with brightness adjustment
- Detachable long-range infrared illuminator
- Quick-release mount
- Mounts to standard Weaver rails
- Water and fog-resistant
- Limited 3-year warranty
SYSTEM DESCRIPTION
The Wolverine 4 consists of two primary parts: the night vision device (hereafter referred to as NVD) and the mount. The Wolverine 4 is delivered already assembled. The mount should be secured to the seating rail of the NVD with two screws. The NVD includes four main components: the objective and output lenses, an image intensifier tube, and the body.
The objective lens focuses available light (photons) on the photocathode of the image intensifier tube (IIT). The light energy causes electrons to be released from the cathode. After being amplified, the electron flow represents an intensified version of the original image of the scene. The electrons then strike the IIT phosphor screen, which reacts to them by glow that is visible to the human eye. The image is projected by the output lens from the IIT screen to the eye.
The automatic brightness adjustment system maintains consistent image brightness, even in changing light conditions.
The Wolverine 4 is powered by a single CR123A battery.
The mount system quick and reliable mounts the Wolverine 4 to the Picatinny/Weaver rail.
The Wolverine 4 is shown in Figure 1-1. The ITEM NO. column in Table 1-1 indicates the number used to identify items in Figure 1-1.
FIGURE 1-1. WOLVERINE 4 NIGHT VISION WEAPON SIGHT MAIN PART
TABLE 1-1. SYSTEM DESCRIPTION
ITEM | DESCRIPTION |
| 1 | Objective Lens Cap |
| 2 | Objective Lens |
| 3 | Picatinny Rail |
| 4 | Focus Knob |
| 5 | Diopter adjustment Ring |
| 6 | Eyecup |
| 7 | Operation Switch |
| 8 | Battery Compartment Cap |
| 9 | Mount |
| 10 | Elevation Adjustment (closed with a cap) |
| 11 | Windage Adjustment (closed with a cap) |
| 12 | Seating Rail |
STANDARD COMPONENTS AND OPTIONAL EQUIPMENT
The Wolverine 4 standard components and optional equipment are shown in Figure 1-2 and listed in Table 1-2.
The ITEM NO. column indicates the number used to identify items in Figure 1-2.
FIGURE 1-2. STANDARD COMPONENTS AND OPTIONAL EQUIPMENT
TABLE 1-2. STANDARD COMPONENTS
ITEM | DESCRIPTION | QUANTITY |
| 1 | Wolverine 4 Night Vision Weapon Sight | 1 |
| 2 | Quick-Release Mount | 1 |
| 3 | Lens Cap | 1 |
| 4 | Eyecup | 1 |
| 5 | CR123A Battery | 1 |
| 6 | Sioux850 Long Range Infrared Illuminator (Mount, 18650 Rechargeable Battery, and Charger are included) | 1 |
| 7 | User Manual | 1 |
| 8 | Carrying Case | 1 |
| 9 | Hard Case for Storage/Transportation (P/N 6610HCS1) | Optional |
OPERATING INSTRUCTIONS
INSTALLATION AND MOUNTING
CAUTION
To protect the image intensifier tube when the device is not in use or when it is being operated in daylight, keep the protective objective lens cap securely fitted over the lens.
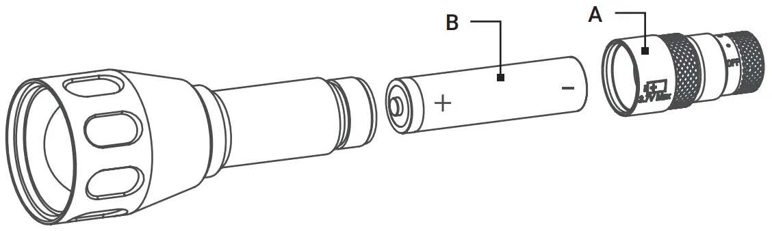
WOLVERINE 4 BATTERY INSTALLATION
Install the battery as follows (refer to Figure 2-1):
- Unscrew the battery compartment cap (A).
- Install the CR123A battery (B) into the battery compartment (C), following the polarity order marked on the compartment for reference.
- Replace the battery cap.

FIGURE 2-1. WOLVERINE 4 BATTERY INSTALLATION
SIOUX850 BATTERY INSTALLATION
CAUTION:
Ensure that the IR Illuminator is off before installing the battery.
Fully charge the 18650 rechargeable battery before installing. Insert the battery into charger, aligning the polarity symbols on the battery with the polarity symbols on the charger. Never install the battery backwards.
Connect the power cord to an appropriate power source. An indicator light will flash red when a battery is charging, and will change to green when battery has been fully charged. Remove the battery promptly after charging has been completed.
Install the battery as follows (refer to Figure 2-2)
- Unscrew the battery cap (A).
- Install the 18650 rechargeable battery (B) into the battery compartment. Align the polarity symbols on the battery with those on the cap face.
- Replace the battery cap (A).

FIGURE 2-2. SIOUX850 BATTERY INSTALLATION
INSTALLING THE WOLVERINE 4 ON A PICATINNY/ WEAVER RAIL
WARNING:
When installing the equipment on a weapon, verify that the weapon is clear and that the safety is on before proceeding.
To install the Wolverine 4 on a Picatinny/Weaver rail, perform the following:
- Unlock the clamping device of the scope mount by pushing down on the lever holders (A, see Figure 2-3) and unlocking the levers (B).
- Install the scope on the Picatinny/ Weaver rail so that the stops (C) slides into the transverse slots on the rail.
- Affix the scope to the rail by locking the levers (B).

FIGURE 2-3. MOUNT - Verify that the clamping device is firmly holding the Wolverine 4. If necessary, adjust the clamping device’s lever-cam locks as detailed below.
Clamping Device Adjustment
To adjust the mount’s clamping device, do the following:
- Remove the Wolverine 4 from the weapon.
- With the clamping device unlocked, push the cam (E) towards the arrow, which will cause the nut (D) to slide out of its hole.
- To tighten/ loosen the clamping device, push down on the cam (E) and turn the nut (D) CW/ CCW respectively, in one-two increments (see note below). Much like when the cam (E) is released, backward-moving springs will cause the nut (D) to slide back into its hole.
NOTE:
The eight-sided nuts of the mount lever-cam locks will only fit into their holes if turned in one of the discrete positions, using increments equal to 360°/8. - Verify that the adjusted lever-cam lock securely holds the weapon mounting rail.
- Repeat the procedure to adjust the clamping device’s second lever-cam lock.
Changing the Mount Position
To provide you with greater flexibility in mounting Wolverine 4 weapon sight on the weapon, the dual lever mount can be installed in two different positions. On the bottom of the scope body there are two pairs of threaded mounting holes in the seating rail. You can shift the mounting position of your Wolverine 4 by an extra 1.5 inches backwards.
To change the position of Wolverine 4 mount, please follow the instructions below:
- Remove the two screws that attach the mount to the seating rail.
- Remove the mount.
- Change the position of the mount.
- Install the two screws into the mount and tight up the screws.
INSTALLING THE SIOUX850
The Sioux850 is delivered ready-assembled with a dedicated mount, to be installed on the Weaver rail.
Mount the Sioux850 on the Wolverine 4 rail as follows (Figure 2 4):
- With the nut (A) loosened, install the mount (B) on the Weaver rail so that the stop (C) slides into one of the transverse slots of the rail.
- Tighten the nut (A).

FIGURE 2-4. SIOUX850 IR ILLUMINATOR
CONTROLS AND INDICATORS
CAUTION:
DO NOT force the equipment controls past their stopping points.
WOLVERINE 4 CONTROLS AND INDICATOR
The Wolverine 4 controls and indicator are shown in Figure 2-6 and defined in Table 2-1. The ITEM NO. column indicates the number used to identify items in Figure 2-6.
FIGURE 2-6. WOLVERINE 4 CONTROLS AND INDICATOR
TABLE 2-1. WOLVERINE 4 CONTROLS AND INDICATOR
ITEM | CONTROLS/INDICATOR | FUNCTION |
| 1 | Operation switch | Turned the Wolverine 4 ON/OFF. |
| Adjusts the reticle brightness. | ||
| 2 | Eyepiece Ring | Adjusts the diopter. |
| 3 | Focus Knob | Focuses the objective lens. |
| 4 | Elevation Adjustment Turret (closed with a cap) | Adjusts the boresight. Rotate the turret to move the reticle vertically. |
| 5 | Windage Adjustment Turret (closed with a cap) | Adjusts the boresight. Rotate the turret to move the reticle horizontally. |
| – | Low Battery Indicator (in the FOV) | Flashing reticle in the viewing area indicates a low battery. |
SIOUX850 CONTROLS
The Sioux850 controls are shown in Figure 2-7 and defined in Table 2-2. The ITEM NO. column indicates the number used to identify items in Figure 2-7.
FIGURE 2-7. IR ILLUMINATOR CONTROLS
TABLE 2-2. SIOUX850 CONTROLS
ITEM | CONTROLS | FUNCTION |
| 1 | Power Switch | Switches the Sioux850 ON/OFF and adjusts for radiated power. Four ON positions are located between two OFF positions, and are each marked with a different-sized spot. The larger the spot, the greater the radiated power. |
| 2 | Lens Focus Ring | Adjusts for IR beam divergence. Adjustment range is covered with approximately one turn of the lens. |
OPERATING PROCEDURES
OPERATING THE WOLVERINE 4
Operating procedures should be performed in night light conditions only.
CAUTION:
Use of the Wolverine 4 in brightly lit conditions may damage the image intensifier tube.
- Verify that the battery is installed as required.
- Remove the objective lens cap and place it over the lens’ housing.
- Verify that there are no bright light sources in the Wolverine 4’s field of view. Turn the device on by rotation the operation switch from the OFF position. After a slight delay, a green glow will appear in the day scope’s output lens.
CAUTION:
Avoid exposing the device to bright light sources such as firelight, headlights, searchlights, etc., as these can damage the Wolverine 4. - Observe the scene and adjust the focus. Turn the eyepiece ring clockwise until it stops. Then, while looking through the eyepiece, aim the sight towards an object in the distance and begin slowly rotating the eyepiece ring in a counterclockwise direction until the image becomes sharp and clear. Then bring the object into focus by turning the objective focus knob. Rotate the focus knob until the subject looks sharp in the viewfinder.
- Adjust the brightness of reticle. Look into the eyepiece (you will be able to see the reticle brightness through the viewfinder). Rotate the operation switch to gradually adjust the reticle brightness until the desired level of brightness is reached.
- To turned the Wolverine 4 off rotate the operation switch to the fixed OFF position
CAUTION:
DO NOT leave the Wolverine 4 activated if it is not being used.
OPERATING THE SIOUX850
Use the Sioux850 in poor light conditions or complete darkness.
CAUTION:
The light from the IR illuminator will be invisible to the naked eye. However, the light can be detected by other NVDs.
CAUTION:
DO NOT leave the Sioux850 activated when the device is not in use.
- After examining a scene with the Wolverine 4, turn the Sioux850 on.
- To change the radiated power level, turn the power switch (A, Figure 2-8) to one of the spots between the two OFF positions.
- To adjust IR beam divergence, turn the lens focus ring (B).
- To adjust the IR spot position in the field of view, loosen two clamp screws (C) and tilt the Sioux850 as required in the spherical clamp hinge (D). Tighten the screw using a 2.5mm hex key.

FIGURE 2-8. OPERATING THE SIOUX850
RETICLE
The Wolverine 4 reticle provides a clear aiming point, even when difficult-to-see games or objects blend into the background. Posts and crosshairs appear in the center section of the field of view, but occupy a minimal portion of the image, making precise shots on even the smallest targets easy and accurate. Lit center section of crosshairs has an adjustable brightness to lead your eye directly to the center and aiming position.
The Mil-dot reticle is a reliable means of determining distances to targets, establishing leads for moving targets, and for alternate aiming points for windage and elevation holds.
Dots are spaced in one mil (milliradian) increments on the crosshair. Distance to target can be calculated using the mil formula, that is based on the size of the object being targeted.
Look through the scope, and bracket the object between dots.
The space between dot centers subtends one milliradian (mil). One mil. subtends 3.6 inches at 100 yards or 36 inches at 1,000 yards. To use this system effectively you must know the size of the target.
By measuring the height or width of a known (or approximately known target size) in mil-radians using the reticles, the target distance can be calculated as follows. R = 1000 * H / M (R = range in meters, H = target size in meters, M = mil-radians of the image size).
This formula becomes R = 1000 / M for a one meter target size.
FIGURE 2-9. THE WOLVERINE 4 RETICLE
BORE SIGHTING
NOTE:
Before adjusting the Wolverine 4 boresight for the first time, install the device and fire approximately 10 shots, in order to stabilize the adjustment mechanisms under applied shocks.
The vertical and horizontal adjustments for the Wolverine 4 can be regulated by rotating the elevation and windage adjustment turrets. Once the turret comes to a complete stop, avoid forcing it any further, as damage to the mechanism may occur.
Adjust the boresight as follows:
- Locate a target at the fire adjustment range (100 yd).
- Take aim at the center of the target using the weapon’s iron sight; secure or hold the weapon in a steady position.
- Unscrew the caps from the adjustment turrets.
- Turn on the Wolverine 4.
- Look into the eyepiece. Turn the adjustment turrets until the reticle moves into the center of the target.
NOTE:
To shift the aiming dot to the right, turn the windage adjustment screw CCW. To shift it to the left, turn the screw CW. To shift the aiming dot down, turn the elevation adjustment screw CCW. To shift it up, turn the screw CW. - Fire a series of shots.
- Work out the values of the elevation and windage corrections required to compensate for the measured deviation of the mean point of impact (MPI) from the center of the target. The minimum correction value of 1/4 MOA (1/4 inch at a distance of 100 yards or 0.7 cm at a distance of 100 m), corresponds to one click of the adjustment mechanisms.
- Adjust the equipment boresight by turning the adjustment turrets and counting out a definite number of clicks (or reading the scales).
NOTE:
To shift the MPI to the right, turn the windage adjustment screw CW. To shift the MPI to the left, turn the screw CCW. To shift the MPI down, turn the elevation adjustment screw CW. To shift the MPI up, turn the screw CCW. - To check the equipment’s boresight, take aim at the center of the target and fire a series of shots.
- After completing the boresight adjustment procedure, turn the Wolverine 4 off and replace the caps on the adjustment turrets.
SHUT-DOWN
Shut-down the Wolverine 4 as follows:
- Turn off the device. The glow in viewfinder will disappear.
- Place the cap over the objective lens.
- Remove the Wolverine 4 from the weapon.
- Remove the Sioux850 from the Wolverine 4.
- Remove the batteries from Wolverine 4 and Sioux850.
CAUTION:
DO NOT store the equipment with the battery still in it. - Ensure that the Wolverine 4 and any accessories are clean and dry before placing them into the storage case.
- Place the Wolverine 4 and any accessories into the storage case.
- Store the Wolverine 4 and accessories in the appropriate locations in the case and close the cover.
MAINTENANCE
CLEANING PROCEDURES
CAUTION:
Thoroughly dry each item before placing them into the storage case.
Clean the Wolverine 4 and Sioux850 as follows:
- Gently brush off any dirt from the device’s body using a clean soft cloth.
- Moisten the cloth with fresh water and gently wipe external surfaces (except for glass surfaces).
- Dry any wet surfaces (except for glass surfaces) with another clean, soft, dry cloth.
- Using a lens brush, carefully remove all loose dirt from the glass surfaces.
- Slightly dampen a cotton swab with ethanol. Gently and slowly wipe the lenses. Without touching the lens holders, clean the glass surfaces in circular movements, beginning in the center and moving out towards the edge. Change the cotton swab after each circular stroke. Repeat until the glass surfaces are clean.
- Clean the battery surfaces and contacts with a pencil eraser and/or alcohol-dampened cotton swabs.
TROUBLESHOOTING
The purpose of troubleshooting is to identify the most commonly occurring equipment malfunctions, their probable causes, and the corrective actions required to fix them. Table 3-1 lists the common malfunctions that may occur during the operation or maintenance of the Wolverine 4. Perform the tests, inspections, and corrective actions in the order listed in the table.
This table cannot list all of the malfunctions that may occur with your Wolverine 4, or all of the tests and corrective actions that may be necessary. If you experience an equipment malfunction that is not listed, or is not fixed by the corrective actions listed in the table, please contact Customer Service center.
TABLE 3-1. TROUBLESHOOTING
| MALFUNCTION | PROBABLE CAUSE/ TEST/ INSPECTION | CORRECTIVE ACTION |
| Wolverine 4 fails to activate. | Battery is missing or improperly installed. | Insert battery or install correctly. |
| Battery is dead. | Replace the battery. | |
| Battery surfaces or contacts are dirty or corroded. | Clean the contact surfaces with a pencil eraser and/or alcohol and cotton swabs. | |
| Defective image intensifier tube. | Please contact Customer Support. | |
| Poor image quality. | Check focus. | Refocus. |
| Objective and output lenses are dirty. | Thoroughly clean the surfaces of each lens. | |
| Damaged optical components. | Please contact Customer Support. | |
| Wolverine 4 affects boresight after installation or during the firing. | Factory alignment is broken. | Please contact Customer Support. |
| Hindered rotation of the battery cap. | Dirty cap thread. | Clean the thread. |
| Damaged cap thread. | Please contact Customer Support. | |
| Sioux850 fails to activate. | Battery is missing or improperly installed. | Insert battery or install it correctly. |
| Battery is dead. | Replace the battery. | |
| Sioux850 damaged. | Please contact Customer Support. |
WARRANTY INFORMATION
WARRANTY INFORMATION AND REGISTRATION
WARRANTY INFORMATION
This product is guaranteed to be free from manufacturing defects in material and workmanship under normal use for a period of three (3) years from the date of purchase. In the event that a defect covered by the warranty below occurs during the applicable period stated above, AGM Global Vision, at its discretion, will either repair or replace the product; such action on the part of AGM Global Vision shall be the full extent of AGM Global Vision’s liability, and the Customer’s sole and exclusive reparation. This warranty does not cover a product if it has been (a) used in ways other than its normal and customary manner; (b) subjected to misuse; (c) subjected to alterations, modifications or repairs by the Customer or by any party other than AGM Global Vision without prior written consent of AGM Global Vision; (d) is the result of a special order or categorized as “close-out” merchandise or merchandise sold “as-is” by either AGM Global Vision or the AGM Global Vision dealer; or (e) merchandise that has been discontinued by the manufacturer and either parts or replacement units are not available due to reasons beyond the control of AGM Global Vision. AGM Global Vision shall not be responsible for any defects or damage that in AGM Global Vision’s view are a result from the mishandling, abuse, misuse, improper storage or improper operation of the device, including use in conjunction with equipment that is electrically or mechanically incompatible with, or of inferior quality to, the product, as well as failure to maintain the environmental conditions specified by the manufacturer. This warranty is extended only to the original purchaser. Any breach of this warranty shall be enforced unless the customer notifies AGM Global Vision at the address noted below within the applicable warranty period. The customer understands and agrees that except for the foregoing warranty, no other warranties written or oral, statutory, expressed or implied, including any implied warranty of merchantability or fitness for a particular purpose, shall apply to the product. All such implied warranties are hereby and expressly disclaimed.
LIMITATION OF LIABILITY
AGM Global Vision will not be liable for any claims, actions, suits, proceedings, costs, expenses, damages, or liabilities arising out of the use of this product. Operation and use of the product are the sole responsibility of the Customer. AGM Global Vision’s sole undertaking is limited to providing the products and services outlined herein in accordance with the terms and conditions of this Agreement. The provision of products sold and services performed by AGM Global Vision to the Customer shall not be interpreted, construed, or regarded, either expressly or implied, as being for the benefit of or creating any obligation toward any third party of legal entity outside AGM Global Vision and the Customer; AGM Global Vision’s obligations under this Agreement extend solely to the Customer. AGM Global Vision’s liability hereunder for damages, regardless of the form or action, shall not exceed the fees or other charges paid to AGM Global Vision by the customer or customer’s dealer. AGM Global Vision shall not, in any event, be liable for special, indirect, incidental, or consequential damages, including, but not limited to, lost income, lost revenue, or lost profit, whether such damages were foreseeable or not at the time of purchase, and whether or not such damages arise out of a breach of warranty, a breach of agreement, negligence, strict liability, or any other theory of liability.
PRODUCT REGISTRATION
In order to validate the warranty on your product, the customer must complete and submit AGM Global Vision PRODUCT REGISTRATION FORM on our website (www.agmglobalvision.com/customer-support).
OBTAINING WARRANTY SERVICE
To obtain warranty service on your unit, the End-user (Customer) must notify the AGM Global Vision service department via e-mail. Send any requests to [email protected] to receive a Return Merchandise Authorization number (RMA). When returning any device, please take the product to your retailer, or send the product, postage paid and with a copy of your sales receipt, to AGM Global Vision’s service center at the address listed above. All merchandise must be fully insured with the correct postage; AGM Global Vision will not be responsible for improper postage or merchandise that becomes lost or damaged during shipment. When sending product back, please clearly write the RMA# on the outside of the shipping box. Please include a letter that indicates your RMA#, the Customer’s Name, a Return Address, reason for the return, contact information (valid telephone numbers and/or an e-mail address), and proof of purchase that will help us to establish the valid start date of the warranty. Product merchandise returns that do not have an RMA# listed may be refused, or a significant delay in processing may occur. Estimated Warranty service time is 10-20 business days. The End-user/Customer is responsible for postage to AGM Global Vision for warranty service. AGM Global Vision will cover return postage/ shipping after warranty repair to the End-user/Customer only if the product is covered by the aforementioned warranty. AGM Global Vision will return the product after warranty service by domestic UPS Ground service and/or domestic mail. Should any other requested, required, or international shipping methods be necessary, the postage/shipping fee will be the responsibility of the End-user/Customer.
For service, repair or replacement, please contact:
SPECIFICATIONS
The following tables provide information pertaining to the operational, optical, electrical, mechanical, and environmental characteristics of the Wolverine 4 weapon sight and Sioux850 IR illuminator.
TABLE 5-1. OPTICAL DATA
| ITEM | DATA |
| Magnification | 4X |
| Objective Lens Focal Length | 108 mm |
| Objective Lens F/number | 1:1.54 |
| Range of Focus | 10 m to infinity |
| Field of View | 9° |
| Exit Pupil Diameter | 7 mm |
| Eye Relief | 45 mm |
| Diopter Adjustment | -5 to +5 diopters |
TABLE 5-2. SYSTEM DATA
ITEM | DATA |
| Controls | Direct |
| Automatic Brightness Control | Yes |
| Infrared Illuminator | Sioux850 detachable long range IR illuminator |
| Low Battery Indicator | Yes (in the FOV) |
| Reticle System | Mil-Dot, illuminated red center |
| Windage/Elevation Adjustment Range | ±60 MOA |
| Windage/Elevation Adjustment Increment | 1/4 MOA |
TABLE 5-3. MECHANICAL DATA
ITEM | DATA |
| Overall Dimensions (L×W×H) | 308×94×97 mm (12.1×3.7×3.8 in) |
| Weight (without Battery) | 1.2 kg (2.6 lb) |
| Height of the Wolverine 4 Optical Axis above Picatinny/ Weaver Rail | 46 mm (1.8 in) |
TABLE 5-4. ELECTRICAL DATA
ITEM | DATA |
| Battery | Single CR123A (3V)* |
| Battery Life at 20°C | Up to 60 hrs. |
TABLE 5-5. ENVIRONMENTAL DATA
ITEM | DATA |
| Operating Temperature | -40 to +50°C (-40 to 122°F) |
| Storage Temperature | -50 to +50°C (-58 to 122°F) |
| Illumination Required | Natural night illumination (overcast starlight to moonlight) |
| Environmental Rating | Water and Fog-Resistant |
TABLE 5-6. SIOUX850 ILLUMINATOR DATA
ITEM | DATA |
| IR Emitter Type | LED |
| Power | 1000 mW |
| Peak Wavelength | 850 nm |
| Illumination Range | Up to 1000 m |
| Divergence | 4 to 35° |
| Battery | Single 18650 Rechargeable Battery (3.7V)* |
| Battery Life at 20°C (68°F) | Up to 10 hrs. (1/4 Power); 8 hrs. (1/2 Power); 6 hrs. (3/4 Power); 2.5 hrs. (Full Power) |
| Overall Dimensions (with Mount) | 150 × 48 × 57 mm (5.9 × 1.9 × 2.2 in) |
| Weight (with Mount, w/o Battery) | 264 g (9.3 oz) |
| Operating Temperature | -20 to +50°C (-4 to 122°F) |
| Storage Temperature | -50 to +70°C (-58 to 158°F) |
| Environmental Rating | Water and Fog-Resistant |
*18650 rechargeable battery and charger are included
NOTE: All data subject to change without notice.
APPENDIX
A. LIST OF SPARE PARTS
The parts authorized in the below list of spare parts are required for operator maintenance. This list includes parts that must be removed in order to replace authorized parts. The ITEM NO. column indicates the number used to identify items in Figure A-1.
The PART NO. column indicates the primary number used by the manufacturer to identify an item; this number controls the design and characteristics of the item by means of its engineering, specifications, standards, and inspection requirements.
FIGURE A-1. WOLVERINE 4 SPARE PARTS
TABLE A-1. WOLVERINE 4 LIST OF SPARE PARTS
ITEM NO. | DESCRIPTION | PART NO. |
| 1 | Objective Lens Cap | WOL4OBLC |
| 2 | Objective Lens Assembly | WOL4OLAS |
| 3 | Focus Knob | WOL4FCKN |
| 4 | Battery Cap | WOL4BTCP |
| 5 | Caps Retainer | WOL4CPRT |
| 6 | Adjustment Turret Cap | WOL4ADTC |
| 7 | Eyepiece Assembly | WOL4EPAS |
| 8 | Eyecup | WOL4EYCP |
| 9 | Picatinny Rail | WOL4PCRL |
| 10 | Mount | WOL4MNT |
| 11 | Sioux850 Detachable Long Range Infrared illuminator | 501SIOUX850IR1 |
| 12 | User Manual | WOL4USMN |
| 13 | Carrying Case | WOL4CRCS |
Contact Us
AGM Global Vision, LLC
MAIN OFFICE
173 West Main Street
PO Box 962
Springerville, AZ 85938
USA
Tel. +1.928.333.4300
[email protected]
www.agmglobalvision.com
EUROPEAN OFFICE
Andrey Lyapchev #7
Sofia, P.C. 1756
Bulgaria
Tel. +35.988.412.5573
[email protected]
www.agmglobalvision.eu
© 2021 AGM Global Vision, LLC. All rights reserved.
This documentation is subject to change without notice. No parts of this manual, in whole or in part, may be copied, photocopied, translated, or transmitted by any electronic medium or in machine-readable form without the prior written permission of AGM Global Vision, LLC.
Approved for public release, distribution unlimited.
If you have questions that are not covered in this manual, or need service, contact AGM Global Vision customer support for additional information prior to returning a product.
AGM Global Vision, LLC
173 West Main Street
PO Box 962
Springerville, AZ 85938
Tel. 928.333.4300
[email protected]
www.agmglobalvision.com
References
AGM Global Vision: Night Vision and Thermal Imaging Equipment for Law Enforcement, Hunting, Outdoor and Military Gear
AGM Global Vision: Night Vision and Thermal Imaging Equipment for Law Enforcement, Hunting, Outdoor and Military Gear
AGM Global Vision: Night Vision and Thermal Imaging Equipment for Law Enforcement, Hunting, Outdoor and Military Gear
AGM Globalvision: Night Vision and Thermal Imaging Equipment for Law Enforcement, Hunting, Outdoor and Military Gear
























