TROTEC LD6 Sound Locator User Guide
Notes regarding the operating manual
Symbols
Warning of electrical voltage
This symbol indicates dangers to the life and health of persons due to electrical voltage.
Warning of explosive substances
This symbol indicates dangers to the life and health of persons due to potentially explosive substances.
Warning
This signal word indicates a hazard with an average risk level which, if not avoided, can result in serious injury or death.
Caution
This signal word indicates a hazard with a low risk level which, if not avoided, can result in minor or moderate injury.
Note
This signal word indicates important information (e.g. material damage), but does not indicate hazards.
Info
Information marked with this symbol helps you to carry out your tasks quickly and safely.
Follow the manual
Information marked with this symbol indicates that the operating manual must be observed.
You can download the current version of the operating manual and the EU declaration of conformity via the following link:
LD6
https://hub.trotec.com/?id=40313
Safety
Read this manual carefully before starting or using the device. Always store the manual in the immediate vicinity of the device or its site of use.
Warning
Read all safety warnings and all instructions.
Failure to follow the warnings and instructions may result in electric shock, fire and/or serious injury.
Save all warnings and instructions for future reference.
This appliance can be used by children aged from 8 years and above and persons with reduced physical, sensory or mental capabilities or lack of experience and knowledge if they have been given supervision or instruction concerning use of the appliance in a safe way and understand the hazards involved.
Children shall not play with the appliance. Cleaning and user maintenance shall not be made by children without supervision.
- Do not use the device in potentially explosive rooms or areas and do not install it there.
- Do not use the device in aggressive atmosphere.
- Do not immerse the device in water. Do not allow liquids to penetrate into the device.
- The device may only be used in dry surroundings and must not be used in the rain or at a relative humidity exceeding the operating conditions.
- Protect the device from permanent direct sunlight.
- Do not remove any safety signs, stickers or labels from the device. Keep all safety signs, stickers and labels in legible condition.
- Do not open the device.
- Observe the storage and operating conditions as given in the Technical data chapter.
Intended use
Only use the device for the non-destructive, acoustic leak detection in piping systems conveying liquid pumping media and within the measuring range specified in the technical data.
To use the device for its intended use, only use accessories and spare parts which have been approved by Trotec.
Foreseeable misuse
Do not use the device in potentially explosive atmospheres, for measurements in liquids and at live parts. Trotec accepts no liability for damages resulting from improper use. In such a case, any warranty claims will be voided. Any unauthorised modifications, alterations or structural changes to the device are forbidden.
Personnel qualifications
People who use this device must:
- have read and understood the operating manual, especially the Safety chapter.
Residual risks
Warning of electrical voltage
There is a risk of a short-circuit due to liquids penetrating the housing!
Do not immerse the device and the accessories in water. Make sure that no water or other liquids can enter the housing.
Warning of electrical voltage
Work on the electrical components must only be carried out by an authorised specialist company!
Warning of explosive substances
Do not expose the battery to temperatures above 45 °C! Do not let the battery come into contact with water or fire! Avoid direct sunlight and moisture. There is a risk of explosion!
Warning
Risk of suffocation!
Do not leave the packaging lying around. Children may use it as a dangerous toy.
Warning
The device is not a toy and does not belong in the hands of children.
Warning
Dangers can occur at the device when it is used by untrained people in an unprofessional or improper way! Observe the personnel qualifications!
Caution
Lithium-ion batteries might catch fire in case of overheating or damage. Ensure a sufficient distance to heat sources, do not subject lithium-ion batteries to direct sunlight and make sure not to damage the casing. Do not overcharge lithium-ion batteries. Only use smart chargers that switch off automatically when the battery is fully charged. Charge lithium-ion batteries in due time before they are discharged completely.
Caution
Keep a sufficient distance from heat sources.
Note
To prevent damages to the device, do not expose it to extreme temperatures, extreme humidity or moisture.
Note
Do not use abrasive cleaners or solvents to clean the device
Information about the device
Device description
With this device leakage sounds can be transmitted via Bluetooth to the corresponding headphones and rendered audible. The sound level is displayed analogously at the device.
Depending on the situation, the device can be operated with a connected tip, extension, tripod or pot magnet.
The frequency can be adjusted with due regard to the respective material, the pressure and the presumed leak size.
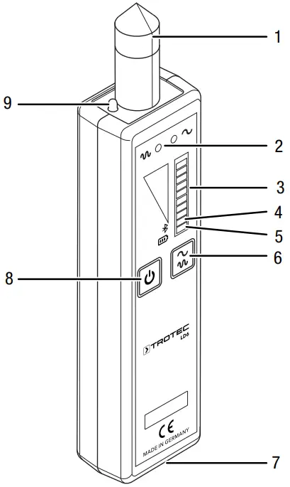
Device depiction
| No. | Designation |
| 1 | Measuring tip (exchangeable) |
| 2 | Frequency LEDs (high, low) |
| 3 | LED bar graph, 8 levels |
| 4 | Bluetooth LED |
| 5 | Battery LED |
| 6 | Frequency button |
| 7 | Micro USB port |
| 8 | Power button |
| 9 | Illumination LED |
Headphones
| No. | Designation |
| 10 | Volume control (V+ / V-) |
| 11 | Micro USB port |
| 12 | Power button |
| 13 | AUX port |
| 14 | Headphone LED (blue / red) |
Technical data
Measuring device
| Parameter | Value |
| Signal input connection | Bluetooth (for supplied headphones) |
| Level indication | LED bar graph, 8 levels |
| Acoustic rendition | Noise-cancelling BT headphones |
| Frequency range | 0 Hz to 5000 Hz |
| Power supply | NiMH battery |
| Battery capacity | 1000 mAh |
| Battery charging voltage | 5 V (Micro USB, min. 500 mA) |
| Battery charging time | approx. 4 h to 6 h |
| Battery operating time per charge | approx. 8 h to 10 h |
| Operating conditions | -10°C to +50°C |
| Storage conditions | -20°C to +60°C |
| Dimensions (length x width x height) | 114 x 35 x 25 (mm) |
| Weight (device only) | 210 g (measuring device) |
Headphones (noise-cancelling)
| Parameter | Value |
| Bluetooth frequency | 2,402 to 2,480 GHz |
| Bluetooth version | Version 4.0 class 2 |
| Supported Bluetooth profiles | A2DP, AVRCP, HSP, HFP |
| Supported codecs | SBC (subband codec) |
| Range | Up to 10 metres in an open area without obstructions |
| Power supply | Li-ion battery |
| Battery capacity | 250 mAh |
| Battery charging voltage | 5 V (Micro USB) |
| Battery charging time | approx. 2 h to 3 h |
| Battery operating time per charge | approx. up to 10 h
|
| Operating conditions | -10 °C to +40 °C |
| Storage conditions | -10 °C to +40 °C |
| Audio input | DC3.5 female |
| Dimensions (length x width x height) | 210 x 170 x 50 (mm) |
| Weight (headphones only) | 180g |
Scope of delivery
- 1 x Measuring device LD6 with measuring tip (e.g. for water lines, valves)
- 1 x Headphones
- 1 x 220 V charger with 3 exchangeable travel adapters
- 1 x 12 V charger
- 2 x Micro USB charging cable for measuring device and headphones each
- 2 x Extension rod
- 1 x Tripod (e.g. for flooring)
- 1 x Pot magnet (e.g. for fittings, valves and magnetic lines)
- 1 x Transport case
- 1 x Quick guide
Transport and storage
Note
If you store or transport the device improperly, the device may be damaged.
Note the information regarding transport and storage of the device.
Transport
For transporting the device, use the transport case included in the scope of delivery in order to protect the device from external influences.
The supplied Li-ion batteries are subjects to the requirements of dangerous goods legislation.
Observe the following when transporting or shipping Li-ion batteries:
- The user may transport the batteries by road without any additional requirements.
- If transport is carried out by third parties (e.g. air transport or forwarding company), special requirements as to packaging and labelling must be observed. This includes consulting a dangerous goods specialist when preparing the package.
- Only ship batteries if their housing is undamaged.
- Please also observe any other national regulations.
Storage
When the device is not being used, observe the following storage conditions:
- Dry and protected from frost and heat
- Protected from dust and direct sunlight
- For storing the device, use the transport case included in the scope of delivery in order to protect the device from external influences.
- The storage temperature is the same as the range given in the Technical data chapter.
Operation
Charging the battery
The battery is partially charged upon delivery to avoid damage to the battery caused by a deep discharge.
Warning of electrical voltage
Before each use of the charger or power cable, check for damages. If you notice damages, stop using the charger or power cable!
Note
The battery can be damaged in case of improper charging.
Never charge the battery at ambient temperatures below 10 °C or above 40 °C.
The battery should be charged prior to initial start-up and when the battery is low (battery LED (5.14) flashes slowly or headphone LED (14) is illuminated in red). To do so, please proceed as follows:
- Select the charging adapter suitable for the national grid.

- Plug the charger into a properly fused mains socket.

- Connect the USB charging cable to the charger.

- Connect the USB charging cable to the device and / or headphones (both devices use the Micro USB system).

- The battery LED (5) is illuminated in red. The charging process is completed as soon as the light turns green.
- The headphone LED (14) is illuminated in red. The charging process is completed as soon as the light goes out.
- Remove the charging cable when the charging process is completed.
- Pull the charger out of the mains socket.
Initial start-up
Prior to initial start-up headphones and device need to be paired.
- Press and hold the power button (8) at the device for approx. 6 to 8 s until the Bluetooth LED (4) begins to flash.
- The device is now in pairing mode.
- Press and hold the power button (12) at the headphones for approx. 7 s until the headphone LED (14) flashes blue in a rapid interval.
- The headphones are now in pairing mode.
- Hold both devices in the immediate vicinity of one another until the connection is established.
- The Bluetooth LED (4) will be permanently illuminated.
- The headphones emit a single brief acoustic confirmation signal and the headphone LED (14) is permanently illuminated in blue.
- First, turn down the volume of the headphones by pressing the volume button (10, V-).
- An acoustic confirmation signal indicates the current sound level.
Switching the device on
Info
If you have just finished pairing the devices for initial start-up, both the device and the headphones are switched on already.
- Press the power button (8) at the device until the battery LED (5) is illuminated.
- The device is switched on.
- The LED bar graph will indicate the sound level after a few seconds.
Switching the headphones on
Info
If you have just finished pairing the devices for initial start-up, both the device and the headphones are switched on already.
- Press the power button (12) until the headphone LED (14) lights up in blue. An acoustic confirmation signal is emitted additionally.
- The headphones link up with the device.
- If the connection has been established successfully, there should be audible sounds. Adjust the volume of the headphones if necessary.
If the connection attempt fails, switch both units off and then back on in the following order:
- Device
- Headphones
If further connection attempts keep failing, delete the current device pairing of the headphones at the device and start over in pairing mode. To do so, please proceed as follows:
- The device is switched off.
- The headphones are switched off.
- Press and hold the frequency button (6) at the device and then the power button (8). Keep both buttons pressed simultaneously.
- If the Bluetooth LED (4) flashes, let go of the buttons.
- If all LEDs flash, you can switch the device off.
- All pairings are now deleted.
- Now proceed as described in section Initial start-up.
Volume control at the headphones
- Press the volume button (10).
- Press V+ to increase the volume or V- to reduce it.
- An acoustic confirmation signal indicates the maximum or minimum sound level.
Carrying out a measurement
Info
Note that moving from a cold area to a warm area can lead to condensation forming on the device’s circuit board. This physical and unavoidable effect can falsify the detection result. In this case, the device emits either no signals or they are incorrect. Wait for a few minutes until the device has become adjusted to the changed conditions before using the device.
- The device is switched on.
- The volume control at the headphones is set to minimum.
- Put on the headphones.
- Hold the measuring tip to the test object.

- The sound level is indicated on the LED bar graph (3) and the sound can be heard through the headphones.
Changing the frequency range
Upon switch-on the device allows for all frequencies.
- Press the frequency button (6) once to activate high frequencies.

- The LED for high frequencies will be illuminated.
- Press the frequency button (6) twice to activate low frequencies.

- The LED for low frequencies will be illuminated.
- Press the frequency button (6) three times to activate all frequencies.

- The frequency LEDs (2) go out.
Exchanging the measuring tip
The measuring tip design can vary depending on the surface to be measured or on the medium contained in the conveyor line.
Upon delivery the device comes equipped with the standard measuring tip, e.g. for checking water lines.
To exchange the measuring tip, please proceed as follows:
- Unscrew the measuring tip from the device.

- Instead attach for instance the pot magnet to the device.

The following schematic representation provides an overview of the possible combinations. You can use one or both extensions as needed.
Switching the headphones off
- Press the power button (12) until the headphone LED (13) lights up in red. An acoustic confirmation signal is emitted additionally.
- The headphones switch off.
Switching the device off
- Press and hold the power button (8) at the device for approx. 3 s until the LEDs light up briefly.
- The device switches off.
Maintenance and repair
Charging the battery
The battery should be charged when the battery LED (5) at the device flashes slowly or the headphone LED (13) is illuminated in red or device or headphones can no longer be switched on (see chapter Charging the battery).
Cleaning
Clean the device with a soft, damp and lint-free cloth. Make sure that no moisture enters the housing. Do not use any sprays, solvents, alcohol-based cleaning agents or abrasive cleaners, but only clean water to moisten the cloth.
Repair
Do not modify the device or install any spare parts. For repairs or device testing, contact the manufacturer.
Errors and faults
The device has been checked for proper functioning several times during production. If malfunctions occur nonetheless, check the device according to the following list.
For repairs or device testing, contact the manufacturer.
Disposal
The icon with the crossed-out waste bin on waste electrical or electronic equipment stipulates that this equipment must not be disposed of with the household waste at the end of its life. You will find collection points for free return of waste electrical and electronic equipment in your vicinity. The addresses can be obtained from your municipality or local administration. For further return options provided by us please refer to our website https://de.trotec.com/shop/.
The separate collection of waste electrical and electronic equipment aims to enable the re-use, recycling and other forms of recovery of waste equipment as well as to prevent negative effects for the environment and human health caused by the disposal of hazardous substances potentially contained in the equipment.
![]()
In the European Union, batteries and accumulators must not be treated as domestic waste, but must be disposed of professionally in accordance with Directive 2006/66/EC of the European Parliament and of the Council of 6 September 2006 on batteries and accumulators. Please dispose of batteries and accumulators according to the relevant legal requirements.
Trotec GmbH
Grebbener Str. 7 D52525 Heinsberg
+49 2452 962-400
+49 2452 962-200
[email protected]
www.trotec.com
![]()





























