
lory Bright
Glory Bright
AGES14+
A808 6-Axis Gyro System Drone
Instruction Manual
A808
(setting height& Camera Version)
6-Axis Gyro System 2.4GHz
5Channel 360º Flips
- Intelligent Hovering
- Headless mode
- One key Mg
- One key spiral stunt
- One key balance recovery system
- One key return in Headless mode
- Hew Control Mode with A808
- Steady Hovering Trimming neenehesea
Please read the Instruction Manual carefully before using it. Please keep it for your further reference
SAFETY CAUTION TIPS
- Done is not a toy Make sure to play it as per Ithe construction manual, any modification or improper using may cause unexpected danger or risk.
- This product Is not suitable for kits under 14 years old Make sure the drone is operated in safe surroundings.
- .Please play this drone fly away from a person or obstacle. at least 4 meters distance.
- This product can fly indoors or outdoor. do not fly it in unsafe places. such as heat sources. high-voltage power cable or no-fly zone
- In order to avoid short-circuiting or battery damage. do not use other USB cables to charge the drone.
- .Do not touch the drone while it is flying or moving
- Do not mix old and new batteries.
- Do not mix alkaline, standard (carbon-zinc). or rechargeable batteries.
PACKING LIST
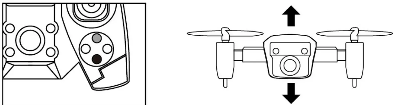
Drone and Controller details
How to install bthe attery into cthe ontroller
- Use sa crewdriver to open the battery compartment cover (see Pic.1)
- Put the battery inside bthe attery compartment as per correct polarity(see Pic.2)
- .Fix the battery compartment cover (see Pic.3)

WARNING
- Do not use different Ixend or type deaneries
- Do no mot Iry and old Weems
- Insult the batteries wan tarred wart
How to charge the drone
- Take out the battery compartment from the drone..
- Plug USB into a power source and then into the battery. The indicator light will be on while charging, the indicator light will shoot off once fully charged.
- Fully charging time is approximately 60-70 minutes; flying time is approximately 5-6 minutes.

Pre-flight preparation
- Put the drone on the flat floor, turn on the swift on the drone. When the indicator light is flashing, the drone is ready to fly

- Turn on the swift on the transmitter. push the left joystick to the highest point and push to the lowest point, the drone’s indicator light change to keep on lighting. it means that the frequency match successfully.

- After match frequency, please push the button “one-key correctly’ and then press the button ‘take off/landing’.

- Gyro correction and motor unlock Push the left and right joystick as below picture for around 2 seconds, the Indicator light of the drone keep on and the propeller start moving. You can press the button’ take off landing or push both joysticks to the highest point to start fly the drone.

How to operate the drone
Push the left pick t.o, the drone wit n Push the left sick down the dome wit Ily down
Push the night sick up the drone wit fly forward Push the tight ‘cyst.* &an. the drone whey backward
Push left Asia left the drone wh tin leftward Rest, the left mack roht the dime MI turn nontwerd
Push The ngr mistake left the drone will ey to lee slit Push the right sick night. the draw will ty to the right ado
How to trimming the drone

If the drone fly skewing forward, please press the button “backward trimming” If the drone fly skewing backward, please press the button ‘forward trimming”
If the drone fly skewing leftward, please press the button “rightward trimming” If the drone fly skewing rightward, please press the button “leftward trimming”
Headless Mode

After taking off the drone, press the button “Headless mode”, the indicator light on the drone flashes and the transmitter has a sound “Di Dr; If you want to exit from “headless mode”, just press the button ‘headless mode” again.
Speed Switch
During flying, you can press the button %peed switch” to change the flight speed. The beginning speed for the drone is low speed, press the button ‘speed switch” and the transmitter has a sound of “di dr, the drone will be in medium speed; press the button “speed switch” again and the transmitter has a sound of “di di di “, the drone will be in high speed; press the button “speed switch” again and the transmitter has a sound of “di”, the drone will be in low speed again.
360º Flipping
Press the button lip” and the transmitter has a sound of “di di”, push the right joystick to “up”, ‘down”, “left” and “right”, the drone will 360-degree flip “Forward”, “backward”, “leftward” and ‘rightward” respectively.
How to start the drone
Option 1: After frequency match, press the button lake off/Landing’. the drone will fly up and hover in the air.
Option 2: After frequency match. press the left and right joysticks as shown picture. the propellers begin to move and then press the left joystick upward, the drone will fly up and hover in the air.
One Key Landing
Press the button lake ofthanding’, the drone will land slowly. During landing, you can push the joystick to the assigned location. and the propeller stop moving.
Urgency Stop
In case any emergency during the flight, press the button ‘urgency sky. the drone will land immediately.
WARNING: Any changes or modifications not expressly approved by the party responsible for compliance could void the users authority to operate this equipment.
NOTE: This equipment has been tested and found to comply with the limits for a Class B digital device, pursuant to Part 15 of the FCC Rules. These limits are designed to provide reasonable protection against harmful interference in a residential installation. This equipment generates uses and can radiate radio frequency energy and, if not installed and used in accordance with the instructions, may cause harmful interference to radio communications. However, there is no guarantee that interference will not occur in a particular installation. If this equipment does cause harmful interference to radio or television reception, which can be determined by turning the equipment off and on, the user is encouraged to try to correct the interference by one of the following measures:
- Reorient or relocate the receiving antenna.
- Increase the separation between the equipment and receiver.
- Connect the equipment into an outlet on a circuit different from that to which the receiver is connected.
- Consult the dealer or an experienced radio/TV technician for help.
Remote control FCC ID: 2AWUGA808 WIFI FCC ID: 2AWUGA808W This device complies with Part 15 of the FCC Rules. Operation is subject to the following two conditions: (1 this device may not cause harmful interference. and (2 this device must accept any interference received, including interference that may cause undesired operation.”
MADE IN CHINA
Rf exposure warning: This equipment complies with FCC: radiation exposure limits set forth for an uncontrolled environment. This equipment shall be installed and operated with a minimum distance 2(km between the radiator & body.
VS 1.1V MIS MANUAL
- Install app NS FPli” to mobile deice. Please scan folk/taring OR code to download app NS FPV and install it,a sea& ft tri Apple Appstora ar Goo& Play through tho app name NS FPr. then damload and install it.



https://play.google.com/store/apps/details?id=et.song.vspfv https://play.google.com/store/apps/details?id=et.song.vspfv https://www.pgyer.com/xob4 - Connect to Vat Camera
a. Pmver on the Crone lo pggier on the WiFi cancra.
b, press the setting button
of your mibel device to search WiFi AP named NSLCAM_—* and then connect it as pic 1

- Run the App” VS FPV”, Pic 2 should be shown on your mobile device.
- Press the button “CONNECT” to video and control interface like pic3
a, press button “Off’ to open control interface like pic4
b, press the button
to open the altitude hold mode control button.like pic5
c, press the Menu button,
to open remain control button like pic6 , - Press the “?” button to enter help information.like pic7,pic8,pic9,pic10

































