XRocker Carbon-Tek Chest of 3 Drawers
SAFETY INSTRUCTIONS
- PLEASE READ this sheet prior to assembly to familiarise yourself with the various stages of construction.
- Carefully open the pack supplied and check the contents against the parts and fittings check list. Do not destroy any of the packaging until you are certain that you have all the necessary parts for the assembly.
- CAUTION: There are small components used in the construction of this unit. These loose items should be kept away from young children whilst assembling your unit to avoid the danger of choking.
TOOLS BEING USED
Not Provided

Tools Required
Number of people
1 Hour Set Up
SAFETY INFORMATION
RETAIN THESE INSTRUCTIONS FOR FUTURE REFERENCE INFORMATION
- This product is designed to hold 60Kg in total. Do not exceed this weight.
- We recommend that this unit is assembled in the room intended for use.
- When you are ready to start, make sure that you have the right tools, plenty of space and a clean, dry area for assembly.
- Unwrap all packaging materials and place each component on top of the carton box or on a clean floor to prevent it from scratching.
- Check the pack and make sure you have all the parts listed.
- Ensure that this product is fully assembled as illustrated before use.
- Check all screws or bolts are tightened and inspect regularly.
- Tools are not included unless specified in the parts list.
WARNINGS
- This product should only be used on a firm and level floor.
- Keep small parts out of reach of children.
- Make sure the legs/base remain in contact with the floor.
- DO NOT use power tools to construct this product.
- DO NOT tighten screws until parts are assembled or as advised in this guide.
- DO NOT over tighten screws or bolts.
- DO NOT use this product if parts are missing, damaged or worn.
- DO NOT climb, sit or stand on the product.
- The product must be filled using of wall straps provided to avoid accidents and possible fatal injuries if the item falls over or tips over during use.
- If wall fixings are supplied, always ensure the wall area to be drilled is free of electrical wires, water and gas pipes. The wall fixing supplied are suitable for solid walls. For other types of wall suitable fixings must be obtained separately. If in doubt, please consult a qualified tradesperson.
CARE INFORMATION
- Never use scourers, abrasives, or chemical cleaners.
- To clean, wipe with a damp sponge and warm soapy water. Do not use solvent based cleaners or detergents as they can bleach or damage the product.

NEED HELP?
CONTACT
www.xrockeruk.com/pages/support
PACKAGE CONTENTS




| Code | Item | Quantity |
| 1 | Cam Bolt ((p6*35mm) | 38 |
| 2 | Cam Lock Op 15*10mm) | 38 |
| 3 | Wood Dowel ( (1) 6*40mm) | 12 |
| 4 | Screw Op7*50mm) | 2 |
| 5 | Screw ((p4*35) | 12 |
| 6 | Screw ((p4*12mm) | 38 |
| 7 | Shelf Pin ((p5*10) | 4 |

| 8 | Drawer Runner | 3 Set |
| 9 | Screwdriver (Not Provided) | 1 |
| 10 | Plastic Drawer Stop | 3 |
| 11 | Adhesive tape | 1 |
| 12 | Plastic Bracket | 8 |


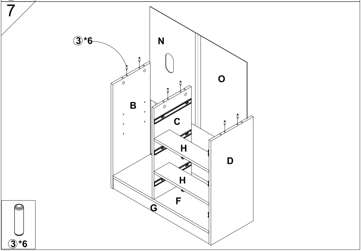
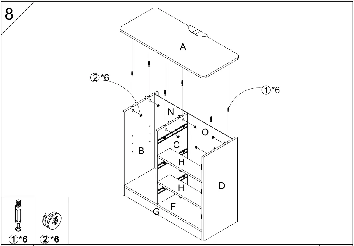
ASSEMBLY INSTRUCTIONS












Control panel operating instructions

- Press and hold the standby button to turn on the control panel.
- Press the standby button to toggle between the different color modes’.
- Press and hold the standby button to turn off the control panel.




















