
BXMY700E, BXMZ700E Microwave

User Manual
BXMY700E, BXMZ700E Microwave


Dear customer,
Many thanks for choosing to purchase a BLACK+DECKER brand product.
Thanks to its technology, design and operation and the fact that it exceeds the strictest quality standards, a fully satisfactory use and long product life can be assured.
♦ Read these instructions carefully before switching on the appliance and keep them for future reference. Failure to follow and observe these instructions could lead to an accident.
SAFETY ADVICE AND WARNINGS
♦ IMPORTANT SAFETY INSTRUCTIONS READ CAREFULLY AND KEEP FOR FUTURE REFERENCE.
♦ WARNING: If the door or door seals are damaged, the oven must not be operated until it has been repaired by a competent person.
♦ WARNING: It is hazardous for anyone other than a competent person to carry out any service or repair operation that involves the removal of a cover which gives protection against exposure to microwave energy.
♦ WARNING: Liquids and other foods must not be heated in sealed containers since they are liable to explode.
♦ This appliance is only for domestic use, not for industrial or professional use. It is not intended to be used by guests in hospitality environments such as bed and breakfast, hotels, motels, and other types of residential environments, even in farm houses, areas of the kitchen staff in shops, offices and other work environments.
♦ The appliance requires suitable ventilation in order to work properly. Leave a space of 20 cm above the appliance and 5 cm on either side.
♦ Only use utensils that are suitable for use in microwave ovens.
♦ Metallic containers for food and beverages are not allowed during microwave cooking.
♦ When heating food in plastic or paper containers, keep an eye on the oven due to the possibility of ignition.
♦ The microwave oven is intended for heating food and beverage. Drying of food or clothing and heating of warming pads, slippers, sponges, damp cloth and similar may lead to risk of injury, ignition or fire.
♦ If smoke is emitted, switch off or unplug the appliance and keep the door closed in order to stifle any flames.
♦ Microwave heating of beverages can result in delayed eruptive boiling; therefore care must be taken when handling the container.
♦ The contents of feeding bottles and baby food jars shall be stirred or shaken and the temperature checked before consumption, in order to avoid burns.
♦ Eggs in their shell and whole hardboiled eggs should not be heated in microwave ovens since they may explode, even after microwave heating has ended.
♦ Clean all the parts of the product that will be in contact with food, as indicated in the cleaning section, before use.
♦ The oven should be cleaned regularly and any food deposits removed.
♦ Failure to maintain the oven in clean condition could lead to deterioration of the surface that could adversely affect the life of the appliance and possibly result in a hazardous.
♦ The appliance shall not be cleaned with a steam cleaner.
♦ The microwave oven is intended to be used freestanding.
♦ The appliance shall not be placed in a cabinet.
♦ This appliance can be used by children aged from 8 years and above and persons with reduced physical, sensory or mental capabilities or lack of experience and knowledge
if they have been given supervision or instruction concerning use of the appliance in a safe way and understand the hazards involved.
♦ This appliance is not a toy. Children should be supervised to ensure that they do not play with the appliance.
♦ Cleaning and user maintenance shall not be made by children unless they are supervised.
♦ The temperature of the door and other accessible surfaces may be high when the appliance is in use.
♦ Do not use the appliance in association with a programmer, timer or other device that automatically switches it on.
♦ Do not remove the mica plate covering the wave guide.
♦ If the supply cord is damaged, it must be replaced by the manufacturer, its service agent or similar qualified person in order to avoid a hazard.
♦ This appliance is for household use only, not professional, industrial use.
♦ Ensure that the voltage indicated on the rating label matches the mains voltage before plugging in the appliance.
♦ Connect the appliance to a base with an earth socket withstanding a minimum of 10 amperes.
♦ The appliance’s plug must fit into the mains socket properly. Do not alter the plug. Do not use plug adaptors.
♦ Do not force the power cord. Never use the power cord to lift up, carry or unplug the appliance.
♦ Do not allow the power cord to hang or to come into contact with the hot surfaces of the appliance.
♦ Check the state of the power cord. Damaged or tangled cables increase the risk of electric shock.
♦ Do not touch the plug with wet hands.
♦ Do not use the appliance if the cable or plug is damaged.
♦ If any of the appliance casings breaks, immediately disconnect the appliance from the mains to prevent the possibility of an electric shock.
♦ Do not use the appliance if it has fallen on the floor, if there are visible signs of damage or if it has a leak.
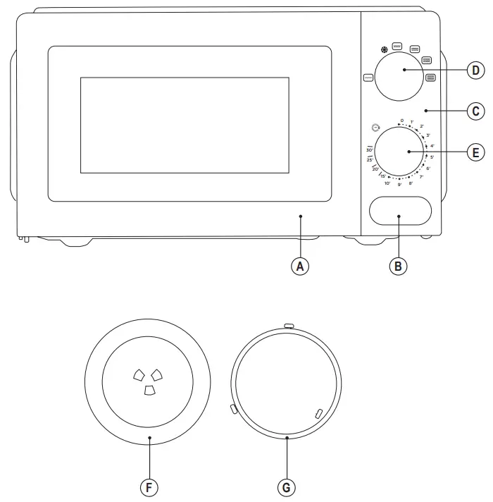
DESCRIPTION
A Door
B Opening button
C Command panel
D Power/Function Selector
E Timer
F Microwave Plate
G Plate wheels
H Grill Rack*
(*) only available in the model BXMZ700E
If the model of your appliance does not have the accessories described above, they can also be bought separately from the Technical Assistance Service.
USE AND CARE:
♦ Fully extend the appliance’s power cable before each use.
♦ Do not use the appliance when empty.
♦ Do not use the appliance if the on/off switch does not work.
♦ Disconnect the appliance from the mains when not in use and before undertaking any cleaning task.
♦ Make sure that dust, dirt or other foreign objects do not block the fan grill on the appliance.
♦ Use the appliance and its accessories and tools in accordance with these instructions, taking into account the working conditions and the work to be performed. Use the appliance for operations different from those intended could result in a hazardous situation.
♦ CAUTION: Do not use the appliance if the glass is cracked or broken.
Service:
♦ CAUTION: Maintenance or repair work, which requires only trained technicians, should carry out the removal of the microwave protection cover, as such actions are dangerous.
♦ Any misuse or failure to follow the instructions for use renders the guarantee and the manufacturer’s liability null and void.
INSTALLATION
♦ Be sure to remove all packaging material from inside the appliance.
♦ Do not cover or obstruct any of the openings of the appliance.
♦ The plug must be easily accessible so it can be disconnected in an emergency.
♦ Check the oven for any damage, such as misaligned or bent door, damaged door seals and sealing surface, broken or loose door hinges and latches and dents inside the cavity or on the door. If there is any damage, do not operate the oven and contact qualified personnel.
♦ Do not place anything over the Microwave.
♦ The appliance requires suitable ventilation in order to work properly. Leave a space of 20 cm above the appliance and 5 cm on either side.
Plate mounting
♦ Remove all carton and plastic from the inside of the appliance.
♦ Place the plate wheels (G) in the internal cavity of the Microwave oven by assuring that they stay inside of the recess on the interior base.
♦ Place the plate over the wheels by matching the center with the internal piece connected to the motor.
INSTRUCTIONS FOR USE
Before use:
♦ Make sure that all products’ packaging has been removed.
♦ Prepare the appliance according to the function you wish to use:
Open the door
♦ Push the opening button and the door will open automatically.
Microwave:
♦ Place the food in the appliance and close the door.
♦ 1. Choose the desired power by turning the power selector. The equivalent power are:
–
17%
–
33%
–
55%
–
77%
–
100%
Defrost Cooking
Defrost function allows you to defrost meat, fish and other foods.
– Turn the power/function selector the defrost position.
– Turn the timer to select the appropriate time.
Stop the Microwave
In order to stop the microwave temporarily, open the door.
In order to stop it completely, turn the timer to the position 0.
Combined Cooking
♦ Only available in BXMZ700E
This model has 3 combined functions:
20% microwave, 80% Grill. Use this function to cook fish or gratin food. Select this function by turning the function selector towards the symbol showed at the beginning of this sentence.
50% microwave, 50% Grill. Use this function to cook puddings or potatoes. Select this function by turning the function selector towards the symbol showed at the beginning of this sentence.
70% microwave, 30% Grill. Use this function to cook potatoes or chicken. Select this function by turning the function selector towards the symbol showed at the beginning of this sentence.
Once selected the function, turn the timer to the desired time to start cooking.
GRILL COOKING
♦ Only available in BXMZ700E
Grill function is useful for cooking thin slices of meat, kebabs, sausages or chicken. Also, to gratin dishes.
Select the grill function by turning the power selector the the grilling symbol. After that, select the time for start cooking with the appliance.
Once you have finished using the appliance:
♦ Clean the appliance.
CLEANING
♦ Disconnect the appliance from the mains and allow it to cool before undertaking any cleaning task.
♦ Clean the equipment with a damp cloth with a few drops of washing-up liquid and then dry.
♦ Do not use solvents, or products with an acid or base pH such as bleach, or abrasive products, for cleaning the appliance.
♦ Do not let water or any other liquid get into the air vents to avoid damage to the inner parts of the appliance.
♦ Never submerge the appliance in water or any other liquid or place it under running water.
♦ Remove the glass plate and the rotating ring for cleaning. Clean in hot, soapy water or in a dishwasher. Replace parts correctly.
♦ It is advisable to clean the appliance regularly and remove any food remains.
ANOMALIES AND REPAIR
♦ Take the appliance to an authorised technical support service if product is damaged or other problems arise.
Do not attempt to disassemble or repair the appliance yourself as this may be dangerous.
For EU product versions and/or in case that it is requested in your country:
Ecology and recyclability of the product
♦ The materials of which the packaging of this appliance consists are included in a collection, classification and recycling system. Should you wish to dispose of them, use the appropriate public recycling bins for each type of material.
♦ The product does not contain concentrations of substances that could be considered harmful to the environment.
This symbol means that in case you wish to dispose of the product once its working life has ended; take it to an authorised waste agent for the selective collection of Waste from Electric and Electronic Equipment (WEEE).
This appliance complies with Directive 2014/35/EU on Low Voltage, Directive 2014/30/EU on Electromagnetic Compatibility, Directive 2011/65/EU on the restrictions of the use of certain hazardous substances in electrical and electronic equipment and Directive 2009/125/EC on the ecodesign requirements for energy-related products.
Warranty and technical assistance
This product enjoys the recognition and protection of the legal guarantee in accordance with current legislation. To enforce your rights or interests you must go to any of our
official technical assistance services.
You can find the closest one by accessing the following web link: http://www.2helpu.com/
You can also request related information, by contacting us (see the last page of the manual).
You can download this instruction manual and its updates at http://www.2helpu.com/
United Kingdom & Republic Of Ireland
“Black & Decker
Slough, Berkshire SL1 3YD
210 Bath Road “
www.blackanddecker.co.uk
[email protected]
Tel. 01753 511234
ENGINEERING AND TECHNOLOGY FOR LIFE, S.L.
Avda. Barcelona s/n
Oliana, 25790, Spain
BXMY700E – BXMZ700E Black and Decker
References
2helpU
Elektrowerkzeuge | Gartengeräte | Haushaltsprodukte | BLACK+DECKER
Elektrisch gereedschap | Tuingereedschap | Huishoudproducten | BLACK+DECKER
Elektrowerkzeuge | Gartengeräte | Haushaltsprodukte | BLACK+DECKER
Power Tools | Garden Tools | Household Products | BLACK+DECKER
Elektrické nářadí | Zahradní elektrické nářadí | Domácí spotřebiče | BLACK+DECKER
Elektrowerkzeuge | Gartengeräte | Haushaltsprodukte | BLACK+DECKER
Elværktøj | Haveredskaber | Husholdningsprodukter | BLACK+DECKER
Herramientas Eléctricas | Herramientas de Jardin | Pequeños Electrodomésticos | BLACK+DECKER
Sähkötyökalut | Puutarhatyökalut | Kotitaloustuotteet | BLACK+DECKER
Bricolage | Outils de Jardin | Petit Electroménager | BLACK+DECKER
Ηλεκτρικά Εργαλεία | Εργαλεία Κήπου | Οικιακές συσκευές | BLACK+DECKER
Elektromos kéziszerszámok | Kerti készülékek | Háztartási készülékekBlack and Decker kereső
Elettroutensili | Utensili da giardino| Pulizia della casa | BLACK+DECKER
Elektrisch gereedschap | Tuingereedschap | Huishoudproducten | BLACK+DECKER
Elektroverktøy | Hageprodukter | husholdning produkterBLACK+DECKER
Elektronarzędzia | Narzędzia ogrodowe | Artykuły gospodarstwa domowego | BLACK+DECKER
Ferramentas Elétricas | Ferramentas de Jardim | Pequenos Eletrodomésticos | BLACK+DECKER
Elverktyg | Trädgård | Hushåll | BLACK+DECKER


















