
USER’S MANUAL
HR147W
To request a service call
Tel. 01759 487830
Or visit
www.appliancesupport.co.uk
1 Safety warnings
1.1 Warning

Warning: risk of fire / flammable materials
RECOMMENDATIONS:
This appliance is intended to be used in household and similar applications such as staff kitchen areas in shops, offices and other working environments; farm houses and by clients in hotels, motels and other residential type environments; bed and breakfast type environments; catering and similar non-retail applications.
Children should be supervised to ensure that they do not play with the appliance.
If the supply cord is damaged, it must be replaced by the manufacturer, its service agent or similarly qualified persons in order to avoid a hazard.
Do not store explosive substances such as aerosol cans with a flammable propellant in this appliance.
The appliance has to be unplugged after use and before carrying out user maintenance on the appliance.
WARNING: Risk of fire / flammable materials.
WARNING: Keep ventilation openings, in the appliance enclosure or in the built-in structure, clear of obstruction.
WARNING: Do not use mechanical devices or other means to accelerate the defrosting process, other than those recommended by the manufacturer.
WARNING: Do not damage the refrigerant circuit.
WARNING: Do not use electrical appliances inside the food storage compartments of the appliance, unless they are of the type recommended by the manufacturer.
WARNING: Please abandon the refrigerator according to local regulators for it use flammable blowing gas and refrigerant.
WARNING: When positioning the appliance, ensure the supply cord is not trapped or damaged.
WARNING: Do not locate multiple portable socket-outlets or portable power supplies at the rear of the appliance.
Do not use extension cords or ungrounded (two prong) adapters.
DANGER: Risk of child entrapment. Before you throw away your old refrigerator or freezer:
– Take off the doors.
– Leave the shelves in place so that children may not easily climb inside.
The refrigerator must be disconnected from the source of electrical supply before attempting the installation of accessory.
Refrigerant and cyclopentane foaming material used for the refrigerator are flammable. Therefore, when the refrigerator is scraped, it shall be kept away from any fire source and be recovered by a special recovering company with corresponding qualification other than be disposed by combustion, so as to prevent damage to the environment or any other harm.
For EN standard: This appliance can be used by children aged from 8 years and above and persons with reduce physical sensory or mental capabilities or lack of experience and knowledge if they have been given supervision or instruction concerning use of the appliance in a safe way and understand the hazards involved. Children shall not play with the appliance. Cleaning and user maintenance shall not be made by children without supervision.
For IEC standard: This appliance is not intended for use by persons (including children) with reduced physical, sensory or mental capabilities, or lack of experience and knowledge, unless they have been given supervision or instruction concerning use of the appliance by a person responsible for their safety.)
1.2 Meaning of safety warning symbols

This is a prohibition symbol.
Any incompliance with instructions marked with this symbol may result in damage to the product or endanger the personal safety of the user.
Prohibition symbol

This is a warning symbol.
It is required to operate in strict observance of instructions marked with this symbol; or otherwise damage to the product or personal injury may be caused.
Warning symbol

This is a cautioning symbol.
Instructions marked with this symbol require special caution.
Insufficient caution may result in slight or moderate injury, or damage to the product.
Note symbol
This manual contains lots of important safety information which shall be observed by the users.
- Do not pull the power cord when pulling the power plug of the refrigerator. Please firmly grasp the plug and pull out it from the socket directly.
- To ensure safe use, do not damage the power cord or use the power cord when it is damaged or worn.

- Please use a dedicated power socket and the power socket shall not be shared with other electrical appliances.
The power cord should be firmly contacted with the socket or else fires might be caused. - Please ensure that the grounding electrode of the power socket is equipped with a reliable grounding line.

- Please turn off the valve of the leaking gas and then open the doors and windows in case of leakage of gas and other flammable gases. Do not unplug the refrigerator and other electrical appliances considering that spark may cause a fire.

- Do not use electrical appliances on the top of the appliance, unless they are of the type recommended by the manufacturer.

1.4 Warnings for using
- Do not arbitrarily disassemble or reconstruct the refrigerator, nor damage the refrigerant circuit; maintenance of the appliance must be conducted by a specialist
- Damaged power cord must be replaced by the manufacturer, its maintenance department or related professionals in order to avoid danger.

- The gaps between refrigerator door and cabinet is small, be noted not to put your hand in these areas to prevent from squeezing the finger. Please be gentle when close the refrigerator door to avoid falling articles.
- Do not pick foods or containers with wet hands in the freezing chamber when the refrigerator is running, especially metal containers in order to avoid frostbite.

- Do not allow any child to get into or climb the refrigerator; otherwise suffocation or falling injury of the child may be caused.

- Do not place heavy objects on the top of the refrigerator considering that objectives may fall when open or close the door, and accidental injuries might be caused.
- Please pull out plug in case of power failure or cleaning. Do not connect the freezer to power supply within five minutes to prevent damages to the compressor due to successive starts.

1.5 Warnings for placement
- Do not put flammable, explosive, volatile and highly corrosive items in the refrigerator to prevent damages to the product or fire accidents.
- Do not place flammable items near the refrigerator to avoid fires.

- The refrigerator is intended for household use, such as storage of foods; it shall not be used for other purposes, such as storage of blood, drugs or biological products, etc.

- Do not store beer, beverage or other fluid contained in bottles or enclosed containers in the freezing chamber of the refrigerator; otherwise the bottles or enclosed containers may crack due to freezing to cause damages.

1.6 Warnings for energy
1) Refrigerating appliances might not operate consistently (possibility of defrosting of contents or temperature becoming too warm in the frozen food compartment) when sited for an extended period of time below the cold end of the range of temperatures for which the refrigerating appliance is designed.
2) The fact that effervescent drinks should not be stored in food freezer compartments, and that some products such as water ices should not be consumed too cold;
3) The need to not exceed the storage time(s) recommended by the food manufacturers for any kind of food and particularly for commercially quick-frozen food in freezer ;
4) The precautions necessary to prevent an undue rise in the temperature of the frozen food while defrosting the refrigerating appliance, such as wrapping the frozen food in several layers of newspaper.
5) The fact that a rise in temperature of the frozen food during manual defrosting, maintenance or cleaning could shorten the storage life.
6) The necessity that, for doors or lids fitted with locks and keys, the keys be kept out of the reach of children and not in the vicinity of the refrigerating appliance, in order to prevent children from being locked inside
1.7 Warnings for disposal

Refrigerant and cyclopentane foaming material used for the refrigerator are flammable.
Therefore, when the refrigerator is scrapped, it shall be kept away from any fire source and be recovered by a special recovering company with corresponding qualification other than be disposed by combustion, so as to prevent damage to the environment or any other harm.

When the refrigerator is scrapped, disassemble the doors, and remove the seal of the door and shelves; put the doors and shelves in a proper place, so as to prevent trapping of any child.

Correct Disposal of this product:
This marking indicates that this product should not be disposed with other household wastes throughout the EU. To prevent possible harm to the environment or human health from uncontrolled waste disposal, recycle it responsibly to promote the sustainable reuse of material resources. To return your used device, please use the return and collection systems or contact the retailer where the product was purchased. They can take this product for environmental safe recycling.
2 Proper use of refrigerators
2.1 Placement
- Before use, remove all packing materials, including bottom cushions, foam pads and tapes inside of the refrigerator; tear off the protective film on the doors and the refrigerator body.

- Keep away from heat and avoid direct sunlight. Do not place the freezer in moist or watery places to prevent rust or reduction of insulating effect.
- Do not spray or wash the refrigerator; do not put the refrigerator in moist places easy to be splashed with water so as not to affect the electrical insulation properties of the refrigerator.

- The refrigerator is placed in a well-ventilated indoor place; the ground shall be flat, and sturdy (rotate left or right to adjust the wheel for leveling if unstable).

- The top space of the refrigerator shall be greater than 30cm, and The refrigerator should be placed against a wall with a free distance more than 10cm to facilitate heat dissipation.

Precautions before installation:
Information in the Instruction Manual is only for reference. The physical product may differ. Before installation and adjusting of accessories, it shall be ensured that the refrigerator is disconnected from power.
Precautions shall be taken to prevent fall of the handle from causing any personal injury.
2.2 levelling feet
Schematic diagram of the levelling feet

(The picture above is only for reference. The actual configuration will depend on the physical product or statement by the distributor)
Adjusting procedures:
a. Turn the feet clockwise to raise the refrigerator;
b. Turn the feet counterclockwise to lower the refrigerator;
c. Adjust the right and left feet based on the procedures above to a horizontal level.
2.3 Door Right-Left Change
| List of tools to be provided by the user | |||
![]() | Cross screwdriver | ![]() | Putty knife thin—blade screwdriver |
![]() | 5/16″ socket and ratchet | ![]() | Masking tape |
1) Power off the refrigerator, and remove all objects from the door trays.
2) Fix the door by tape.

3) Unscrew the top cover screws, Remove the top cover

4) Unscrew screws of upper hinge. Remove the upper hinge.
5) Remove the door. Unscrew screws of bottom hinge, remove bottom hinge and levelling feet.

6) Fix the levelling feet, bottom hinge in the opposite side.
7) Assemble the door stopper and axle sleeve in the opposite side.

8) Put down the door on bottom hinge vertically.
Fix the upper hinge, fix top cover of refrigerator.

2.4 Changing the Light
- The fridge lights are energy efficient, long life LEDs. Therefore, they should not need replacing throughout the life of the product. In the unlikely event it does fail then it will need to be replaced by a qualified engineer.
2.5 Starting
- Before initial start, keep the refrigerator still for half an hour before connecting it to power supply.
- Before putting any fresh or frozen foods, the refrigerator shall have run for 2-3 hours, or for above 4 hours in summer when the ambient temperature is high.

- Spare enough space for convenient opening of the doors and drawers or statement by the distributor.

2.6 Energy saving tips
- The appliance should be located in the coolest area of the room, away from heat producing appliances or heating ducts, and out of the direct sunlight.
- Let hot foods cool to room temperature before placing in the appliance. Overloading the appliance forces the compressor to run longer. Foods that freeze too slowly may lose quality, or spoil.
- Be sure to wrap foods properly, and wipe containers dry before placing them in the appliance. This cuts down on frost build-up inside the appliance.
- Appliance storage bin should not be lined with aluminum foil, wax paper, or paper toweling. Liners interfere with cold air circulation, making the appliance less efficient.
- Organize and label food to reduce door openings and extended searches. Remove as many items as needed at one time, and close the door as soon as possible.
3 Structure and functions
3.1 Key components

- Door tray
- Fruits and vegetables box
- Glass shelf
- Temperature-control knob
- Lamp
- Small door
(The picture above is only for reference. The actual configuration will depend on the physical product or statement by the distributor)
Refrigerating chamber
- The Refrigerating Chamber is suitable for storage of a variety of fruits, vegetables, beverages and other food consumed in the short term.
- Cooking foods shall not be put in the refrigerating chamber until cooled to room temperature.
- Foods are recommended to be sealed up before putting into the refrigerator.
- The glass shelves can be adjusted up or down for a reasonable amount of storage space and easy use.
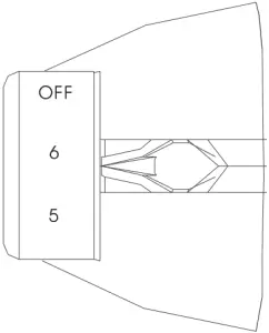
Temperature-control knob

(The picture above is only for reference. The actual configuration will depend on the physical product or statement by the distributor)
- The temperature selector knob is located on the right hand side wall of the refrigerator interior
- The number “1, 2, 3, 4, 5, 6” do not mean a specific temperatures, the lower the number is, the higher the temperature inside will be and verse versa.
- When the thermostat control knob is set to OFF, the refrigerator will not be running.
4. Maintenance and care of the appliance
4.1 Overall cleaning

- Dusts behind the refrigerator and on the ground shall be timely cleaned to improve the cooling effect and energy saving. The interior of the refrigerator should be cleaned regularly to avoid odor. Soft towels or sponge dipped in water and non-corrosive neutral detergents are suggested for cleaning. The freezer of shall be finally cleaned with clean water and dry cloth. Open the door for natural drying before the power is turned on.
- Do not use hard brushes, clean steel balls, wire brushes, abrasives, such as toothpastes, organic solvents (such as alcohol, acetone, banana oil, etc.), boiling water, acid or alkaline items clean refrigerator considering that this may damage the fridge surface and interior.
- Do not rinse with water so as not to affect the electrical insulation properties.
Please unplug the refrigerator for defrost and cleaning.
4.2 Defrosting
- Power off the refrigerator.
- Remove the food from the refrigerator and place it properly to prevent food from melting.
- Clear the drain pipe (to use soft materials to prevent damage to the liner), Prepare the water containers for defrosting.
(pay attention to clean the compressor compartment water draining tray, Avoiding overflow to the ground). - You can use the natural temperature for the natural defrost, you can also use the ice shovel to eliminate the frost (to use plastic or wooden ice shovel, for avoiding damage to the liner or pipe)
- You can also use the appropriate amount of hot water to speed up the defrost, with a dry towel to dry the water after defrosting.
- After defrosting, put back the foods in cabinet, and power on the refrigerator.
4.3 Out of operation
- Power failure: In case of power failure, even if it is in summer, foods inside the appliance can be kept for several hours; during the power failure, the times of door opening shall be reduced, and no more fresh food shall be put into the appliance.
- Long-time nonuse: The appliance shall be unplugged and then cleaned; then the doors are left open to prevent odor.
- Moving: Before the refrigerator is moved, take all objects inside out, fix the glass partitions, vegetable holder, freezing chamber drawers and etc. with tape, and tighten the leveling feet; close the doors and seal them with tape. During moving, the appliance shall not be laid upside down or horizontally, or be vibrated; the inclination during movement shall be no more than 45°.
The appliance shall run continuously once it is started. Generally, the operation of the appliance shall not be interrupted; or otherwise the service life may be impaired
5. Trouble shooting
5.1 You may try to solve the following simple problems by yourself.
If them cannot be solved, please contact the after-sales department.
| Not refrigerating | Is the appliance connected to the mains Is the plug securely in the socket Is there a power failure has the circuit tripped |
| Odor | Odorous food should be tightly wrapped Check if there is any rotten food in the refrigerator Clean the inside of the fridge |
| Long-time operation of the compressor | Long operation of the refrigerator is normal in summer when the ambient temperature is high It is not advised to have too much food in the appliance at one time The food should be cool before putting in the appliance The doors are opened too frequently |
| Interior light not working | Check whether the refrigerator is connected to power supply and Whether the interior light is damaged Have the light replaced by a specialist |
| Doors cannot be properly closed | Obstruction of food in the door way too much food inside the appliance The refrigerator is tilted |
| Noises | Check whether the floor is level and whether the refrigerator is placed stably Check whether accessories are placed at proper locations |
| Door seal fails to be tight | Remove foreign matters on the door seal Heat the door seal and then cool it for restoration (or blow it with an electrical drier or use a hot towel for heating) |
| Water pan overflows | There is too much food in the chamber or food stored contains too much water, resulting in heavy defrosting The doors are not closed properly, resulting in frosting due to entry of air and increased water due to defrosting |
| Hot housing | Heat dissipation of the built-in condenser via the housing, which is normal When housing becomes hot due to high ambient temperature storage of too much food or shutdown of the compressor is shut down provide sound ventilation to facilitate heat dissipation |
| Surface condensation | Condensation on the exterior surface and door seals of the refrigerator is normal when the ambient humidity is too high. Just wipe the condensate with a clean towel |
| Abnormal noise | Buzz: The compressor may produce a buzzing noise during operation and the buzzes are loud particularly upon start or stop. This is normal Creak: Refrigerant flowing inside of the appliance may produce a buzzing noise which is normal |
























