
Galcon 7101BT
Bluetooth Irrigation Controller with inline valve
Completely Waterproof IP – 68
Pairing Your Smartphone with Galcon Controllers
Pairing is required only once. After the initial pairing, the app. syncs automatically with the controller.
Follow these steps to pair your smartphone: Insert appropriate batteries to the controller.
- Download and install the Galcon BT application from the stores or by scanning the barcode.
- If the app prompts you to turn on Bluetooth, tap OK to confirm*. The welcome screen is displayed.
- Under unpaired timers, tap the name of your controller’s model. If no controller is shown, tap scan for timers.
https://5thwheel.life/pages/contact-us|
Please Note!
The pairing code will appear on the irrigation controller screen for about 10 seconds only
* Enable location on your smartphone - On the controller, a Bluetooth icon is displayed, followed by a 4-digit code.
- Type in the pairing code and then tap ok. When the pairing is complete, the phone and the controller are connected, and the app screen is displayed.

Troubleshooting
Check out the following options:
- Make sure you give permission to ‘Location Services’ when installing the app
- Make sure that ‘Location Services is turned on
- Go to the Bluetooth settings on the phone, and make sure the controller is in the list of devices
– If the controller does not appear in the list, restart the controller
– If the controller appears in the list, turn it off and turn on Bluetooth on the phone - Close the app (which will also not run in the background) and restart it
- If the controller appears in the app but is unable to connect, try connecting with another phone to identify the problem
Resetting the controller
9001BT
Simultaneously press
for 5 seconds.
7101BT
Simultaneously press
for 5 seconds.
11000BT
Simultaneously press
for 5 seconds.
6100BT
Simultaneously press
for 5 seconds.
8000BT
Simultaneously press
for 5 seconds.
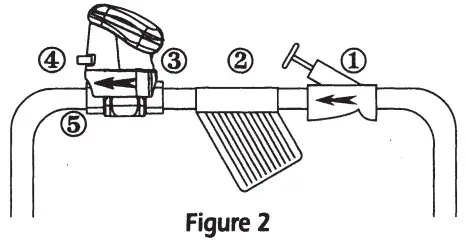
Parts Identification

- Top cover
- Controller display |
- Mechanical operating handle
- Programming & operating buttons
- Water flow direction arrow
- Skirt
- Hydraulic valve
Setting Up the Irrigation Controller
Note: Before assembling the controller flush the irrigation system
Installing the Controller in the Irrigation System
When installing the controller (4) in the irrigation system, a filter (2) (not included) must also be installed between the main irrigation system valve (1) and the controller. Screw the swivel fitting (3) (not included) of the hydraulic valve onto the filter and use the nipple fitting (5) to connect the other end to the irrigation system.

Battery Installation
- Holding the upper section of the controller above the mechanical handle, use a firm upward twist to release the controller from the skirt.

- Invert the controller and use firm pressure to lift the battery compartment cover (1).
- Insert the lower end of the battery (2) first, then press on the top end (3) to ensure the battery is firmly in place.
Use alkaline batteries only.
Note: battery polarity is marked in the battery compartment
- The return battery compartment covers to its proper place, ensuring a triangle is formed on the underside of the controller.

Battery Removal (for replacement):

- Remove the battery compartment cover (1).
- Lift the lower end of the battery (2) first. If necessary, use the flat end of a small screwdriver.
Removing batteries from the top end may damage the connectors.
Irrigation Programming
This section contains examples of weekly and cyclical irrigation programs. Simply alter data in the examples to adapt the program to meet your irrigation requirements.
Programming Method
The Computerized Irrigation Controller is programmed with the aid of 4 buttons:
Programming step – used to select the appropriate programming mode (e. g. clock setting mode).
Parameter selection – used to select the parameter to be changed (e. g. hour, minute, etc). To implement the change, the selected parameter must be blinking.
Data increment (increase) – raises the value of the selected parameter (e. g. adds on an hour).
Data decrement (decrease) – lowers the value of the selected parameter (e. g. deducts an hour).
* If no changes are implemented, the controller display will always revert to the main screen (clock).
* Emergency Irrigation: If no buttons are pressed, the clock will blink continuously. After 10 minutes, the controller will implement 5- minute irrigation on a 24- hour cycle.
3.2 Setting Current Time & Day of the Week
To enable the irrigation controller to operate the irrigation system at the required times, the current time and day of the week must be set as shown below:
Setting tote Clock:
- Press
several times until
apears - Press
The hour digits blink. Set the current hour with the aid of
and
.
(Note: AM and PM designations appear.)
- Press
The minute digits blink. Set the current minute with the aid of
and
. For a military clock display, press concurrently on
and
buttons once the hour digits stop blinking. Pressing these buttons again will revert the display back to AM/ PM.
Setting the Day of the Week:
- Press
until a blinking drop appears at the top of the display. - Set the drop_ on the current day of the week by pressing on
and
.
* Display digits will stop blinking after 10 seconds. If the last parameter stops blinking before you have completed your programming, press
to continue the process.
3.3 Programming a Weekly Irrigation Schedule (Set Days of the Week)
Let’s assume that we want to program the irrigation controller to water three times a day, at 8: 00 a. m., 1: 00 p. m. and 7: 00 p. m., for 10 minutes each time, on Tuesday and Friday.
Frog Duration of Irrigation:
- Press
unta
appears opposite “Duration”. The hour its blink (0) - Press on
or
to change the watering duration as in the ale. - Press
The minute digits w blink. Press
on
or until the minute digits reach 10.

ProgrammingIrrigation Days:
- Press
.
will appear opposite the word ‘Days’. If you are programming the controller for the first time, the word OFF will blink on the display.
- Press
. A blinking 6 will appear under Monday in the upper section of the display. Using
, position the blinking marker under Tuesday, and press
. The marker under Tuesday will stop blinking and another marker will start blinking under Wednesday. Press
twice more until the blinking marker reaches Friday.
again.
Setting Irrigation Start Time/ Date:
- Press
. START! will appear on the display. If you are programming the controller for the first time, the word OFF will blink on the display. Press
or
The hour display will start blinking.
- Using
or
, set the start time at 8: 00 AM (note the AM and PM indicators). Repeat this operation for the second irrigation period (STARTII) at 1:00 PM, and for the third irrigation period (START III) at 7: 00 PM. - Press
. START will appear on the display. Presse
. The hour digits will blink. - Press
or
until the word OFF appears on the display. The fourth irrigation start is canceled.
3.4 Setting a Cyclical Irrigation Program
Let’s assume that we want to program the irrigation controller to open the valve at 10: 45 a. m., for a period of 1.5 hours, once every three days, starting on Tuesday.
Before setting a cyclical irrigation program you must clear irrigation days until the word OFF appears.
Setting Irrigation Duration:
- Press
until
appears near ‘Duration’. The hour igits blink. - Press
or
until the hour digit changes to 1. Press
The minute digits blink. Press
or
until the minute digits change to 30.

Setting Irrigation Cycle:
- Press
until
, appears, and the word OFF blinks one display. - Press
until 3 DAYS appears on the display and the digit 3 is blinking.

Setting Irrigation Start Time/ Date:
- Press
. START will appear and the start time will blink. - Press
or
until the hour displayed reads 10 AM. - Press
once. The minute display will blink. - Press
or
until the minutes displayed reach 45. - Press
once. The marker under Monday will blink. - Press
once. The blinking marker will indicate Tuesday.

Note: in a cyclical program, the irrigation days are liable to vary from week to week because of cycle length. If you wish to change the irrigation program to a weekly program you must set the cycle on OFF mode.
3.5 Computerized Manual Operation
This option operates the valve for the defined irrigation period. The valve will close automatically at the end of the irrigation period. Note that the originally programmed irrigation schedule will continue to function at the set times. This setting cannot be implemented when the display is blinking.
Operation: Pressw
will appear next to the word `Manual’, and
will appear underneath it. The days of the week and the irrigation duration set in the program will appear on the display. A reverse ‘countdown’ of the irrigation duration will appear on the display while the program is implemented.( This display will appear also during automatic irrigation).
Canceling Operation: Press
Oagain. The tap and hand symbols will disappear from the display.
* If the irrigation duration is set at zero (0: 00), irrigation will not occur.
* Manual irrigation cannot be performed when the controller is set for programming (the display is blinking).
3. 6 Irrigation Controller Suspension
This option is used to temporarily suspend irrigation controller operation, for example, while it is raining. The irrigation operation schedule remains in the controller memory but is not implemented until the suspension is canceled.
Suspension: Press
for 3 consecutive seconds until the symbol
appears.
Cancel Suspension: Press;
for 3 consecutive seconds to return irrigation system control to the irrigation controller. The
symbol will disappear.
* During the suspension, the
button will not function.
Additional Displays
4. 1 Blinking Low Battery Warning
A blinking battery icon (
) appears on the display when the batteries are weak. At this point, the battery still contains a limited amount of energy for valve operation. The battery should be replaced promptly. If the battery is not replaced, the irrigation controller will continue to open the valve 8 times according to the program. It will then suspend the program and OFF will appear on the screen. Program data will be retained for 30 seconds during battery changing.
4. 2 Programming Error
In the cyclical program (see section 3. 4) if the irrigation duration programmed is equal to or longer than the irrigation cycle, the word Err will appear. To cancel the error, press
to increase the irrigation cycle.

Manual Mechanical Operation
The irrigation can be opened and closed independent of controller operation. Manual operation is useful when irrigation required immediately but there is inadequate time and/ or knowledge for programming or the battery is unavailable. The manual operating handle is located in the back, lower section of the skirt.
The mechanical opening lever is black. The lever has 3 positions:
- AUTO – mid position
- CLOSE – rotating clockwise, in any position
- OPEN – rotating counterclockwise
In normal working conditions, the lever should be in the middle, position AUTO.
* If it is necessary to replace the solenoid, do not disassemble the blue ring underneath
Maintenance
* Remove batteries if the irrigation controller will not be used for a prolonged period.
* Installation of a filter upstream to the irrigation controller valve is essential. Clean the filter once every few months. Operating the controller without a filter is liable to cause malfunctions in the system.
* Under normal usage, the battery (alkaline) should last for at least one year.
* Recommended water pressure: 1 — 8 ATM (bar). If a pressure regulator is required, it should be installed upstream to the irrigation controller.
SENSOR CONNECTION
The controller is compatible with dry contact preventing sensor. Preventing sensors are ones that prevent the operation of the system when the relevant conditions come to exist. For example, if the controller is connected to a rain sensor, irrigation will operate as long as the sensor is dry. When it starts raining the sensor will immediately stop the irrigation from working and the sensor light will show.
SENSOR INSTALLATION
Different types of sensors can be installed: Rain sensor, Temperature sensor etc. The sensor type must be N.C. (Normally closed).
To install:
- Cut the yellow wire in the middle (do not strip the wires).
- Join each yellow wire end to the sensor wire with the waterproof connector.
LIMITED WARRANTY CERTIFICATE AND TERMS OF SERVICE FOR “GALCON SMART PRODUCTS (GSI, CYBER RAIN, 7101BT, 9001BT, 11000BT)”
- Galcon sells the “Galcon Smart” irrigation controllers (“the products”) and provides associated product software in means of browser-based software and/or mobile application software and/or client-based software and/or any other software that is provided with the product (“the Product Software”) and certain services (“the Services”) through Galcon’s Web Site (www.galconc.com) and/or through any mobile phone and devices application download center and/or through self-installation software (“the Site”). This Limited Warranty Certificate and Terms of Service (“these Terms”) constitute a legal agreement between Galcon and the original purchaser of the Product (“the Customer”), and shall govern the Customer’s access and use of the Services and the Product. By accessing the Site and/or by using the Services and/or the Product, the Customer agrees that he has read, understood, accept, and agree to be bound by these Terms. If the Customer does not agree with any of the provisions of these Terms, the Customer must not access or use the Services and/or the Product.
- Galcon shall, for a limited period of 36 months from the retail purchase date of the original (first) purchaser (“the Warranty Period”), provide a limited warranty for the Product(s) and the Services, as provided for and subject to the provisions and limitations of these Terms. Without derogating from the foregoing, Galcon does not take any obligation to provide the Services (or any part therefrom) beyond the Warranty Period.
- Galcon’s Warranty for the Product and/or the Services only extends to the Customer who, upon requesting warranty service, must present Galcon with a valid and dully signed contract with Galcon (or any of its authorized dealers) together with a valid purchase receipt. Failure to produce the said documentation will result in the request for warranty being null and void.
- Galcon warrants to the Customer that the Product shall materially conform to the description in Galcon’s documentation and shall be free from defects in material and workmanship. Accordingly, the Customer’s sole and exclusive remedy under this warranty is the repair or — to Galcon’s sole discretion — the replacement of the Product or any parts according to the terms of this Warranty, and no other remedy shall be available. Therefore, if – within the Warranty Period -the Product is proven to be defective by reason of faulty workmanship or materials by Galcon, Galcon undertakes, with reasonable promptness, to have the defective Product (or any parts thereof) repaired, or at Galcon’s discretion, replaced; All subject to the terms and conditions of these Terms.
- Galcon’s warranty for the Product and/or the Services and/or otherwise, shall not apply to any of the following:
(i) any conduct (by act or omission) not by Galcon, including any misuse/abuse of any Product and/or the Services (or parts thereof), and/or any failure to install and/or use any Product in full compliance with Galcon’s instructions;
(ii) other systems/components/devices/technologies and/or the integration/interface thereof with any Product.;
(iii) any part/component which has been included/installed in any Product not at Galcon’s approval and/or other than by Galcon;
(iv) any actual or attempted change/repair/interference of with any Product (including any use/handling of, and/or interference/dealing with, any code of any software included/used in the Product) other than by Galcon;
(v) any data/information/content which has been inserted/included in a Product and/or the Services;
(vi) malfunction or damage resulting from accidents, which occur during transit and/or handling, and/or malfunction or damage due to fire, earthquake, flood, lightning and/or any other external disaster;
(vii) unforeseen accidents, wear and tear, or any other external factors beyond Galcon’s reasonable control, or to any Product installed, repaired, adjusted, rebuilt, modified, changed or converted by any person (including the Customer) other than Galcon; - In addition and without derogating from the provisions of these Terms, Galcon’s warranty and the Customer’s rights to use/access the Services and/or the Site, is conditioned upon the all of following Customer’s undertakings taking place:
(i) Customers operating and maintaining the Product and/or the Services in accordance with Galcon’s instructions;
(ii) Customer’s not being in default of any payment obligation to the Galcon (or its authorized dealer, as relevant);
(iii) the Customer shall not license, sell, rent, lease, transfer, assign, distribute, host, or otherwise commercially exploit the Services;
(iv) the Customer shall not to modify, make derivative works of, disassemble, reverse compile, or reverse engineer any part of the Services;
(v) the Customer shall not to access the Services and/or the Site in order to build a similar or competitive service;
(vi) except as expressly stated herein, no part of the Services may be copied, reproduced, distributed, republished, downloaded, displayed, posted, or transmitted in any form or by any means;
(vii) the Customer shall not upload, transmit, or distribute any computer viruses, worms, or any software intended to damage or alter a computer or communication network, computer, handheld mobile device, data, the Services, the Product, the Product Software, or any other system, device or property;
(viii) the Customer shall not interfere with, disrupt, or attempt to gain unauthorized access to, the Site, the servers or networks connected to the Services or violate the regulations, policies, or procedures of such networks;
(ix) the Customer shall not access (or attempt to access) any of the Services by means other than through the interface that is provided by Galcon;
(x) the Customer shall not remove, obscure or alter any proprietary rights notices (including copyrights and trademark notices) which may be contained in or displayed in connection with the Services;
(xi) any use or access by anyone under the age of IS is prohibited. - Subject to these Terms, as well as additional guidelines, terms, or rules referred to in this document and incorporated by reference into these Terms, Galcon grants the Customer a non-transferable, non-exclusive, limited right (without the right to sublicense) to use the Services for the Warranty Period only and solely for the purpose of controlling and monitoring the Product installed on Customer’s property.
- Galcon does not give any warranty or guarantee whatsoever in respect of any Product or Services (or any part/s thereof) which has not been manufactured and distributed by Galcon and which has not been purchased from Galcon or any of its authorized dealers, whether such products are branded with any trademarks similar to any trademark belonging to or used by Galcon.
- After replacement or repair of the Product, the Warranty for the new or repaired Product shall be valid only for the non-expired period of the original Warranty Period. Any defective Products or part/s, which has been replaced, shall become Galcon’s property.
- Galcon reserves the right to charge the Customer if any warranty service is requested and carried out but no fault is found in the Product or if such defect/fault is not under Galcon’s Warranty.
- Notwithstanding anything to the contrary, Galcon shall not be responsible and/or liable, under any circumstances and in any way, for any loss, damage, costs, expenses, expenditures, responsibility, and/or liability (including of Customer and/or any third party) — including (without limitation) direct and/or indirect (including incidental and/or special and/or consequential), however arising, including in respect of damages to or loss of property and/or equipment, loss of profit, loss of use, loss of revenue or damages to business or reputation, whether or not based on breach of contract, tort (including negligence), product liability or otherwise – arising from the performance or non-performance of any aspect of the Services and/or the Product and/or access to Site or any part thereof; All of the above, whether or not Galcon and/or the Customer shall have been made aware of the possibility of such loss.
- In any event, any liability which Galcon may have in connection with the Product and/or the Services and/or access to Site and/or these Terms, including (without limitation) in connection with and/or resulting from the Product (or any part thereof) and the use thereof and/or the Services, shall be limited to a total amount (for all damages, claims and causes of action in the aggregate) equal to the consideration actually received by Galcon from the Customer for the Product. The limitations shall apply whether the liability is based on contract, tort, strict liability or any other theory.
- The Customer warrants and agrees, that Galcon owns and shall continue to own all title, rights, and other interests (including all intellectual property rights) in connection with the Product, the Site, the Services, and all content available through the Site, including any and all trademarks, service marks, and logos contained therein. The provision of the Product, the Product Software, and/or the Services does not transfer to the Customer or any third party any rights, title, or interest in or to such intellectual property rights. The Customer may not copy, further develop, reproduce, republish, modify, alter, download, post, broadcast, transmit, or otherwise any material made available in the Site or the Services.
- The customer creates data when he uses the service that is related to programming the product. The customer hereby provides Galcon with a license to use, upload, display, copy, manipulate, and store any data that the Customer shall create/insert when he uses the Services and/or the Product. The customer acknowledges and agrees that he shall always remain solely responsible and liable for the said data.
- Galcon has no obligation to accept, display, review or maintain any Customer Content. Moreover, Galcon reserves the right to edit, delete, distort or move Customer’s content from the Site and/or Services without notice for any reason at any time. Any submitted Customer’s content shall not be considered confidential and may be disseminated by Galcon without any compensation to the Customer. The customer’s content may be available to the public, and the Customer should have no expectation of privacy with respect to its content. The Customer acknowledges that he provides his personal information at its own risk.
- The Customer warrants and agrees, that the Provision of Services is dependent upon the receipt of information from a variety of third-party sources, including with respect to weather data, and therefore cannot guarantee the accuracy of such information. The site and services are provided on an AS IS and on an available basis without warranties of any kind from Gakuen. The use of the Site, the Product, and/or the Services is at the Customer’s sole risk.
- Galcon is not responsible for any problems or technical malfunction of any telephone network or lines, wireless network of any kind (Wifi, Cellular, Bluetooth, or other) computer online systems, servers or providers, computer equipment, or software due to technical problems or traffic congestion on the internet or on the Services and/or the Site. Under no circumstances shall Galcon be responsible for any loss or damage resulting from the use of the Product, Site, and/or the Services.
- Galcon may suspend or terminate the Services and/or the Customer’s account at any time upon written notice to the Customer that the Customer breaches these Terms and, to the extent that the breach can be cured, the Customer does not cure that breach within 14 (fourteen) days.
- This Warranty and the remedies set forth herein are exclusive and in lieu of all other warranties, remedies, and conditions, whether oral, written, statutory, express or implied. GALCON SPECIFICALLY DISCLAIMS ANY AND ALL STATUTORY OR IMPLIED WARRANTIES, INCLUDING, WITHOUT LIMITATION, WARRANTIES OF MERCHANTABILITY AND FITNESS FOR A PARTICULAR PURPOSE AND WARRANTIES AGAINST HIDDEN OR LATENT DEFECTS.
- The Customer shall be solely responsible for the selection, use, efficiency, and suitability of the Product(s).
- The provisions of this Limited Warranty Certificate shall be interpreted and governed, solely and exclusively, pursuant to the laws of the State of Israel, and no other law shall apply. Any and all legal actions shall be litigated within the jurisdiction of the courts of Israel, and no other jurisdiction shall apply. The customer waives any objection to such jurisdiction and venue on the basis of it being an inconvenient forum.
04-6900222
www.galconc.com | [email protected]
GDb8b2.1


























