ridetech 12327199 1965 to 1972 Ford F100 Rear Bolt On 4 Link Suspension System

Recommended Tools


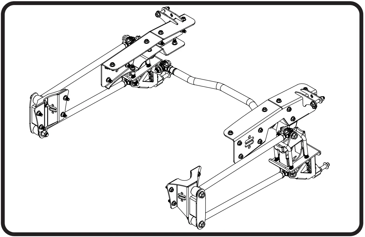
Major Components
…..In the box
| Item # | Part Number | QTY | Description |
| 1 | 90003403 | 1 | 65-72 F100 Driver C-Notch |
| 2 | 90003404 | 1 | 65-72 F100 Passenger C-Notch |
| 3 | 90003405 | 1 | 65-72 F100 Driver Lower Bar Ax |
| 4 | 90003406 | 1 | 65-72 F100 Passenger Lower Bar |
| 5 | 90003407 | 2 | 65-79 F100 Upper Axle Bar Mount |
| 6 | 90003408 | 2 | 65-72 F100 4-Link Bar Mount |
| 7 | 90002820 | 2 | BARTW21.750 Parallel 4-link bar |
| 8 | 90003409 | 2 | BARTW 22.00 SET LENGTH 23.875 |
| 9 | 90003410 | 1 | 65-72 F100 Panhard Bar Assembly |
| 10 | 90001318 | 5 | PE – R-Joint 3/4-16 RH x 5/8 B |
| 11 | 99752004 | 5 | 3/4-16 HEX FIN JAM NUT ZINC |
| 12 | 90001086 | 2 | DAYM03519-BK Black poly bushing |
| 13 | 90002895 | 1 | .625ID X .750OD X 2.00L INNER |
| 14 | 70013334 | 2 | R-Joint Spacer – 5/8″ ID |
| 15 | 90001624 | 2 | SKW005 Aluminum SKW 4-link mount |
| 16 | 90001617 | 2 | S0001 5/8″” od shock stud |
| 17 | 90002067 | 4 | Aluminum Spacer – .625″ I.D. x .450″ |
| 18 | 99626005 | 4 | U-Bolt 5/8-18 3.13W x 6.06L, |
| 19 | 90002043 | 4 | Aluminum Spacer, .500″ ID x .365″ |
| 20 | 70013882 | 16 | R-Joint Spacer – 5/8″ ID .625 |
| 21 | 70015643 | 2 | Bump Stops |
| 22 | 70013275 | 4 | R Joint Center Ball 30mm OD x 5/8″ bolt |
| 23 | 70013276 | 4 | 5/8” Swivel Joint Snap Over B |
| 24 | 70013279 | 4 | RETAINING RING,SINGLE-TURN 302 |
| 25 | 70013280 | 4 | 1.25″ WAVO WAVE SPRING 17-7 PH |
| 26 | 70015360 | 1 | 65-72 F100 Driver Notch Template |
| 27 | 70015361 | 1 | 65-72 F100 Passenger C-Notch Template |
| 99010203 | 1 | Hardware Kit: 65-79 F100 Rear |


| New R-Joints will be quite stiff (75-90 in/lbs breakaway torque) until they “break in” after a few milesof use. After the break in period they will move much more freely. Because the composite bearing racecontains self lubricating ingredients, no additional lubrication is needed or desired. Any additionallubrication will only serve to attract more dirt and debris to the R-Joint and actually shorten its life. |
Hardware List
…..In the box (Kit# 99010203)
The Hardware Kit contains bags to help aid in selecting the correct hardware for the component being installed. Thehardware list shows how the hardware is bagged.
| Item # | C-NOTCHES TO FRAME | QTY | |
| 28 | 99431021 | 7/16-14 x 1 1/4″ GR8 Hex Bolt | 28 |
| 29 | 99432010 | 7/16-14 GR8 Nylok Nut | 28 |
| 30 | 99433005 | 7/16″ SAE Washer | 56 |
| FRONT 4-LINK TO FRAME | |||
| 29 | 99432010 | 7/16-14 GR8 Nylok Nut | 8 |
| 30 | 99433005 | 7/16″ SAE Washer | 16 |
| 31 | 99431022 | 7/16-14 x 1 1/2″ GR8 Hex Bolt | 8 |
| SHOCK TO C-NOTCH | |||
| 32 | 99501064 | 1/2-13 X 2 3/4 Hex Bolt Gr. 8 | 2 |
| 33 | 99503014 | 1/2 SAE FLAT WASHER GR8 YZ | 4 |
| 34 | 99502009 | 1/2-13 USS Gr. 8 NYLOK NUT | 2 |
| BARS TO FRONT MOUNT | |||
| 35 | 99621005 | 5/8-18 X 3 1/2 Hex Cap Screw Z | 4 |
| 36 | 99622001 | 5/8 NYLOK GR8 NUT | 4 |
| 37 | 99623001 | 5/8 SAE WASHER | 8 |
| U-BOLTS | |||
| 36 | 99622001 | 5/8 NYLOK GR8 NUT | 8 |
| 37 | 99623001 | 5/8 SAE WASHER | 8 |
| BARS TO AXLE MOUNTS | |||
| 37 | 99623001 | 5/8 SAE WASHER | 8 |
| 38 | 99621018 | 5/8-18 X 3 1/4 Hex Cap Screw Z | 4 |
| 39 | 99622006 | 5/8-18 THIN NYLON JAM NUT GRAD | 4 |
| PANHARD MOUNTS | |||
| 37 | 99623001 | 5/8 SAE WASHER | 4 |
| 38 | 99621018 | 5/8-18 X 3 1/4 Hex Cap Screw Z | 1 |
| 39 | 99622006 | 5/8-18 THIN NYLON JAM NUT GRAD | 2 |
| 40 | 99621004 | 5/8-18 X 3 Hex Cap Screw Zinc/ | 1 |
| BUMPSTOP TO C-NOTCH | |||
| 41 | 99371034 | 3/8-16 x 1 SOC CAP BOLT | 2 |
| 42 | 99372002 | 3/8-16 GR 5 NYLON INSERT L/N G | 2 |
| 43 | 99373002 | 3/8 SAE FLAT WASHER ZINC/YELLO | 2 |
| LOWER SHOCK MOUNT | |||
| 99501009 | 1/2″-20 X 1 3/4″ BOLT GR8 | 2 | |
| 99501007 | 1/2″-20 X 1 1/4″ BOLT GR8 | 2 | |
| 99502002 | 1/2″-20 NYLOK NUT GR8 | 4 | |
Disassembly
Congratulations on your purchase of the Ridetech Rear 4 Link System. This system has been designed to give your truck excellent handling along with a lifetime of enjoyment. Some of the key features of this system: C-notches to give your suspension the travel it needs at the lowered height, 4Link setup to replace the leaf spring and provide better control of the rear axle, and the biggest feature of all, it allowsthe use of Shockwaves or CoilOvers.
Note: This system is designed for use with the Ridetech Shockwaves or CoilOvers. The factory shocks and springs will not fit this 4Link.
- Raise the vehicle to a safe and comfortable working height and support it by the frame. You will need to be able to move the rear differential up and down. Use a jack under the rear axle so it can be raised and lowered as needed during the install.
- Remove the bed, retaining the hardware for reassembly. This kit can NOT be installed with the bed on. The bed requires minor modifications before reinstalling it..
- Remove the leaf springs and shock absorbers.
“C” Notch Installation
- The OEM bump stop mounts will need to be removed from the frame rail. This can be done by either drilling the rivets out or removing the rivet heads and driving them out. We remove the rivet heads by cutting a “ “ in the head with a die grinder then we cut the head off with a hammer and chisel or with an air chisel. Once the head is removed, the rivet can be driven out with a hammer and punch. After removing the frame mounts, drill the rivet holes with a 7/16” drill bit.

- To allow maximum drop on this truck, the frame must be notched. Cutting templates are supplied with the kit to aid in cutting the frame. The template for the notch will locate off of the 3 holes that are grayed out in Diagram “5”. Before cutting out the frame, support the frame in front of and behind the “C” Notch area. We suggest doing one side at a time. The template has an Arrow on them that will point to the front of the truck. Check the inside of the frame for wires or lines before drilling or cutting.

- Cut the indexing holes out of the template and align them with the holes in the frame. We recommend taping the c-notch to the frame to hold it in position.

- Use the template to center punch the corner holesf the area that needs to be cut out.

- Use a razor knife to cut along the outer lines of the hashed area of the template. With the hashed area cut out, use the template to mark the frame rail for cutting the c-notch.

- The corner holes will need to be drill with a 1/2” drill bit, but we recommend drilling the corner holes with a smaller drill bit first.

- Drill the holes using a 1/2” drill bit. This will give the corner a round edge and eliminate the possibility for stress fractures

11a & 11b. Cut the notch with a saw-z-all, cutoff wheel, or plasma cutter. Grind all edges smooth. Cut the sides of the frame and across the bottom of the rail. The cuts on the bottom of the frame rail will be parallel with each other. The side frame cuts will blend into the drilled holes. The section of frame will fall out when cutting is complete.
- b) The section of frame will fall out when cutting is complete.

- After cutting, slip the c-notch over the frame to check the fitment. The cut areas of the frame may require grinding for the c-notch to fit. The c-notch will be used as a template to drill the remaining mounting holes. Use a 7/16” Drill bit to drill the holes in the side of the frame. There are 8 holes in the side that need to be drilled.

- Install a 7/16” flat washer on each of (8) 7/16” x 1 1/4” bolts. This hardware gets installed in the sides of the c-notch. Install a 7/16” flat washer and 7/16” nylok nut on each bolt sticking through the frame. Tighten all of the c-notch side bolts. Tighten the hardware snuggly for the time being.

- Use a 7/16” drill bit to drill the remaining holes in the top and bottom of the frame.

- Install a 7/16” flat washer on each of (6) 7/16” x 1 1/4” bolts. This hardware gets installed in the top & bottom of the c-notch. Install a 7/16” flat washer and 7/16” nylok nut on each bolt sticking through the frame. Tighten the c-notch mounting hardware to 70 ft-lbs.

- Install the bump stop using a 3/8”-16 x 1” socket head bolt, 3/8” flat washer, & 3/8”-16 nylok nut. Hold the bump stop with your hand and insert the bolt through the center of the bump stop. Line up the bolt of the bump with the drilled hole of the frame. Install a 3/8” flat washer and 3/8” nut on the threads of the bolt. Tighten to 60 in-lbs.
Repeat Steps 4-16 on the other side.B
Front Bar Mount & Axle Mount Installation
- The OEM front leaf spring mounts will need to be removed from the frame rail. This can be done by either drilling the rivets out or removing the rivet heads and driving them out. We remove the rivet heads by cutting a “ “ in the head with a die grinder then we cut the head off with a hammer and chisel or with an air chisel.

- Once the head is removed, the rivet can be driven out with a hammer and punch. After removing the frame mounts, drill the rivet holes with a 7/16” drill bit.

- The front bar mounts bolt in place of the OEM front leaf spring mount. The Driver and Passenger mounts are the same. Image 19 shows the Driver mount installed. The mounting holes will line up with the mounting holes of the OEM front leaf spring hanger. Install a 7/16” flat washer on (4) 7/16” x 1 1/2” bolts. Hold the mount in place and insert the bolts/washer through the mount and frame. Install a 7/16” flat washer and 7/16” nylok nut on each bolt sticking through the frame and tighten to 70 ftlbs. Repeat on the other side.

Axle Mount Installation
- Sit the upper bar mount on the leaf spring pad of the axle. The locating pin needs to insert into the leaf spring locating hole of the leaf spring pad.

- The kit includes a Driver and Passenger lower axle mount; the two are different. The Passenger mount has the panhard bar mount built into it. Image 21 shows the Passenger mount. Hold the mount up in place against the bottom of the axle tube. The tabs will nest against the bottom of the leaf spring pad.

Lower Shock Mount & Upper Bar Installation
- Install a supplied 5/8” u-bolt in each side of the upper bar mount. The u-bolts will nest in the slots of the upper mount. The U-bolts will run parallel to the axle tube.

- Hold the mount in place and install a 5/8” flat washer and 5/8”-18 nylok nut on the threads of the u-bolts sticking through the axle mount. Tighten the nuts evenly in a criss-cross fashion making sure the tabs of the axle mount are touching the leaf spring pad evenly. Torque the nuts in a criss-cross fashion to 75 ftlbs. Repeat on the other side.

- The lower shock mount attaches with (1) 1/2”-13 x 1 1/4” hex bolt, (1) 1/3”-13 x 1 3/4” hex bolt, & (2) 1/2” flat washer, & (2) 1/2”-13 nylok nuts. The lower mount gets attached to the 2nd and 3rd hole up from the bottom of the axle mount. When the shock mount is installed correctly, the bottom of the lower shock mount is 1/2” below the bottom of the axle mount. Insert the bolts through the aluminum shock mount with the 1 1/4” long bolt in the top hole, 1 3/4” in the bottom hole.

- Insert the bolts through the axle mount and install the flat washers & nylok nuts on the threads sticking through. Repeat on both sides and torque the bolts/nuts to 75 ftlbs. Install a 5/8” flat washer onto the 5/8”-18 threads of the shock stud. Apply Red Loctite to the 5/8” threads of the stud. Thread the shock stud into the threaded hole of the lower mount. Repeat on both sides and torque the shock stud to 65- 75 ftlbs.

Installing Upper & Lower Bars
- Insert (2) .625” ID x .740” long R-Joint spacers into the R-Joint of one end of each 23 7/8” center to center upper bar. The small diameter of the spacer goes into the R-joint. Insert the front of the upper bar R-Joint intothe front mount. The front mount has 2 bar mounting locations. The 23 3/8” upper bar needs to be installed into the top position.

- Line the through hole of the R-Joint with the of holes of the frame mount. Install a 5/8” flat washer on to a 5/8”-18 x 3 1/2” hex bolt, insert into the lined up holes. Install a 5/8” flat washer followed by a 5/8”-18 nylok nut.
Repeat on both sides and tighten the bolts/nuts enough to eliminate any gaps.
- Insert the .625” ID x .740” long R-Joint spacers into the rear of the upper bar with the small OD inserted into the R-joint. The small diameter of the spacer goes into the R-joint.
Insert the rear upper bar R-Joint into the upward axle mount. Line the through hole of the R-Joint with the of holes of the upper axle mount. Install a 5/8” flat washer on to a 5/8”- 18 x 3 1/4” hex bolt, insert into the lined up holes. Install a 5/8” flat washer followed by a 5/8”-18 THIN nylok nut. Repeat on both sides and tighten the bolts/nuts enough to eliminate any gaps.
Installing Lower Bars
- Insert (2) .625” ID x .740” long R-Joint spacers into the R-Joint of one end of each lower bar (23 5/8”). The small diameter of the spacer goes into the R-joint. Insert the rear lower bar R-Joint into the lower bar mount built into the axle mount.

- Line the through hole of the R-Joint with the of holes of the bar mount. Install a 5/8” flat washer on to a 5/8”-18 x 3 1/4” Hex bolt, insert into the lined up holes. Install a 5/8” flat washer followed by a 5/8”-18 THIN nylok nut.
Repeat on both sides and tighten the bolts/nuts enough to eliminate any gaps.
- Insert (2) .625” ID x .740” long R-Joint spacers into the front R-Joint of each lower bar.
The small diameter of the spacer goes into the R-joint. Insert the front lower bar R-Joint into the lower position of the frame mount.
Panhard Bar & Shockwave/Coilover Installation
- Line the through hole of the R-Joint with the of holes of the front frame mount. Install a 5/8” flat washer on to a 5/8”-18 x 3 1/2” hex bolt, insert into the lined up holes. Install a 5/8” flat washer followed by a 5/8”-18 nylok nut. Repeat on both sides and tighten the bolts/nuts enough to eliminate any gaps.

- Remove the bolt that attaches the brake hose to the bracket. This will allow you to move the brake line out of the way to cut the bracket off the axle tube.

- We used a die-grinder with a cutoff wheel to cut the brake line bracket off the axle tube.
Be careful to not cut into the axle tube.
Shockwave/Coilover Installation
- Insert the 1/2” ID Shock Bearing Spacers into the Bearing of the ShockWave/CoilOver. Install a 1/2” Flat Washer on a 1/2”-13 x 2 3/4” Bolts. Insert the top of the shock into the shock mount on the c-notch with the adjusting knob to the outside. Line up the holes and insert the bolt/washer. Install a 1/2” Flat Washer and 1/2”-13 Nylok Nut on the threads and tighten to 50 ftlbs.

- The Shock Stud requires spacers that are .400” long (90002067). Install a 5/8” ID 90002067 spacer (Small side towards shock body) onto the lower Shock Stud. Slide the bottom of the Shock onto the Stud. Install a second 5/8” ID 90002067 Spacer onto the Stud (small side towards shock). You may need to jack the rear end up to Slide the Shock onto the Stud.

- nstall the 7/16” Flat washer and 7/16” Nylok nut. Tighten the upper and lower shock bolts. Torque the Upper Bolt to 50 ftlbs and the Lower Nut to 40 ftlbs. The designed ride height of the CoilOver/Shockwave is 14 1/2” center to center.

- Reinstall the bed.
- Verify all hardware is tight.
- Set ride height on the truck. The ride height of the Shockwave/CoilOver is approximately 14 1/2”. If you are using Shockwaves, this is done by changing the air pressure in the Shockwaves. If you are using CoilOvers, the ride height is done by using the adjuster nut for the coil spring. The coil spring on the CoilOver will have some preload in the spring to get ride height, this is normal.





















































