SOUNDMAX SM-1523U Radio Clock with Alarm

Product Information
The RADIO CLOCK WITH ALARM SM-1523U is a multifunctional product that provides you with an alarm clock, FM radio, temperature and humidity display, and a projector. It comes with a USB cable, CR2032 battery, and an instruction manual.
Description Overview
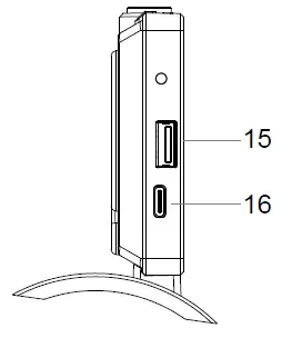
The product has a top panel with buttons for alarm on/off, projector on/off, AM/PM, sleep/radio on, radio off/snooze/brightness adjustment, set, volume, and AL1.2. The front panel displays temperature, humidity, AM/PM indication, radio indication, and alarm 1 and 2 indications. The left panel has a USB port and DC 5V USB Type-C charging port.
Important safeguards
Read the manual carefully before connecting or operating the product. All illustrations in the manual are schematic images that may differ from actual objects. Use the product with the recommended power supply and follow general operations carefully.
General operations
To turn on the alarm buzzer, press any button except for the snooze button. To turn on the radio alarm, the radio will start playing with the same volume and station as the last played radio. Press any button except for the snooze button to turn off the alarm. Snooze the alarm by pressing the snooze button.
Turning the alarm on and off
Press the AL1 or AL2 button to turn on or off the alarms. The cycle is AL1 ON — AL2 ON — AL1 OFF — AL2 OFF. When an alarm is turned on, the corresponding indication appears on the screen.
Projector
Use the projector button to turn on or off the projector. Use the brightness adjustment button to select one of the six screen brightness levels. Night mode is disabled in the night mode, and you need to turn off the night mode if you want to manually adjust brightness. The light sensor function automatically adjusts the display brightness according to the ambient light.
FM radio
Use the radio on/off button to turn on or off the radio. To improve radio reception, extend the wire antenna at the back of the unit fully. To save an FM station, press the set button when 01 appears on the screen.
Maintenance and care
Switch off the unit and unplug it from the power supply before cleaning it with a slightly damp cloth.
Product Usage Instructions
- Step 1: Power supply
Use the recommended power supply for the product. The adaptor input voltage is not included, and the adaptor output voltage is DC 5V >2A. The nominal voltage is AC ~100 – 240V; 50/60Hz, and the clock backup is 3V (1x CR2032 battery). - Step 2: General operations
Press any button except for snooze to turn on the alarm buzzer. Press any button except for snooze to turn off the alarm. Snooze by pressing the snooze button. To turn on the radio alarm, the radio will start playing with the same volume and station as the last played radio. Press any button except for snooze to turn off the alarm. Snooze by pressing the snooze button. - Step 3: Turning the alarm on and off
Press the AL1 or AL2 button to turn on or off the alarms. The cycle is AL1 ON — AL2 ON — AL1 OFF — AL2 OFF. When an alarm is turned on, the corresponding indication appears on the screen. - Step 4: Projector
Use the projector button to turn on or off the projector. Use the brightness adjustment button to select one of the six-screen brightness levels. Night mode is disabled in the night mode, and you need to turn off the night mode if you want to manually adjust brightness. The light sensor function automatically adjusts the display brightness according to the ambient light. - Step 5: FM radio
Use the radio on/off button to turn on or off the radio. To improve radio reception, extend the wire antenna at the back of the unit fully. To save an FM station, press the set button when 01 appears on the screen. - Step 6: Maintenance and care
Switch off the unit and unplug it from the power supply before cleaning it with a slightly damp cloth.
Dear customer!
Thank you for purchasing our product. For safety, it is strongly recommended to read this manual carefully before connecting, operating and/or adjusting the product and keep the manual for reference in future.
Description
Overview
Top panel
- ▼ ( Alarm ON/OFF |DOWN) button
- ▲/project ( Projector ON/OFF | AM/PM | UP button)
- sleep/radio ON button
- Radio OFF | Snooze |Brightness adjustment button
- set button
- vol button
- al 1.2 button
- Projection lamp
Front panel - Temperature indication
- Humidity indication
- AM/PM indication
- Radio indication
- Alarm 1 indication
- Alarm 2 indication

Left panel - USB port
- DC 5V USB Type-C charging port

Important safeguards
- The instruction manual contains important operating and maintenance instructions. For your safety, it is necessary to refer to the manual. Keep the manual for future use.
- Do not hit or drop the unit.
- Do not expose the unit to vibration, direct sunlight, too high or low temperatures or humidity.
- Do not disassemble the unit yourselves. Refer servicing to qualified service personnel.
All the illustrations in this manual are schematic images, which may differ from actual objects.
Power supply
Battery operation
- Insert 1 x 3V lithium battery CR2032 to the terminal inside the battery compartment according to the polarity marks (+ and -). Your set will not work normally from the battery supply, but there is now the advantage that, in case of a mains current failure or power outage, your clock will continue to work. The clock display will not light up, the clock time and alarm setting will be held in the clock memory by the battery back-up system. This enables you to move the set from place to place without re-setting the clock every time. The battery back-up system is only meant to be used for short-term power failures. For longer durations the battery may become exhausted or there may be some deviation in accuracy.
- When the battery is exhausted, it should be removed from the set to prevent leakage. If you do not wish to take advantage of the battery back-up system, your set will work normally without a battery. However, if disconnected from the mains, the clock figures will flash when the mains are reconnected and you must re-set the clock.
Mains operation
- The appliance is for household use only.
- Before the first connecting of the appliance check that the voltage indicated on the rating label corresponds to the mains voltage in your location.
- Insert the power cord to the USB Type-C input of the unit.
- Connect the other end of the USB cord to a power adapter (not included).
- Insert the plug into the electrical outlet.
General operations
Setting the clock
- Press and hold the set button to enter the clock setting mode.
- Press ▲ to choose a 12H or 24H time format, press set to confirm.
- Press ▲ or ▼ to set the hour, press set to confirm.
- Press ▲ or ▼ to set the minute, press set to confirm.
- You can press and hold the ▲/▼ buttons to speed up the setting.
Setting the alarm
- Press the al 1.2 button to select Alarm 1 or Alarm 2. Press and hold al 1.2 to start setting the selected alarm.
- Press ▲ or ▼ to set the hour, press al 1.2 to confirm.
- Press ▲ or ▼ to set the minute, press al 1.2 to confirm.
- Press ▲ or ▼ to set the snooze time from 5 to 60 minutes, press al 1.2 to confirm.
- Press ▲ or ▼ to choose the alarm sound (“BU” for buzzer, “RD” for radio), press al 1.2 to confirm and exit the alarm setting mode.
- You can press and hold the ▲/▼ buttons to speed up the setting.
Alarm operation (buzzer)
- When the alarm time comes, it will sound for 2 minutes. Press any button except
to silence the alarm. It will repeat the next day at the same time. - Press the
button to snooze the alarm, it will repeat again after the number of minutes you set previously (default is 5 min). The alarm can be snoozed unlimitedly.
Alarm operation (radio)
- When the alarm time comes, the radio will start to play. The station and volume will be the same from when you last played the radio. Press any button except
to silence the alarm. It will repeat the next day at the same time. - Press the
button to snooze the alarm, it will repeat again after the number of minutes you set previously (default is 5 min). The alarm can be snoozed unlimitedly.
Turning the alarm on and off
- Press the ▼ button to turn the alarms on and off. The cycle is: AL1 ON — AL2 ON — AL1 OFF — AL2 OFF. When the alarm is turned on, the corresponding indication appears on the screen.
- Press the al 1.2 button to check the alarm time of AL1 and AL2. The unit will automatically return to the time mode if no button is pressed within 5 seconds.
Projector
- Press the ▲ button to project the current clock time on a wall or ceiling, then press again to adjust the brightness of the projection (High/ Low/Off).
- When the projection is on, press and hold ▲ to flip the projection by 180°.
- Rotate the projector (from -90 to 90°) to adjust the projection angle.
Brightness setting
- Press the
button to select one of the 6 screen brightness levels.
- Press the
Night mode
- Night mode means that the screen automatically switches to the low brightness setting at night.
- In clock mode press set to enter the night mode setting, “OFF” will appear on the screen. Press ▲, “ON” will appear on the screen, indicating that the night mode is on. Now the screen will automatically be dimmed in the period from 18:00 to 06:00 the next day.
- Manual brightness adjustment is disabled in the night mode (pressing the
button will do nothing). You need to turn off the night mode if you want to manually adjust brightness.
Light sensor
• In clock mode press and hold
to turn the automatic light sensing function on and off. The clock will automatically sense the ambient light and adjust the display brightness accordingly. When the light sense function is on, you can’t adjust the clock brightness manually and can’t switch to the night mode.
FM radio
Setting the radio
- Press sleep/radio to turn on the radio.
- Press sleep/radio again to select the radio play time. For example, if you select “10”, the radio will automatically switch off after 10 minutes. Press set to confirm.
- In the radio mode press the ▲/▼ buttons to manually select the next or the previous radio station, press and hold ▲/▼ for quick selection.
- Press vol and use the ▲/▼ buttons to adjust the volume level from L00 (min) to L15 (max).
- Press the
button to turn the radio off. - For the best possible signal reception fully extend the wire antenna at the back of the unit.
Saving FM radio stations
- In radio mode press the ▼ button.
- Press and hold the set button until “01” appears on the screen, press set again to save the current station in memory position 01.
- Press the ▲/▼ buttons to select another station, press and hold set, “01” appears on the screen, then use the ▲/▼ buttons to select another memory position (e.g. “02”), press set again to save the current station in the memory position you selected.
- Repeat the above two steps to save other stations. 10 memory positions are available.
- In radio mode press set to select the station saved at position 01, press again for 02, etc.
- To replace the existing saved station, just repeat step 3 to replace the old station with the new one.
Temperature and humidity sensor
- The temperature and humidity will be automatically displayed on the screen, no setup required.
- In the clock mode press and hold ▼ to switch between Fahrenheit (°F) and Celsius (°C).
Maintenance and care
Switch off the unit, unplug from the power supply. The outside of the appliance can be cleaned with a slightly damp cloth.
Accessories
- Radio clock with alarm 1 pc
- CR2032 battery 1 pc
- USB cable 1 pc
- Instruction manual 1 pc
Specifications
| Nominal voltage | Type-C: DC: 5V >2A Clock backup: 3V (1x CR2032 battery) |
| Adaptor input voltage (not included) Adaptor output voltage | AC: ~100 – 240V; 50/60Hz DC: 5V >2A |
| Nominal power consumption | 6 W |
| Output power | 6 W |
| Stabilizer | Quartz |
| Display | 1.5” (3.8cm), LED |
| FM radio frequency | 87.5 – 108 MHz |
| Net weight | 0.155 kg |
| Unit dimensions | 190 x 75 x 25 mm |
Specifications and functions are subject to change without notice. It is connected with the continual improvement of the device.
Manufacturer: TECHNO ELECTRIC LIMITED
Legal address: 1801-1802, LKF 29 29 Wyndham Street, Central, China.














![Emerson Alarm Clock [cks1507 W/ Radio] User Manual Emerson Alarm Clock [cks1507 W/ Radio] User Manual](https://static-data1.manualsee.com/1/img/275/8730/2020/10/Emerson-Alarm-Clock-CKS1507.png)







