
QUICK START
Devialet was born of a pledge: to keep pushing the boundaries of sound experiences.
Fourteen years later, after delivering groundbreaking, iconoclast innovations in the ield of acoustics, Devialet ventures into the world of audio-visual.
Devialet Dione, our irst soundbar, materializes our latest developments in audio technology to breathe new energy into the way you watch any content.
Grandiose, all-enveloping sound that complements all things visual and draws you deep into the action.
Watch your senses.
PREPARE DEVIALET DIONE
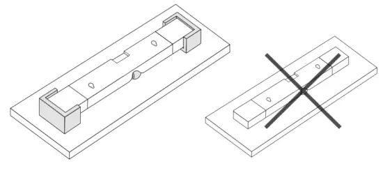
Remove the product from its packaging and place the installation wedges on a flat surface.

2 Place Devialet Dione upside down on the installation wedges.
Do not turn Devialet Dione upside down without using the installation wedges to avoid contact between the center sphere and a hard surface.
3Insert the power cable into the power port, then connect the appropriate audio cable to the soundbar. Use the HDMI cable if your TV has an HDMI port labeled ARC/ARC. If your TV does not have an HDMI eARC/ARC port, use the TOSLINK optical cable.
POSITIONING
PLACE ON A SHELF
Place Devialet Dione on a stable and flat surface next to your TV. Make sure to leave some space between the wall and Devialet Dione, avoid placing any objects on top of the soundbar, and leave the sides unobstructed.
MOUNT ON A WALL
To fix Devialet Dione on a wall, carefully read the wall-mount guide inside the cardboard box marked «Wall-mount guide».
START DEVIALET DIONE
- Connect the audio cable to the TV, make sure to plug the HDMI cable into the HDMI eARC/ARC port on your TV, or use an Optical cable. Then, plug Devialet Dione into a power outlet and wait until the indicator light stops flashing.

- Download and launch the DEVIALET APP and follow the steps indicated on the screen to complete set-up.

- Before you start listening, check your TV’s audio setting and make sure to set the audio output to HDMI eARC/ARC or to Optical depending on which audio cable you are using to connect Devialet Dione to the TV. Enjoy Devialet Dione!
CONNECTIVITIES
TO PLAY VIA BLUETOOTH

- Press and hold Devialet Dione Bluetooth button for 2 seconds.
When the indicator light blinks blue.
Devialet Dione is ready to be paired to a Bluetooth device. - Open the Bluetooth settings on your device and search for «Dione-XXXX».

TO PLAY VIA AIRPLAY
- Connect Devialet Dione to the same Wi-FI network as your Apple device.
- Play the audio track you want to stream
- Tap the AirPlay or streaming icon
- Choose Devialet Dione as the output speaker
TO PLAY VIA SPOTIFY CONNECT
- Use your phone, tablet or computer as a remote control for Spotify. Go to spotify.com/connect to learn how

HDMI eARC/ARC
- Connect the HDMI cable to the HDMI port labeled eARC/ARC on your TV or Projector.
- Ethernet Use an Ethernet cable for better network stability.
- Optical (TOSLINK) Use a TOSLINK Optical cable if your TV or projector does not have an HDMI eARC/ ARC port.
- AC power Connect to a power socket

Indicator light
Devialet button
Press to switch between HDMI and Optical source Press and hold for 7 seconds to enter standby mode To exit standby mode, press any button on Devialet Dione
Volume
Press to lower/increase volume
Play/Pause
Press to pause or resume playback
Bluetooth
Press and hold to enable Bluetooth pairing
Disable microphone
Press to disable room calibration microphones
Reset
Press and hold
for 6 seconds to reset Dione WE CAN HELP: help.devialet.com
OPTIMAL PLACEMENT























