

WFL -ROC
Instruction Manual and Warranty Information
1 year limited warranty
The sounds of nature soothe human nature
Thank you for purchasing EnviraScape, HoMedics’ tabletop relaxation fountain. This, like the entire HoMedics product line, is built with high-quality craftsmanship to provide you with years of dependable service. We hope that you will find it to be the finest product of its kind.
EnviraScape enables you to create an all-encompassing environment with sound. The sound of flowing water enhances your environment by releasing negative ions and promoting relaxation. Only EnviraScape offers you the luxury of these vital benefits with its creative design which adds beauty to any indoor environment.
EnviraScape Features
Innovative, Artistic Design
Enhances the environment at home or at work.
4 Water-flow Speeds
Select the pace that meets your mood.
Durable Electrical Water Pump
Can be operated from any indoor electrical outlet.
Easy to Assemble
Assembles in minutes with simple, illustrated instructions.
IMPORTANT SAFETY INSTRUCTIONS:
When using an electrical appliance, basic precautions should always be followed, including the following:
READ ALL INSTRUCTIONS BEFORE USING
DANGER – To reduce the risk of electric shock:
- Always unplug the appliance from the electrical outlet immediately after using and before cleaning.
- Do not reach for an appliance that has fallen into water. Unplug it immediately.
- Do not place or store appliance where it can fall or be pulled into a tub or sink. Do not place in or drop into water or other liquid.
- Do not connect to any voltage other than that shown on the pump.
- Do not pump flammable liquids.
- Do not use water above 90o.
CAUTION: The pump must be completely submerged in water. If the pump is making noises, most likely it is not completely submerged in water.
CAUTION: Only set the fountain and fountain parts on waterproof surfaces
WARNING– To reduce the risk of burns, fire, electric shock, or injury to persons:
- An appliance should never be left unattended when plugged in. Unplug from outlet when not in use and before putting on or taking off parts or attachments.
- Close supervision is necessary when this appliance is used by or near children, invalids, or disabled persons.
- Use this appliance only for its intended use as described in this manual. Do not use attachments not recommended by HoMedics; specifically, any attachments not provided with the unit.
- Never operate this appliance if it has a damaged cord, plug, pump, cable, or housing. If it is not working properly, if it has been dropped or damaged, return it to Homedics Service Center for examination and repair.
- Keep cord away from heated surfaces.
- Never drop or insert any object into any opening.
- Do not operate where aerosol (spray) products are being used or where oxygen is being administered.
- Do not carry this appliance by supply cord or use cord as handle.
- T o disconnect, remove plug from outlet.
- This appliance is designed for indoor use only. Do not use outdoors.
SAVE THESE INSTRUCTIONS
Caution – Please read all instructions carefully before operating.
- Never leave the appliance unattended, especially if children are present.
- Never cover the appliance when it is in operation.
- This unit should not be used by children without adult supervision.
- Connect the pump with the proper voltage as indicated on the pump label.
- Always keep the cord away from high temperature and fire.
- Unplug the pump from power source before cleaning, maintenance or disassembling.
CAUTIONCONTINUED
- To get the best flowing effect, product must be placed on a flat surface and should never be placed on an electrical appliance.
- Never let pump run dry, as this will shorten life of the pump.
- Do not lift, carry, hang, or pull the pump by the power cord.
- Operate with freshwater only.
- Operate pump completely submerged for proper cooling.
- The electrical cord of this product cannot be replaced. If it sustains damage, you must stop using this product immediately and return it to the HoMedics Service Center for repair. (See the warranty section for HoMedics address.)
- Disconnect the appliance from supply mains before putting hands into water.
Assembly and Instructions for Use
- Unpack the product. Wipe off dust with a damp cloth.
- Familiarize yourself with the pump. The pump speed is controlled by the switch located at the front of the pump. The speed is indicated by a plus (+) and minus (-) sign. To increase the speed, move the switch slowly downward in the direction of the plus sign. You will hear a click as the switch moves to each speed level. At its highest speed level, the switch will cease to move any further. To decrease the pump speed, move the switch upward toward the minus sign. Similarly, at its lowest speed, the switch will cease to move any further (Fig 9). NOTE: It is recommended the pump be set at its highest speed during assembly and later adjusted to a lower setting if desired. Be sure to unplug the pump before adjusting the speed setting.
- Lead the cord through the cord slot on the bottom of the Base (A). This will ensure that the unit is balanced when placed on a flat surface. Attach the A/C adaptor jack to the base power cord. DONOTplug into outlet at this time. See Figure 1.
- Slide the waterproof light into the socket clip attached at the inner side of the slate holder (C).
- Attach the large end of the tube to the connector located under the Top Slate (B). See figure 1.

- Take the tube on the bottom side of the Top Slate (B) and place it through the Slate Holder (C). Place this all the way so that you can see the tube through the opening on the back of the Slate Holder (C). See Figure 2. NOTE: When placing the top slate (B) onto the slate holder (C) be sure to line up the top slate notches with the slate holder cut-outs.

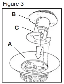
- Place the Slate Holder (C) with the Top Slate attached (B) evenly across the Base (A). Connect the small end of the tube to the pump. See Figures 3 and 4. NOTE: When placing slate holder (C) onto Base (A), be sure to line up the opening of slate holder (C) with the notches on Base (A).

Insert the Slate (D) into the “U” shaped slot (lowest) on the back of the Slate Holder (C), to cover the pump. Insert Slates (E, F, G) into the Slate Holder as illustrated in the diagram. See Figure 5. NOTE: This is the slate positioning that we recommend. The slates are interchangeable and will fit into any of the slots on the Slate Holder. The slates can be arranged differently by pulling the slates in or out – the fountain will produce different water patterns and sounds.

- Arrange the stones provided onto the base and slates. See Figure 6.

- .Look through the opening on the back of the slate holder and fill the entire bottom of the base, up to the bottom Slate Holder, with clean water. Water should be visible through the back opening in the slate holder but should not be rising above the bottom of the Slate Holder.
- Plug the cord into 120V household outlet. The fountain is controlled by the switch located on the power cord. If pump doesn’t operate, rotate in-line switch once to turn “on” and once more to turn “off”. NOTE: Ensure that the electrical cord loops below the electrical outlet to form a ‘Drip Loop’ (Fig. 7). This will prevent water from running down the cord into the electrical outlet.

Maintenance
- To clean the pump:
Unplug from electrical outlet. Remove it from the base of the fountain. Use a small brush or stream of water to remove any debris (Fig 8).
- To keep water clean:
Periodically change water and clean the product according to the water condition. Keeping the water clean prevents the water from becoming sticky and forming micro-organisms. - To clean off hard water deposits on the base or rocks:
Soak the container and rocks in a mixture of vinegar and water to clean and remove any mineral build-up. - Keeping the water at an optimum level:
Add water periodically to keep water level at an optimum level to avoid shortening the life of the pump.
NOTE: Never let the pump run dry, as this will shorten the life of the pump. - Fountain Storage
Unplug the fountain from the electrical outlet, empty the water, and store rocks and fountain in a dry, cool place. - Changing Light bulb
First unplug fountain and let bulb cool down. Remove the bulb cover by holding glass bulb cover in dry hand and rubberneck with other hand. Slowly pull apart. Slight twisting may help to loosen. Be gentle with bulb cover since it is glass. Never pull on cord. Next, pull bulb straight out and replace with new bulb, inserting prongs into the holes. Replace bulb cover securely.
Caution: All servicing of this fountain must be performed by authorized HoMedics service personnel only.
Attention: In order to get best results, please operate pump completely submerged. Keep the water level above the minimum water level ALL THE TIME.
Troubleshooting
- If the pump fails to operate, check the following:
Check the circuit breaker, or try a different outlet to make sure the pump is getting electrical power. NOTE: Always disconnect from the electrical outlet before handling the pump. Check the pump discharge and tubing for kinks and obstructions. Algae build-up can be flushed out with a garden hose.
Remove the pump inlet to access the impeller area. Turn the rotor to ensure it is not broken or jammed.
Monthly maintenance will add to your pump’s life.
NOTE: Ensure that the electrical cord loops below the electrical outlet to form a ‘Drip Loop’. This will prevent water from running down the cord into the electrical outlet. - If the pump gurgles, spews, or “burps”:
Check the water level to make sure the pump has enough water to function. - Obtaining a desired water level:
Check the water level daily the first week to measure the rate of evaporation; refill with water as needed. - If water is splashing outside the fountain:
Rocks that are hit by water and also touch the edge of the base will cause water to splash outside of the base and contribute to the splash factor. Expect some splash to occur as you get the rocks organized. If splash continues, adjust the flow control valve to a lower setting, and/or rearrange the river rocks by moving them away from the edge of the base.


Mail To:
HoMedics
Consumer Relations
Service Center Dept. 168
3000 Pontiac Trail
Commerce Township, MI 48390
e-mail: [email protected]
Detach and return the order form with check or money order payable to HoMedics, Inc.
Please allow 2 to 4 weeks for delivery.
_______________________________________
Name
_______________________________________
Address
_______________ _____________ ___________
City State Zipcode
(__ )______________
Phone Number
ONE YEAR LIMITED WARRANTY
(Valid in USA only)
HoMedics, Inc., guarantees this product free from defects in material and workmanship for a period of one year from the date of purchase, except as noted below.
This HoMedics product warranty does not cover damage caused by misuse or abuse; accident; the attachment of any unauthorized accessory; alteration to the product; or any other conditions whatsoever that are beyond the control of HoMedics. This warranty is effective only if the product is purchased and operated in the USA. A product that requires modification or adaptation to enable it to operate in any country other than the country for which it was designed, manufactured, approved, and/or authorized or repair of products damaged by these modifications is not covered under warranty. HoMedics shall not be responsible for any type of incidental, consequential, or special damages. All implied warranties, including but not limited to those implied warranties of fitness and merchantability, are limited in the total duration of one year from the original purchase date.
To obtain warranty service on your HoMedics product, either hand deliver or mail the unit and your dated sales receipt (as proof of purchase), postpaid, along with check or money order in the amount of $5.00 payable to HoMedics, Inc. to cover handling.
Upon receipt, HoMedics will repair or replace, as appropriate, your product and return it to you, postpaid. The warranty is solely through HoMedics Service Center. Service of this product by anyone other than HoMedics Service Center voids warranty.
This warranty provides you with specific legal rights. You may have additional rights which may vary from state to state. Because of individual state regulations, some of the above limitations and exclusions may not apply to you.
For more information regarding our product line in the USA, please visit: www.homedics.com
Mail To:
HoMedics
Consumer Relations
Service Center Dept. 168
3000 Pontiac Trail
Commerce Township, MI 48390
e-mail: [email protected]
phone: 800-466-3342
© 2006 HoMedics, Inc. and its affiliated companies, all rights reserved. HoMedics®is a registered trademark of HoMedics, Inc. and its affiliated companies. Envirascape™ is a trademark of HoMedics, Inc. and its affiliated companies. All rights reserved.
IB-WFLROC
Homedics WFL-ROC EnviraScape Rock Garden Illuminated Tabletop Relaxation Fountain Instruction Manual and Warranty Information – Download [optimized]
Homedics WFL-ROC EnviraScape Rock Garden Illuminated Tabletop Relaxation Fountain Instruction Manual and Warranty Information – Download



























