DRAPER 60508 20v Engraver Grinder Multi Tool Battery System

These instructions accompanying the product are the original instructions. This document is part of the product, keep it for the life of the product passing it on to any subsequent holder of the product. Read all these instructions before assembling, operating or maintaining this product.
This manual has been compiled by Draper Tools describing the purpose for which the product has been designed, and contains all the necessary information to ensure its correct and safe use. By following all the general safety instructions contained in this manual, it will ensure both product and operator safety, together with longer life of the product itself.
All photographs and drawings in this manual are supplied by Draper Tools to help illustrate the operation of the product.
Whilst every effort has been made to ensure the accuracy of information contained in this manual, the Draper Tools policy of continuous improvement determines the right to make modifications without prior warning.
TITLE PAGE
INTRODUCTION
USER MANUAL FOR: 20V Engraver/Grinder
Stock No: 60508
Part No: D20EG
REVISIONS
Date first published September 2021.
As our user manuals are continually updated, users should make sure that they use the very latest version.
Downloads are available from: http://drapertools.com/manuals
Draper Tools Limited Draper Tools Limited
Hursley Road Oude Graaf 8
Chandler’s Ford 6002 NL
Eastleigh WEERT
Hampshire Netherlands
SO53 1YF
UK
Website: drapertools.com
Product Help Line: +44 (0) 23 8049 4344
General Fax: +44 (0) 23 8026 0784
UNDERSTANDING THIS MANUAL’S SAFETY CONTENT
Warning! – Information that draws attention to the risk of injury or death.
Important – Information that draws attention to the risk of damage to the product or surroundings.
COPYRIGHT © NOTICE
Permission is granted to reproduce this publication for personal and educational use only. Commercial copying, redistribution, hiring or lending is prohibited. No part of this publication may be stored in a retrieval system or transmitted in any other form or means without written permission from Draper Tools Limited.
In all cases this copyright notice must remain intact.
WARRANTY
WARRANTY
Draper tools have been carefully tested and inspected before shipment and are guaranteed to be free from defective materials and workmanship. Should the tool develop a fault, please return the complete tool to your nearest distributor or contact:
Draper Tools Limited, Chandler’s Ford, Eastleigh, Hampshire, SO53 1YF. England. Telephone Sales Desk: +44 (0) 8049 4333 or Product Help Line +44 (0) 23 8049 4344. A proof of purchase must be provided with the tool.
If upon inspection it is found that the fault occurring is due to defective materials or workmanship, repairs will be carried out free of charge. This warranty period covering parts and labour is 24 months from the date of purchase except where tools are hired out when the warranty period is 90 days from the date of purchase. This warranty does not apply to any consumable parts, any type of battery or normal wear and tear, nor does it cover any damage caused by misuse, careless or unsafe handling, alterations, accidents, or repairs attempted or made by any personnel other than the authorised Draper warranty repair agent.
Note: If the tool is found not to be within the terms of warranty, repairs and carriage charges will be quoted and made accordingly.
This warranty applies in lieu of any other warranty expressed or implied and variations of its terms are not authorised.
Your Draper warranty is not effective unless you can produce upon request a dated receipt or invoice to verify your proof of purchase within the warranty period. Please note that this warranty is an additional benefit and does not affect your statutory rights.
Draper Tools Limited.
INTRODUCTION
SCOPE
Suitable for enthusiasts and tradespersons alike. This power tool is intended to function as a grinder, sander, wire brush, polisher, carving or cut-off tool. Any other application is considered misuse.
SPECIFICATION
Stock No……..60508
Part No. …. D20EG
Voltage …. 20V
No load speed … 5000-34000rpm
Soft shaft length …910mm
Chuck size …3.2mm
Accessories …. 32pcs including Collet Spanner Approximate running time
with 2Ah Battery … 50mins
with 4Ah battery…….. 120mins
HANDLING AND STORAGE
Care must still be taken when handling and lifting. Dropping this machine will have an effect on the accuracy and may also result in personal injury. This machine is not a toy and must be respected.
The environment will have a negative result on its operation if you are not careful. If the air is damp, components will rust. If the machine is unprotected from dust and debris; components will become clogged: And if not cleaned and maintained correctly or regularly the machine will not perform at its best.
HEALTH AND SAFETY INFORMATION
GENERAL SAFETY INSTRUCTIONS FOR POWER TOOL USE
Warning! Read all safety warnings, instructions, illustrations and specifications provided
with this power tool. Failure to follow all instructions listed below may result in electric shock, fire and/or serious injury.
Save all warnings and instructions for future reference. The term “power tools” in the warnings refers to your mains-operated (corded) power tool or battery-operated (cordless) power tool.
- Work area safety
a) Keep work area clean and well lit. Cluttered or dark areas invite accidents.
b) Do not operate power tools in explosive atmospheres, such as in the presence of flammable liquids, gases or dust. Power tools create sparks which may ignite the dust or fumes.
c) Keep children and bystanders away while operating a power tool. Distractions can cause you to lose control. - Electrical safety
a) Power tool plugs must match the outlet. Never modify the plug in any way. Do not use any adapter plugs with earthed (grounded) power tools. Unmodified plugs and matching outlets will reduce risk of electric shock.
b) Avoid body contact with earthed or grounded surfaces, such as pipes, radiators, ranges and refrigerators. There is an increased risk of electric shock if your body is earthed or grounded.
c) Do not expose power tools to rain or wet conditions. Water entering a power tool will increase the risk of electric shock.
d) Do not abuse the cord. Never use the cord for carrying, pulling or unplugging the power tool. Keep cord away from heat, oil, sharp edges or moving parts. Damaged or entangled cords increase the risk of electric shock.
e) When operating a power tool outdoors, use an extension cord suitable for outdoor use. Use of a cord suitable for outdoor use reduces the risk of electric shock.
f) If operating a power tool in a damp location is unavoidable, use a residual current device (RCD) protected supply. Use of an RCD reduces the risk of electric shock. - Personal safety
a) Stay alert, watch what you are doing and use common sense when operating a power tool. Do not use a power tool while you are tired or under the influence of drugs, alcohol or medication. A moment of inattention while operating power tools may result in serious personal injury.
b) Use personal protective equipment Always wear eye protection. Protective equipment such as a dust mask, non-skid safety shoes, hard hat or hearing protection use for appropriate conditions will reduce personal injuries.
c) Prevent unintentional starting. Ensure the switch is in the off-position before connecting to power source and/or battery pack, picking up or carrying the tool. Carrying power tools with your finger on the switch or energizing power tools that have the switch on invites accidents.
d) Remove any adjusting key or wrench before turning the power tool on. A wrench or a key left attached to a rotating part of the power tool may result in personal injury.
e) Do not overreach. Keep proper footing and balance at all times. This enables better control of the power tool in unexpected situations.
f) Dress properly. Do not wear loose clothing or jeweler. Keep your hair and clothing away from moving parts. Loose clothes, jeweler or long hair can be caught in moving parts.
g) If devices are provided for the connection of dust extraction and collection facilities, ensure these are connected and properly used. Use of dust collection can reduce dust-related hazards.
h) Do not let familiarity gained from frequent use of tools allow you to become complacent and ignore tool safety principles. A careless action can cause severe injury within a fraction of a second. - Power tool use and care
a) Do not force the power tool. Use the correct power tool for your application. The correct power tool will do the job better and safer at the rate for which it was designed.
b) Do not use the power tool if the switch does not turn it on and off. Any power tool that cannot be controlled with the switch is dangerous and must be repaired.
c) Disconnect the plug from the power source and/or remove the battery pack, if detachable, from the power tool before making any adjustments, changing accessories, or storing power tools. Such preventive safety measures reduce the risk of starting the power tool accidentally.
d) Store idle power tools out of the reach of children and do not allow persons unfamiliar with the power tool or these instructions to operate the power tool. Power tools are dangerous in the hands of untrained users.
e) Maintain power tools and accessories. Check for misalignment or binding of moving parts, breakage of parts and any other condition that may affect the power tool’s operation. If damaged, have the power tool repaired before use. Many accidents are caused by poorly maintained power tools.
f) Keep cutting tools sharp and clean. Properly maintained cutting tools with sharp cutting edges are less likely to bind and are easier to control.
g) Use the power tool, accessories and tool bits etc. in accordance with these instructions, taking into account the working conditions and the work to be performed. Use of the power tool for operations different from those intended could result in a hazardous situation.
h) Keep handles and grasping surfaces dry, clean and free from oil and grease. Slippery handles and grasping surfaces do not allow for safe handling and control of the tool in unexpected situations. - Service
a) Have your power tool serviced by a qualified repair person using only identical replacements parts. This will ensure that the safety of the power tool is maintained.
ADDITIONAL SAFETY INSTRUCTIONS FOR GRINDING, SANDING, WIRE BRUSHING, POLISHING, CARVING OR ABRASIVE CUTTING-OFF OPERATIONS
a) This power tool is intended to function as a grinder, sander, wire brush, polisher, carving or cut-off tool. Read all safety warnings, instructions, illustrations and specifications provided with this power tool. Failure to follow all instructions listed below may result in electric shock, fire and/or serious injury.
b) Do not use accessories which are not specifically designed and recommended by the tool manufacturer. Just because the accessory can be attached to your power tool, it does not assure safe operation.
c) The rated speed of accessories must be at least equal to the operating speed setting marked on the power tool. Accessories running faster than their rated speed can break and fly apart.
HEALTH AND SAFETY INFORMATION
d) The outside diameter and the thickness of your accessory must be within the capacity rating of your power tool. Incorrectly sized accessories cannot be adequately controlled.
e) The arbour size of wheels, sanding drums or any other accessory must properly fit the spindle or collet of the power tool. Accessories that do not match the mounting hardware of the power tool will run out of balance, vibrate excessively and may cause loss of control.
f) Mandrel mounted wheels, sanding drums, cutters or other accessories must be fully inserted into the collet or chuck. If the mandrel is insufficiently held and/or the overhang of the wheel is too long, the mounted wheel may become loose and be ejected at high velocity.
g) Do not use a damaged accessory. Before each use inspect the accessory such as abrasive wheels for chips and cracks, sanding drum for cracks, tear or excess wear, wire brush for loose or cracked wires. If power tool or accessory is dropped, inspect for damage or install an undamaged accessory. After inspecting and installing an accessory, position yourself and bystanders away from the plane of the rotating accessory and run the power tool at maximum no-load speed for one minute. Damaged accessories will normally break apart during this test time.
h) Wear personal protective equipment. Depending on application, use face shield, safety goggles or safety glasses. As appropriate, wear dust mask, hearing protectors, gloves and workshop apron capable of stopping small abrasive or workpiece fragments. The eye protection must be capable of stopping flying debris generated by various operations. The dust mask or respirator must be capable of filtrating particles generated by your operation. Prolonged exposure to high intensity noise may cause hearing loss.
i) Keep bystanders a safe distance away from work area. Anyone entering the work area must wear personal protective equipment. Fragments of workpiece or of a broken accessory may fly away and cause injury beyond immediate area of operation.
j) Hold power tool by insulated gripping surfaces only, when performing an operation
where the cutting accessory may contact hidden wiring. Cutting accessory contacting a “live” wire may make exposed metal parts of the power tool “live” and could give the operator an electric shock.
k) Always hold the tool firmly in your hand(s) during the start-up. The reaction torque of the motor, as it accelerates to full speed, can cause the tool to twist.
l) Use clamps to support workpiece whenever practical. Never hold a small workpiece in one hand and the tool in the other hand while in use. Clamping a small workpiece allows you to use your hand(s) to control the tool. Round material such as dowel rods, pipes or tubing have a tendency to roll while being cut, and may cause the bit to bind or jump toward you.
m) Position the cord clear of the spinning accessory. If you lose control, the cord may be cut or snagged and your hand or arm may be pulled into the spinning accessory.
n) Never lay the power tool down until the accessory has come to a complete stop. The spinning accessory may grab the surface and pull the power tool out of your control.
o) After changing the bits or making any adjustments, make sure the collet nut, chuck or any other adjustment devices are securely tightened. Loose adjustment devices can unexpectedly shift, causing loss of control, loose rotating components will be violently thrown.
p) Do not run the power tool while carrying it at your side. Accidental contact with the spinning accessory could snag your clothing, pulling the accessory into your body.
q) Regularly clean the power tool’s air vents. The motor’s fan will draw the dust inside the housing and excessive accumulation of powdered metal may cause electrical hazards.
r) Do not operate the power tool near flammable materials. Sparks could ignite these materials.
s) Do not use accessories that require liquid coolants. Using water or other liquid coolants may result in electrocution or shock.
Kickback and related warnings
Kickback is a sudden reaction to a pinched or snagged rotating wheel, sanding band, brush or any other accessory. Pinching or snagging causes rapid stalling of the rotating accessory which in turn causes the uncontrolled power tool to be forced in the direction opposite of the accessory’s rotation. For example, if an abrasive wheel is snagged or pinched by the workpiece, the edge of the wheel that is entering into the pinch point can dig into the surface of the material causing the wheel to climb out or kick out. The wheel may either jump toward or away from the operator, depending on direction of the wheel’s movement at the point of pinching. Abrasive wheels may also break under these conditions.
Kickback is the result of power tool misuse and/or incorrect operating procedures or conditions and can be avoided by taking proper precautions as given below.
a) Maintain a firm grip on the power tool and position your body and arm to allow you to resist kickback forces. The operator can control torque reactions or kickback forces, if proper precautions are taken.
b) Use special care when working corners, sharp edges, etc. Avoid bouncing and snagging the accessory. Corners, sharp edges or bouncing have a tendency to snag the rotating accessory and cause loss of control or kickback.
c) Do not attach a toothed saw blade. Such blades create frequent kickback and loss of control.
d) Always feed the bit into the material in the same direction as the cutting edge is exiting from the material (which is the same direction as the chips are thrown). Feeding the tool in the wrong direction causes the cutting edge of the bit to climb out of the work and pull the tool in the direction of this feed.
e) When using rotary files, cut-off wheels, high-speed cutters or tungsten carbide cutters, always have the work securely clamped. These wheels will grab if they become slightly canted in the groove, and can kickback. When a cut-off wheel grabs, the wheel itself usually breaks. When a rotary file, high-speed cutter or tungsten carbide cutter grabs, it may jump from the groove and you could lose control of the tool.
Safety warnings specific for grinding and abrasive cutting-off operations
a) Use only wheel types that are recommended for your power tool and only for recommended applications. For example: do not grind with the side of a cut-off wheel. Abrasive cut-off wheels are intended for peripheral grinding, side forces applied to these wheels may cause them to shatter.
b) For threaded abrasive cones and plugs use only undamaged wheel mandrels with an unrelieved shoulder flange that are of correct size and length. Proper mandrels willreduce the possibility of breakage.
c) Do not “jam” a cut-off wheel or apply excessive pressure. Do not attempt to make an excessive depth of cut. Over-stressing the wheel increases the loading and susceptibility to twisting or snagging of the wheel in the cut and the possibility of kickback or wheel breakage.
d) Do not position your hand in line with and behind the rotating wheel. When the wheel, at the point of operation, is moving away from your hand, the possible kickback may propel the spinning wheel and the power tool directly at you.
e) When wheel is pinched, snagged or when interrupting a cut for any reason, switch
off the power tool and hold the power tool motionless until the wheel comes to a
complete stop. Never attempt to remove the cut-off wheel from the cut while the
wheel is in motion otherwise kickback may occur. Investigate and take corrective action
to eliminate the cause of wheel pinching or snagging.
f) Do not restart the cutting operation in the workpiece. Let the wheel reach full speed and carefully re-enter the cut. The wheel may bind, walk up or kickback if the power tool is restarted in the workpiece.
g) Support panels or any oversized workpiece to minimize the risk of wheel pinching and kickback. Large workpieces tend to sag under their own weight. Supports must be placed under the workpiece near the line of cut and near the edge of the workpiece on both sides of the wheel.
h) Use extra caution when making a “pocket cut” into existing walls or other blind areas. The protruding wheel may cut gas or water pipes, electrical wiring or objects that can cause kickback.
Safety warnings specific for wire brushing operations
a) Be aware that wire bristles are thrown by the brush even during ordinary operation. Do not overstress the wires by applying excessive load to the brush. The wire bristles can easily penetrate light clothing and/or skin.
b) Allow brushes to run at operating speed for at least one minute before using them. During this time no one is to stand in front or in line with the brush. Loose bristles or wires will be discharged during the run-in time.
c) Direct the discharge of the spinning wire brush away from you. Small particles and tiny wire fragments may be discharged at high velocity during the use of these brushes and may become embedded in your skin.
Important safety instructions for battery cartridge
a) Before using battery cartridge, read all instructions and cautionary markings on (1) battery charger, (2) battery, and (3) product using battery.
b) Do not disassemble battery cartridge.
c) If operating time has become excessively shorter, stop operating immediately. It may result in a risk of over-heating, possible burns and even an explosion.
d) If electrolyte gets into your eyes, rinse them out with clear water and seek medical attention right away. It may result in loss of your eyesight.
e) Do not short the battery cartridge:
a) Do not touch the terminals with any conductive material.
b) Avoid storing battery cartridge in a container with other metal objects such as nails, coins, etc.
c) Do not expose battery cartridge to water or rain. A battery short can cause a large current flow, over-heating, possible burns and even a breakdown.
f) Do not store the tool and battery cartridge in locations where the temperature may reach or exceed 50°C (122°F).
g) Do not incinerate the battery cartridge even if it is severely damaged or is completely worn out. The battery cartridge can explode in a fire.
h) Be careful not to drop or strike battery.
i) Do not use a damaged battery
j) The contained lithium-ion batteries are subject to the Dangerous Goods Legislation requirements. For commercial transports e.g. by third parties, forwarding agents, special requirement on packaging and labelling must be observed. For preparation of the item being shipped, consulting an expert for hazardous material is required. Please also observe possibly more detailed national regulations. Tape or mask off open contacts and pack up the battery in such a manner that it cannot move around in the packaging.
k) Follow your local regulations relating to disposal of battery.
TECHNICAL DESCRIPTION
IDENTIFICATION

(1) Accessory storage for frequently used bits.
(2) Speed control dial.
(3) On/off switch.
(4) Flexible shaft.
(5) Collet nut.
(6) Pen holder.
(7) Key hole hanger.
UNPACKING AND CHECKING
PACKAGING
Carefully remove the product from the packaging and examine it for any sign of damage that may have happened during shipping. Lay the contents out and check them against the parts shown below. If any part is damaged or missing, please contact the Draper Help Line (the telephone number appears on the Title page) and do not attempt to use the product. The packaging material should be retained at least during the warranty period, in case the machine needs to be returned for repair.
Warning!
- Some of the packaging materials used may be harmful to children. Do not leave any of these materials in the reach of children.
- If any of the packaging is to be thrown away, make sure they are disposed of correctly, according to local regulations.
D20 MULTI-TOOL INTERCHANGEABLE BATTERY SYSTEM
The D20 range of tools are a range of tools suitable for enthusiasts and tradespersons alike, featuring a wide array of machines all running from the same range of batteries. Many different capacity batteries are available making sure you can balance tool weight with longevity and find a battery that meets your needs. To find out the latest range of accessories including batteries and chargers please consult the Draper website for more information or to find your local Draper stockist.
WHAT’S IN THE BOX
As well as the main product, there are several parts not fitted or attached to it.
Note: For details of our full range of accessories and consumables, please visit drapertools.com

(8) 1 x Polishing paste.
(9) 4 x Cutting wheels.
(10) 1 x 3mm HSS drill bit.
(11) 3 x Grinding points (cone, cylinder shape).
(12) 1 x Collet spanner with plain slot screwdriver.
(13) 1 x Small sanding drum holder.
(14) 1 x Large sanding drum holder.
(15) 4 x Polishing wheels.
(16) 6 x Large sanding drums.
(17) 6 x Small sanding drums.
(18) 1 x Polishing wheel holder
(19) 1 x Disc holder
(20) 1 x Tungsten milling point
(21) 1 x Diamond grinding point
PREPARING THE ENGRAVER/GRINDER
CONNECTING THE PEN HOLDER AND FLEX SHAFT TO THE ENGRAVER/ GRINDER CONSOLE – FIGS.1 – 2
− Slide the flange on the pen holder (6) into the opening on the side of the engraver/grinder console until it is fully seated.

Note: Once fully seated, the tab on the flange will snap into the housing, preventing the pen holder from being removed.
− Place the collar of the flex shaft (4) onto the threaded outlet on the engraver/grinder console.
− Turn the collar clockwise and tighten securely

OPERATION
INSTALLING/REMOVING BATTERY PACK – FIG.3

To install:
− Insert the battery pack.
− Make sure the latches on each side of the battery pack snap into place and the battery pack is secured in the product before beginning operation.
To remove:
− Depress the latches on each side of the battery
− For complete charging instructions, see the operator’s manuals for your battery pack and charger
TURNING THE ENGRAVER/ GRINDER ON/OFF – FIG.4

− To turn the tool ON: move the ON/OFF switch (3) to the ON position.
− To turn the tool OFF: move the ON/OFF switch (3) to the OFF position.
INSTALLING/REMOVING ACCESSORIES – FIG.5

Notice: To prevent damage to the spindle or spindle lock, always allow motor to come to a complete stop before engaging the spindle lock.
To install:
- Remove the battery pack. − Slide the spindle lock lever forward and rotate the shaft by hand until the spindle lock engages the shaft, preventing further rotation.
- With the spindle lock engaged, use the collet wrench (12) to loosen the collet nut (5), if necessary.
- Insert the shank of the accessory into the collet until the shank bottoms out, then pull it out 1/16″ to allow for expansion when the accessory gets hot.
- With the spindle lock engaged, tighten the collet nut (5) with the provided wrench until the accessory shank is gripped by the collet. Avoid excess tightening of the collet nut (5) .
To remove:
- Remove the battery pack.
- With the spindle lock engaged, loosen the collet nut (5) with the provided wrench (12)
- Remove the accessory
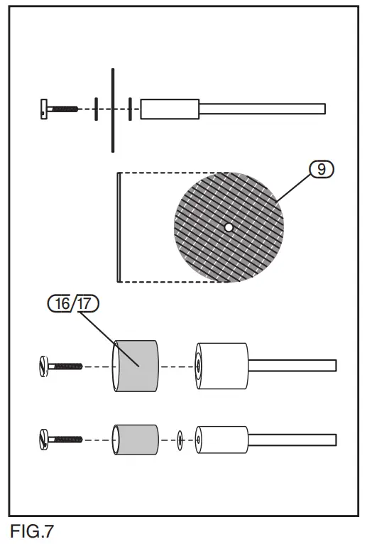
USING MANDRELS – FIGS.6 – 7


The most common types of mandrel to use with this tool include the standard mandrel which is used with cut-off discs, grinding wheels, emery wheels, and cut-off wheels. Screw mandrels are used with polishing wheels and polishing drums. Drum mandrels are used with sanding drums.
To install:
- Remove the battery pack.
- Install the mandrel.
If using the standard mandrel:
- − Press and hold the spindle lock.
- Insert the slot end of the provided wrench into the slot on top of the mandrel and unscrew.
- Remove mandrel screw and washer.
- Place desired accessory over mandrel shaft and align accessory hole with mandrel hole.
- Insert mandrel screw with washer through the accessory and mandrel shaft holes.
Note: The mandrel washer should be placed between the mandrel screw and the accessory.
- Tighten using provided wrench.
If using the screw mandrel:
- Align desired accessory hole with mandrel screw head.
- Screw accessory onto mandrel by twisting clockwise until secure.
If using the drum mandrel:
- Align appropriate sized sanding drum (16/17) over mandrel and push down to completely cover drum end of mandrel.
Note: If necessary, tighten the screw on the drum mandrel head to expand the drum and securely hold the sanding drum in place.
BALANCING ACCESSORIES
- For precision work, it is important that all accessories be properly balanced. To balance an accessory, slightly loosen the collet nut and give the accessory or collet a 1/4″ turn.
- You should be able to tell by the sound and feel if the accessory is running in balance. Continue adjusting in this fashion until the best balance is achieved. Replace accessories if they become damaged or unbalanced.
SELECTING THE RIGHT SPEED – FIG.8

- The engraver/grinder has a speed range of 5,000-34,000 RPM. To select the right speed for each job, use a practice piece of material. Vary speed to find the best speed for the accessory you are using and the job to be done.
- Use the speed control dial (2) to set the best speed for the job. When the dial is set to the maximum setting, approximately 34,000 RPM is achieved.
- Refer to the Speed Dial Settings table (page 19) to determine the proper speed based on the material being worked and the type of accessory being used.
Slower speeds
- Certain materials, some plastics for example, require a relatively slow speed because the friction of the tool generates heat and causes the plastic to melt at high speed.
- Slow speeds (15,000 RPM or less) are usually best for polishing operations using the polishing accessories. They may also be best for working on delicate projects, delicate wood carving, and fragile model parts.
- Higher speeds are better for carving, cutting, and shaping wood.
- Hardwoods, metals, and glass require high speed operation. Drilling should also be done at high speeds.
- To determine the optimum operational speed for different materials and accessories, refer to the Speed Dial Settings table (page 19). Look this table over and become familiar with it.
- The best way to determine the correct speed for work on any material is to practice for a few minutes on a piece of scrap, even after referring to the table. You can quickly learn that a slower or faster speed is more effective just by observing what happens when you make a pass or two at different speeds.
- When working with a scrap piece of plastic, start at a slow rate of speed and increase the speed until you observe whether the plastic is melting at the point of contact; reduce the speed slightly to get optimum working speed without melting the workpiece.
Note:
- Plastic and materials that could melt at low temperatures should be cut at low speeds.
- Soft wood should be cut at high speed.
- Aluminium, tin, and copper, lead, and zinc alloys may be cut at any speed, depending on the type of cutting being done. Use paraffin or other suitable lubricant on the cutter to prevent thecut material from adhering to the cutter teeth.
Speed Dial Settings
| Type of Accessory | Application | Speed (x 1000) |
| Aluminium Oxide Grinding Bits | Grinding nails/screws | 32 |
| Fibreglass Cut-off Wheel | Cut bolts, screws, nails, thin wood | 30 |
| Sanding Drums | Sanding white pine | 30 |
| Felt Polishing Wheels | Polishing steel, aluminum, brass, stone, ceramic, glass | 12-15 |
| Drill Bit | Drilling holes into wood | 32 |
| Wire Brush | Brushing metal | 15 |
| Engraving Bit | Engraving soft metals | High speeds for woods, slow speeds for metals |
| High-speed Cutter | Shaping curved surfaces | 20-33 |
| Conical Grinding Stone | Grinding metal edges | 32 |
OPERATING THE ENGRAVER/ GRINDER – FIG.9

Learning to use the engraver/grinder:
- Hold the pen in your hand and get used to its weight, balance, and the taper of the housing. This taper permits the pen to be grasped like a pencil.
- Examine the engraver/grinder accessories carefully. Damaged accessories can fly apparats they come up to speed and should not be used. The use of damaged accessories can result in serious personal injury.
- Practice on scrap materials first to see how the tool operates. Keep in mind that the work is done by the speed of the tool and by the accessory in the collet. You should not lean on or push the tool into the work.
It is best to make a series of passes with the tool rather than attempt to do all the work in one pass.
To make a cut, pass the tool back and forth over the work like you would a small paint brush. Cut a little material on each pass until you reach the desired depth. For most work, a gentle touch is best; you will have greater control, make fewer errors, and get the most efficient work out of the accessory.
For the best control in close work, grip the tool like a pencil between your thumb and forefinger. A “hand grip” method of holding the tool is used for operations such as grinding a flat surface or using cut-off discs.
To operate the engraver/grinder:
- Secure all work in a vice or clamp to a workbench to prevent it from moving under the tool.
- Hold the tool in front and away from you, keeping the tool accessory clear of the workpiece.
- Turn on the tool and let the motor and accessory build up to full speed.
- Lower the tool gradually until the accessory contacts the workpiece.
- Move the tool continuously at a steady, consistent pace.
- Use just enough pressure to keep the tool from chattering or bouncing
Note: Heavy pressure will decrease the tool’s speed and put a strain on the motor. The weight of the tool alone is adequate for most jobs.
- Lift the tool away from the workpiece before turning off the tool.
MAINTENANCE AND TROUBLESHOOTING
MAINTENANCE
Avoid using solvents when cleaning plastic parts. Most plastics are susceptible to damage from various types of commercial solvents and may be damaged by their use. Use clean cloths to remove dirt, dust, oil, grease, etc.
EXPLANATION OF SYMBOLS
EXPLANATION OF SYMBOLS
![]() | Read the instruction manual. |
![]() | Wear face mask and safety glasses. |
![]() | Wear ear defenders. |
![]() | Do not abandon into the environment. |
![]() | Keep out of the reach of children. |
![]() | Warning! |
![]() | Continuous A-Weighted Sound Pressure Level. |
![]() | Class II construction (Double insulated). |
![]() | WEEE – Waste Electrical & Electronic Equipment. Do not dispose of Waste Electrical & Electronic Equipment in with domestic rubbish. |
![]() | For indoor use only. Do not expose to rain. |
DISPOSAL
DISPOSAL
– At the end of the machine’s working life, or when it can no longer be repaired, ensure that it is disposed of according to national regulations.
– Contact your local authority for details of collection schemes in your area.
In all circumstances
- Do not dispose of power tools with domestic waste.
- Do not incinerate.
- Do not dispose of WEEE* as unsorted municipal waste.

* Waste Electrical & Electronic Equipment.
CONTACTS
Draper Tools Limited
UK: Hursley Road, Chandler’s Ford, Eastleigh,
Hampshire. SO53 1YF. U.K.
EU: Oude Graaf 8 6002 NL Weert (NL)
Help Line: (023) 8049 4344
Sales Desk: (023) 8049 4333
Internet: drapertools.com
E-mail: [email protected]
General Enquiries: (023) 8026 6355
Service/Warranty Repair Agent:
For aftersales servicing or warranty repairs, please contact the Draper Tools Help Line for details of an agent in your local area.
YOUR DRAPER STOCKIST
TAPR0921
©Published by Draper Tools Limited.
No part of this publication may be reproduced, stored in a retrieval system or transmitted in any form or by any means, electronic, mechanical photocopying, recording or otherwise without prior permission in writing from Draper Tools Ltd




























