LUMINO V36R Optic IP50 Light Installation Guide
HANDLING PRECAUTIONS
PLASTIC COVER / DIFFUSER
To avoid permanent damage, do not allow small or sharp objects to apply pressure on to the plastic cover / diffuser.
STRESS
Never stand or place weighted items on the product. The product is not vandal resistant and has no IK rating. Do not subject the product to impact forces.
POWER CABLES
The product end caps, power cables and connectors must not be pulled or twisted. Never pull the product by its power cables or hang it from its power cables or connectors.
CUTTING AND SAWING
The product must not be sawn, drilled or otherwise modified in any way.
DAMAGES
Inspect the product. If you see any damage upon unpacking, report to LUMINO immediately and do not install the product.
LOCATION
Use in dry locations only. This product is unsuitable for wet and damp locations. IP50 rated for dust protection.
Protect product from dust, paint and harmful substances during installation and use. Ensure product is not exposed to VOC gases.
Do not obstruct the product and its light output.
SAFETY GUIDANCE
WIRING GUIDE
Follow the guidance shown in the provided wiring guide, including maximum cable lengths, cable sizes and other wiring instructions. When running cables through an enclosure, ensure cables are protected from damage, separated from mains voltage cables and anchored against being pulled. Make connections appropriate for the IP rating of the product.
QUALIFIED INSTALLER
Installation must be carried out by a qualified person and conducted in accordance with local regulations and applicable standards.
THERMAL MANAGEMENT
Ensure ambient temperature (Ta) does not exceed 40°C (104°F) and case temperature (Tc) does not exceed 70°C (158°F). Exceeding maximum Tc will cause permanent damage and void the product warranty.
Allow sufficient clear air space for the LED drivers, as well as suitable access to the drivers as specified on installation instructions.
REPAIR AND REPLACEMENT
If the product is not functioning, contact LUMINO to register a Service Call for factory repair or replacement. Light source is not user replaceable. See page 5 for Ecodesign and end of life information.

DRIVERS
POWER OFF
Product and driver must not be live wired. Switch off power before work begins. Follow instructions and guidance for the make and model of driver being used.
CONSTANT CURRENT DC
Ensure supply current does not exceed 350mA or 500mA (see product label). Drivers must be constant current type with both overload and short-circuit protection. Exceeding the stated voltage or current will cause permanent damage and void the product warranty.
DIMMERS
Check dimmer is compatible with the driver and certified to local regulations.
INRUSH CURRENT
Many LED drivers can have high inrush current at power-on. Driver inrush current can be many times the normal operating current. Use a suitable MCB. Type C MCBs are normally suitable but if inrush current is a persistent problem an inrush suppressor may be required.
PROTECTION
Use only with constant current Class 2 power unit to UL1310 standard with overload and short-circuit protection. Rate drivers for at least 10% above load. Driver protection circuitry must not be relied upon to protect secondary electrical circuits from damage caused by over-voltage or short circuit. DC fuses or DC electronic circuit breakers are recommended for full protection. Allow for access to drivers for maintenance and sufficient clear air space for ventilation.
CABLING
Do not overload the driver. Damage will be caused by incorrect input voltage, reverse polarity or short circuit. Plan for loads, driver locations, dimming and cabling prior to start of work. Ensure basic insulation is maintained between mains and dimming control wires.
ACCESSORIES
IDC Connector
VECA-CA90 -R1
Sealant connector.
1 – 3A Max / 3 – 5A Max. Pair

IP50 Joining Kit
V36R-JA203-R1
Linear joining kit

CHECK FIRST

TURN OFF POWER! COUPER LE COURANT! STROM ABSHALTEN! CORTE CORRIENTE!

CHECK THE WALL! VËRIFIER LE MUR! DIE WAND ÜBERPRÜFEN! COMPRUEBE LA PARED!
INSTALLATION
- Plan Installation
Check product and its dimensions against the planned installation. Runs of LEDs may have to be installed in a particular sequence.
- Prepare Power Supply
This product requires a 350mA or 500mA (see product label) constant current power supply. Please refer to the provided wiring guide document. Failure to follow guide may result in damage to the product and voiding of warranty.
- Cut-out Requirements
Saw cut-out using dimensions below. As shown, add an additional 1mm to the length of the cut-out, with a surface thickness of 12.5mm MIN.
- Ceiling Void Requirements
Observe minimum space requirements behind the product. V36R requires 150mm of clear air around the product and to be 150mm away from the LED driver.
- Safety Tether
Secure safety tethers, refer to chart for weights and dimensions. Use appropriate fixings and techniques as required by local regulations.
Length Cut-out Weight 305mm 40mm x 306mm 0.57 KG 600mm 40mm x 601mm 1.07 KG 900mm 40mm x 901mm 1.60 KG 1190mm 40mm x 1191mm 2.10 KG 
- Connect to LED Driver
With the power off. Feed the power cables to the V36R, connecting the product to the LED driver.
- Local regulations must be observed.
- Do not exceed current rating on product label.
- Do not hot-wire the luminaire.
Please refer to provided wiring guide document. Failure to follow the provided guide may result in damage to the product and voiding of warranty.
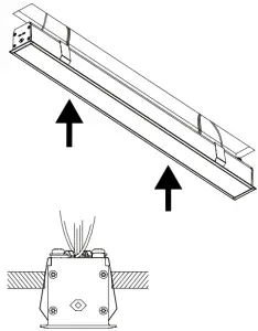
- Install V36R
Install into cut-out, applying even pressure. Check that the spring clips have engaged, securing the V36R in place.

- Clean
Clean V36R should be cleaned with a soft, dry cloth.
- Power Up
Finalise all electrical connections and test the circuit. If the product does not function as expected, turn power off immediately and check all connections.
END CAP INSTALLATION
V36R-M_202-R1
Install End Caps and Gaskets
Using a torx T8 screwdriver, attach both the end caps and gaskets to the V36R profile. Hand tighten screw, do not over torque.
JOINING KIT INSTALLATION
V36R-JA203-R1
- Remove End Cap and Gasket
To install the joining kit, prepare both joining products by removing an end cap and gasket from each product, using a torx T8 screwdriver.
- Remove Diffuser and Gear Tray
Gently pry diffuser away from V36R. Then carefully remove the gear tray.
- Install Joining Plate
Slide plate and pins into the rear channel of the V36R.
- Tighten Screws
Fix position of the plate against the first V36R profile. Make sure that the joining plate will equally straddle both joining products.
- Join Products
Slide the next V36R on to the joining plate and tighten grub screws.
- Reinstall Diffuser and Gear Tray
Reinstall diffuser and gear tray into the V36R. Only use hands to install parts.
- Mount the Joined V36R
Carefully lift and mount the joined products into the mounting surface.
ECODESIGN REGULATION
This product is considered to be a “containing product” in the sense
of Regulations (EU) 2019/2020 and (EU) 2019/2015.
The contained light source is an integrated part of the containing product and its removal can only be done by causing permanent damage to the containing product.
Therefore, replacement of the light source with the use of commonly available tools is not justified due to its restricted mechanical, electrical, optical, thermal and/or environmental protection requirements.

DISMANTLING
Dismantling of light source from the containing product at end of life:
The containing product shall be cut to the length of the contained light source and the light source mechanically detached from the containing product. Containing product component parts shall then be disassembled.
Containing products shall be separated from building material and/or from other additional mounting accessories by means of a professional installer.
Separate control gear and light sources must be disposed of at certified disposal companies in accordance with Directive 2012/19/EU (WEEE) in the EU and with Waste Electrical and Electronic Equipment (WEEE) Regulations 2013 in the UK.
LUMINO is a member of the WEEE
producer complaince scheme.
Registration number: WEE/MM8138AA
ENERGY RATING
This product contains light sources of energy efficiency classes as shown:
| LED | CCT | 60W/m |
| ColorCORE | 4000K | 60W/m |
| 3500K | F | |
| 3000 | F | |
| 2700K | F |
LED Driver Wiring


Cable lengths are based on average resistance for typical copper cables. Cable characteristics may vary according to manufacturer, temperature, copper purity, connections etc.

Observe maximum cable lengths – as shown above or as specified by the driver manufacturer, whichever is the shortest. Longer cable lengths increase EMI susceptibility.

For further help regarding installation visit lumino.lighting
Use appropriate constant current LED drivers (350mA or 500mA, see product specification) with overload and short-circuit protection. Use reputable driver manufacturers with appropriate standards for the local requirements.
USA & Canada: Use only with Class 2 power unit to UL1310 standard. Use only with maximum output 350mA or 500mA (see product specification) Class 2 power unit.
IM-Constant_Current_CC_R2103
Maximum cable lengths shown above are calculated for voltage drop and do not consider EMI. Long cables can potentially emit EMI. Do not exceed the maximum cable length stated by the driver manufacturer. Installers must ensure EMI emissions do not exceed local regulated limits.
Shielded cables and ferrite coils can be used where applicable.
Installers must ensure voltage drop does not exceed 2%.
Ensure LED driver is disconnected from mains before making any connections.
Polarity is critical and must be observed when making connections.
Constant current LED circuits must be wired in series. Parallel wiring will not correctly power the LEDs and can potentially cause damage.
Live loading or incorrect polarity connections of LEDs will cause damage and void the warranty.
Constant current LEDs can have high forward voltages at power-on. LED forward voltage can be significantly be higher than the normal operating voltage of the circuit. Colder temperatures will also increase the forward voltage required to power up the LEDs.
Constant Current LED drivers can also have high inrush current at power-on. Driver inrush current can be many times the normal operating current. Use a suitable MCB. Type C MCBs are normally suitable but if inrush current is a persistent problem an inrush suppressor may be required.
- Installation must be carried out by qualified electrician.
- Electrical work to be conducted in accordance with local regulations.
- Power must be disconnected prior to installation work.
- Ensure free-moving air space around LEDs and drivers.
- Protect the LEDs from dust and paint during installation and use.
- Plan for loads, driver locations, cables sizes etc prior to installation.
- Shielded control pair required for dimming signal wires.
- Incorrect current/voltage, reverse polarity or short circuit will cause damage.
TECHNICAL SUPPORT
+44(0) 1279 635 411
www.lumino.lighting
LUMINO DISTRIBUTION LTD
Lumino House, Lovet Road
Harlow, Essex CM19 5TB
United Kingdom
Installers must read this document and any other referenced documents in full before commencing installation work. Failure to observe all installation guidance in this document may result in unsafe installation, cause permanent product damage and void product warranty.
This document is subject to change without notice. Check for latest documentation with LUMINO. Copyright © LUMINO. E&OE




































