B096LK3HS5 1:76 Remote Control Car
Instruction Manual
Shenzhen NewStone Technology Co., Ltd.
www.turboracinghobby.com
Please read the manual before using the product and keep the manual for future use.
Safety information
- This product is strictly prohibited for children under 8 years old, avoid accidents, children over 8 years old should be played in the presence of their guardian and not allowed to leave their guardian’s sight. Please keep this product out of reach of children when charging and saving.
- Movable parts are dangerous, so it is forbidden to put fingers、hair、clothes, and other things into the space between the tire and the car body, to avoid being clamped by the rotating parts.
- Please play the car with the following scenarios:
Please don’t play in places where the car is running or near children, then avoid the risk of collision.
Please don’t play it in sand、water or dust, then avoid failure.
Please don’t play towards people or animals, then avoid accident. - For functional requirements, this product contains sharp parts, please follow the correct steps and use methods, pay attention to eye safety.
- Please don’t bend or throw the product or play it in rough ways, then avoid accidents.
- Please don’t put this product into water or fire source(such as stove、gas stove, etc.), then avoid accidents.
The package contains

Function description

Prepare for run
Charging
Take the rc car and accessories out of the box, it can be charged in the following two ways when the cars are powered off; (Please charge the RC car before the first use)
Tip: When the car is power on, it will not be charged when charging power is inserted.
If need charges the car, the car’s power switch must be turned “OFF”.
Use the hidden Type-C port on the remote to charge the car.(Picture A-J)
![]() | ![]() |
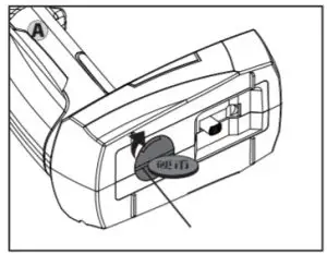
| A.Turn the coin button clockwise 90° | B. from the bottom of the remote, take out the battery box |
![]() | ![]() |
| C. Install four AAA batteries according to the polarity mark on the battery case bracket | D. Install the battery box. Insert the battery box into the handle and rotate coin button 90° counterclockwise. The battery box is installed. Note: Type-C port is aligned with the bottom hole |
![]() | ![]() |
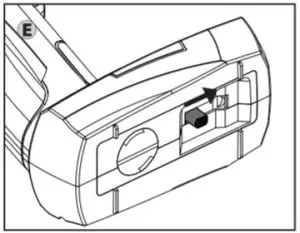
| E. Push the charging rod forward to the bottom. | F. When the pushrod on the bottom, then rotate the push rod 90° clockwise |
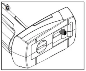
![]() | ![]() |
| G. The push rod rotate 90° clockwise done, launch port finished. | H. The remote and the car must be off at the same time, and then plug the car into the remote charging port for charging. |
![]() | ![]() |
| I. After the vehicle is plugged into the charging port, switch the remote switch to the charging mode. | J. Then the default red led of the remote is long light. If the charging led light of the remote is off, means the charging is completed. (Short press channel 3 to switch the color of the multi-color light, long press channel 3 to switch the breathing light). |
Insert the attached charging cable into the charging port of the car and connect the power supply for charging. (as picture shows)
Note: Before charging the car, make sure the charging plug is dry.
Do not leave when charging the car. 
Turn on/off the power of the car
Turn on the car: Turn on the power switch (switch to “ON” position), After the LED lights on for 1 second, the car is power on.
If the car’s headlight is solid, the binding procedure is completed.
The car’s headlight flashing indicates that the car needs binding.
Turn off the car: turn off the power switch, (switch to “OFF” position), the LED goes off and the car is powered off.
Operation Note
Note: If you’re the first time to use the 1:76 scale RC car, please take a few minutes to read this statement carefully to get familiar with the different features of this operating system.
Functions Transmitter

- Throttle: Control forward / brake /
- Steering wheel: control left / right steering
- Multi-function indicator LED: LED indicator
- Steering Rev: use the reverse steering switch to reverse the left and right directions.
- Throttle fine adjustment: when the trigger is in the neutral position, if the car moves forward or backward, please use the throttle fine adjustment.
- Three section throttle speed limit switch: 20% / 50% / 100%.
- Throttle DR: throttle DR is used to adjust the throttle stroke and set the car speed freely.
- Steering fine adjustment: when the adjusting wheel is in the neutral position, if the front wheel does not go straight line, please use steering fine adjustment.
- Steering DR: steering DR is used to adjust the steering angle of the front wheels to make the car reach the best turning
- On/Off Switch: turn on / charge switch / turn off the transmitter
- Disassemble the remote: the handle can be disassembled (as shown in picture 1)
- Channel 3 button: control the car chassis light on / off; when is charging, short press channel 3 button to switch the color of multi-color light; Long press channel 3 button to switch breathing light.
- Handle: used to hold the transmitter.
- Type-C charging port: hidden port for charging the car (as shown in picture 2)
- Channel 4 button: Channel 4 is a three-stage switch, the first-stage switch turns off the front and rear lights of the car; The second-stage switch is used to turn on the front and rear long lights; The third-stage switch headlight flashes twice quickly.
- Coin button of the battery compartment(as shown in picture 3)
- Type-C port charging push rod (as shown in picture 4)
- Charging indicator: in charging state, press the channel 3 key to switch the color of the indicator; Long press the channel 3 key to switch the breathing light (as shown in Figure 5).
![]() | ![]() |
![]() | ![]() |
![]() | |
Install and remove the remote control handle
- Press the button
- take away the handle
- Press and hold the remove button and push the handle inside
Tips: Pay attention to the direction of the handle
![]() | ![]() | ![]() |
Note: if the handle of the remote is in the wrong direction, it will not be powered on. Please install the handle correctly according to the instructions
Transmitter battery installation
This remote uses an AAA battery or Ni MH battery, when the voltage is lower than 4.5V ± 0.2V, the LED starts flashing.
A. Find the coin button of the battery compartment from the bottom of the remote and turn it 90 ° clockwise. Then the battery compartment can be taken out; Install four AAA batteries according to the polarity mark on the battery.
B. Reinstall the battery compartment, insert the battery compartment into the handle, and rotate the coin button 90° counterclockwise. The battery compartment is installed( Note: Type-C port is aligned with bottom hole)
WARNING: DO NOT ATTEMPT TO CHARGE A NON-RECHARGEABLE BATTERY, OR IT WILL EXPLODE.
WARMING: DO NOT KEEP THE BATTERY IN THE BATTERY COMPARTMENT FOR A LONG TIME TO AVOID BATTERY OXIDATION AND DAMAGE THE PRODUCT.
Binding
![]() | ![]() |
| 1. Switch on the transmitter. | 2. Turn on the power switch on the car, and the front light on the car flashes. |
![]() | |
| 3. Insert the binding plug into the BIND channel slot on the car, if the LED stops flashing, and stays lit permanently, the binding procedure is completed. | |
Tip: if fail binding, please turn off the power switch of the car and remote, and restart the binding.
Note: the wireless RC car has been connected to the remote. The above procedure is only necessary when using a new remote or car.
Turn off the car: please turn off the power switch of the car first, and then turn off the power switch of the remote to prevent the car from losing control.
Car running settings
- TH/TRIM: When the throttle trigger is in the middle point if the car is moving forward or backward, please adjust it with the TH/TRIM “+” or “-” button.
- ST/TRIM: When the steering wheel is in the middle position, if the front wheel is not in a straight line, please adjust it with ST/TRIM “+” or “-” button.
- TH/DR: Throttle DR is used to adjust the throttle and car speed freely.
- ST/DR: Steering DR is used to adjust the front wheel steering angle to make the car reach the best turning radius.
Note: Excessive steering angle may cause the front wheel and body parts to affect each other when running, please adjust the steering angle reasonably. - Steering REV: It is used to reverse the left and right directions of the car.
- Three-section throttle speed limit switch: 20% / 50% / 100%.
Specification
| Product name | 1:76 remote control car | Scale | 1:76 |
| Driving distance | 30m | Driving time | 30min |
| Slope angel | 30° | Size | 60×26.5×17.5mm |
| Drive mode | Two-wheel drive | Weight | 15g |
| Proportional steering | Proportional steering | Battery parameter | 3.7V, 40mAh, lithium battery |
LED light status table
| display | status |
| The headlights flash every 2 seconds | Wait for the remote control to pair with the vehicle |
| The front and rear lights of the vehicle are on long | The remote control is connected to the car and can be operated |
| The red light of the tail lamp is bright | Braking status |
| The front and tail lights are off | The RC car is power off, the power is insufficient, channel 4 and first-stage switches are in the off state |
Product performance failure table
| Product Name | Product performance failure |
| 1:76 remote control car | 1. The product cannot be turned on. 2. Cannot charge. 3. Unable to operate. 4. Dysfunction. |
Maintenance
- Before using the product, please ensure that all components have been tightened, check and clear foreign matter in the gap between the wheel and chassis.
- When the car is to be stored for a long time, it should be kept at 70% of its power to maximize battery life. And charge the battery once every 1-3 months to avoid battery damage. (It is recommended to fully charge the battery and store it after 5-10 minutes of use).
- If the remote control will not be used for a long time, please remove the batteries to avoid oxidation.
Troubleshooting
| Fault symptom | Cause of failure | Solutions |
| The transmitter connection failed | 1. Distance is too far 2. Multi cars pairing at the same time | Make sure that the product is in car receiving mode.(The headlights flash). |
| Freeze | The foreign object between the wheels | Check the wheels for foreign objects |
| No reaction when remote control left and right steering / no response when steering | The steering angle is set too small | Reset the steering angle |
| The steering is in the opposite direction of the remote steering operation | The remote steering reverse switch is not properly set | Set the remote steering reverse switch to the correct direction |
| When the throttle is in neutral position, the car immediately starts to move forward or backward | The throttle fine-tuning does not set to the center position center position | Set the remote throttle fine-tuning to the |
| The car cannot move in a straight line/The left and right steering radius is significantly different | Steering fine-tuning is not set to the center position | Set the steering fine-tuning to the center position |
| The maximum speed cannot be reached | 1. The throttle DR setting is too small 2. Battery Low 3. Foreign objects between the wheels | Set the throttle DR size on the remote throttle DR, and check for foreign objects and battery level |
| Overheating in the motor part | Ambient temperature is too high | The car should be immediately turned off and placed in a cool, well-ventilated place for cooling to avoid damage to electronic parts |
| The power-on light is not on | The voltage is less than 3.0V and there is not enough power | Charge in a timely manner |
| Shutdown |
Precaution
- This product includes the small parts, there is a risk of suffocation, children under 3 years old are not allowed.
- The car contains lithium batteries. Disassembling, striking, squeezing, or throwing the car into the fire is prohibited. If severe swelling occurs, do not continue to use it. Do not place it in a high-temperature environment.
- Due to the special feature of lithium batteries, overly high or low temperature will affect the battery charge and discharge performance and battery life, so please do not use or store this product in environments such as high temperature, low temperature, high humidity, or direct sunlight.
- The charging cable, plug, body shell, and other parts must be checked regularly for damage. If the damage is found, stop using until the repair is complete.
- The car has low battery voltage protection.
- When the battery voltage is lower than 3.0V, it will automatically cut off the current and the car will seize all functions to protect the battery.
- When using remote control nearby high-voltage power lines, light rails, microwave ovens electric waves of the same frequency will lead to dysfunction of the car. Please change the location or choose another time to operate.
- Our company holds no responsibility if accidents such as injury to others or damage due to operating errors.
Non-warranty regulations
- Unauthorized repair, misuse, collision, negligence, abuse, fluid intake, accidents, alterations, incorrect use.
Non-product accessories, or tear, alter marks and anti-counterfeiting marks; - The validity period of “three guarantees” has passed.
- Damage caused by force majeure;
- Does not meet the performance failures listed in “performance failure table of 1:76 remote control car”;
- Performance failure of the product and its accessories that meet the “performance failure table of 1:76 remote control car” due to human factors.
1. Return and exchange services require confirmation.
When the client applies for return and exchange, it is necessary to follow the smart remote-control car warranty instructions and the customer service should confirm whether it meets the after-sales conditions and then arrange relevant service.
Notice: The products, accessories, remote control, etc. in the instruction manual are schematic diagrams and for reference only. Due to product updates and upgrades, the physical and schematics of the product may differ slightly, please refer to the actual product.
Disassembling
Dismantle the hull:
![]() | ![]() |
| 1. Hold the front wheel with one hand, and The other hands hold the head of the car | 2. Then gently push out and take it out |
Install the hull:
![]() | ![]() |
| 1. An exhaust fixture inserted into the tail of the car chassis | 2. Then press and hold the head of the car chassis to install it |
Shenzhen NewStone Technology Co., Ltd.
Manufacturer: Shenzhen NewStone Technology Co., Ltd.
Address: Yuhong Industrial Park, No.20 Xingye West Road, ShaJing Town, Bao’an
District, Shenzhen, Guangdong Province
If this product can not operate normally during the warranty period, please contact the local distributor or manufacturer that sold this product to obtain warranty service. When the product is under warranty, please show the product warranty card and proof of whether it is within the warranty period.
- If your product was sold by a distributor, please consult with the distributor or manufacturer to resolve it. (It is recommended to negotiate with the local
distributor) - Manufacturers have the responsibility to “repair” or “replace” the product.
- The warranty period of all products provided by the manufacturer is 15 days.
- When the product is under warranty, manufacturers and distributors have the responsibility to “repair” or “replace” the product.
This equipment has been tested and found to comply with the limits for a Class B digital device, pursuant to part 15 of the FCC Rules. These limits are designed to provide reasonable protection against harmful interference in a residential installation. This equipment generates, uses and can radiate radio frequency energy and, if not installed and used in accordance with the instructions, may cause harmful interference to radio communications.
However, there is no guarantee that interference will not occur in a particular installation. If this equipment does cause harmful interference to radio or television reception, which can be determined by turning the equipment off and on, the user is encouraged to try to correct the interference by one or more of the following measures:
- Reorient or relocate the receiving antenna.
- Increase the separation between the equipment and receiver.
- Connect the equipment into an outlet on a circuit different from that to which the receiver is connected.
- Consult the dealer or an experienced radio/TV technician for help.
Caution: Any changes or modifications to this device not explicitly approved by the manufacturer could void your authority to operate this equipment.
This device complies with part 15 of the FCC Rules. Operation is subject to the following two conditions: (1) This device may not cause harmful interference,
and (2) this device must accept any interference received, including interference that may cause undesired operation.
The device has been evaluated to meet general RF exposure requirements.












































