![]()
Harmony Note 100 Portable
Bluetooth® Speaker
P/N 43259
User’s Manual
SAFETY WARNINGS AND GUIDELINES
Please read this entire manual before using this device, paying extra attention to these safety warnings and guidelines. Please keep this manual in a safe place for
future reference.
- Do not expose this device to excessively high temperatures. Do not place it in, on, or near a heat source, such as a fireplace, stove, radiator, etc.
- Do not expose this device to excessive vibration, extreme force, shock, or fluctuations in temperature or humidity.
- This device contains a Lithium-ion battery. Dispose of this device only in accordance with local, state, or federal regulations for electronic waste.
- Charge the battery before first use and at least once every two months to keep it fresh and capable of holding the full charge.
- Clean using a soft, dry cloth only. Do not use chemical cleaners, solvents, or detergents. For stubborn deposits, moisten the cloth with warm water.
- This device has no user-serviceable parts. Do not attempt to open, service, or modify this device.
CUSTOMER SERVICE
The Monoprice Customer Service department is dedicated to ensuring that your ordering, purchasing, and delivery experience is second to none. If you have any problem with your order, please give us an opportunity to make it right. You can contact a Monoprice Customer Service representative through the Live Chat link on our website
www.monoprice.com or via email at [email protected]. Check the website for support times and links.
PACKAGE CONTENTS
Please take an inventory of the package contents to ensure you have all the items listed below. If anything is missing or damaged, please contact Monoprice Customer
Service for a replacement.
1x Bluetooth® Speaker
1x USB Type-C® Charging Cable
1x User’s Manual
RF warning statement:
The device has been evaluated to meet general RF exposure requirements. The device can be used in portable exposure conditions without restriction.
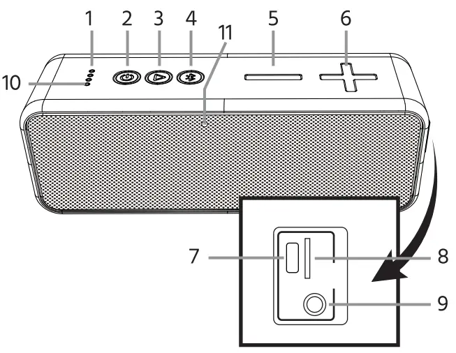
PRODUCT OVERVIEW

| 1. Battery Charge Indicator 2. Power Button 3. Play/Pause Button 4. Bluetooth® Button 5. Volume – Button 6. Volume +Button | 7. USB Type-C® Charging Port 8. MicroSD™ Card Slot 9. 3.5mm AUX Jack 10. Bluetooth indicator 11. Microphone |
CHARGING
Charge the battery before first use and at least once every two months to keep it fresh and capable of holding a full charge. We recommend that you charge the speaker for
about 10 minutes prior to use, if it has been unused for at least 7 days.
- When the Battery Charge Indicator has only one element illuminated, the battery level is low and needs to be recharged.
- Plug one end of the included USB Type-C® Charging Cable into the USB Type-C Charging Port on the speaker, then plug the other end into a USB power source, such as a wall charger, power bank, computer, etc. (available separately). The Battery Charge The indicator will flash white and the number of illuminated elements will increase while charging is in progress.
- When charging is complete, the Battery Charge indicator will be solid white in all four elements.
BLUETOOTH PAIRING
- Press and hold the Power Button for 3 seconds to turn the speaker on. When the speaker is first powered on, it will automatically enter Bluetooth® pairing mode and the Bluetooth Indicator will flash blue, indicating that it is in Bluetooth pairing mode. If the speaker is already paired to a device and the device is powered on and within range, the speaker will attempt to reconnect to the paired device. If it cannot automatically reconnect to the paired device, you can either press and hold the Bluetooth button for 3 seconds to reconnect the device or proceed with pairing a different device.
- Open the Bluetooth® settings on your device and scan for nearby Bluetooth connections.
- Locate and select the MP43259 entry. If prompted for a passcode, enter 0000 (four zeros).
- Once connected, the Bluetooth Indicator will stop flashing and will illuminate solid blue, and an audible cue will be heard.
AUX PLAYBACK
If your audio device does not have Bluetooth® or if you do not want to use Bluetooth, you can listen to audio using a wired connection to the 3.5mm AUX Jack on the speaker.
- Plug one end of the included 3.5mm Audio Cable in the 3.5mm AUX Jack on the speaker, then plug the other end into the headphones or other analog audio output on your audio source device.
- Press the Bluetooth Button to switch between Bluetooth and AUX playback.
- Use the controls on your device to control audio playback and the volume controls on the speaker to control the volume. The playback controls on the speaker do not function with a wired connection.
MICROSD CARD PLAYBACK
This speaker features a microSD™ card slot, which can be used to play mp3 files on an inserted microSD card.
- With the speaker powered off, insert a microSD card with mp3 files into the MicroSD Card Slot. the speaker supports microSD cards with capacities up to 32GB and formatted with the FAT16 or FAT32 file system. The mp3 files on the card can be in any subdirectory.
- Press and hold the Power Button for 3 seconds to turn the speaker on. Playback from the microSD™ card should automatically begin.
- Use the controls on the speaker to control playback and volume.
Power Button
- With power off, press and hold the Power Button for 3 seconds to turn the speaker on. If it has not already been paired or if its paired device is off or out of range, the speaker will enter Bluetooth® pairing mode. If it has been paired and the paired device is on and in range, the speaker will reconnect with your device.
- With power on, press and hold the Power Button for 3 seconds to turn the speaker off. Note that after 10 minutes of no audio playback, the speaker will automatically turn off.
- Press and hold the Power Button for 8 seconds to reset the speaker.
- Press the Power Button to enable Siri® functionality. The speaker also supports the Huawei® intelligent voice assistant.
Bluetooth Button - With a device paired, but not connected, press and hold the Bluetooth button for 3 seconds to reconnect the last connected device.
- With a device connected, press and hold the Bluetooth button for 3 seconds to terminate the Bluetooth connection.
- Press the Bluetooth Button to switch between Bluetooth® and AUX playback.
Play/Pause Button - With audio playing, press the Play/Pause Button to pause playback.
- With audio playback paused, press the Play/Pause Button to resume playback.
- When an incoming call is received, press the Play/Pause Button to answer the call.
- With a call in progress, press the Play/Pause Button to terminate the call.
- When an incoming call is received, press and hold the Play/Pause Button for 2 seconds to reject the call.
- When a Bluetooth® connection to your phone is active, double press the Play/Pause Button to redial the last called number.
- At any time, other than when an incoming call is received, press and hold the Play/Pause Button for 2 seconds to make a TrueWireless™ Stereo (TWS) connection with another 43259 speakers.
- When a TWS connection is active, press and hold the Play/Pause Button for 2 seconds to disconnect the TWS connection. Volume + and Volume – Buttons
- Press the Volume + button to increase the volume level.
- Press the Volume – Button to decrease the volume level.
- Press and hold the Volume + Button for 2 seconds to skip forward to the next track.
- Press and hold the Volume – Button for 2 seconds to skip back to the previous track.
TWS OPERATION
This speaker features TrueWireless™ Stereo (TWS) functionality, which allows you to connect two 43259 speakers together to act as a stereo pair, with one speaker playing left channel audio and the other playing right channel audio. Perform the following steps to establish a TWS connection with two 43259 speakers.
- Press and hold the Power Button on each speaker for 2 seconds to turn each speaker on.
- Press and hold the Play/Pause Button on one of the speakers for about 2 seconds until you hear a beep sound. This will be the primary/left channel speaker in the TWS array.
- Release the Play/Pause Button and the speakers will connect to each other. The Bluetooth Indicator on the primary/left channel speaker will flash blue once every 3 seconds, while the Bluetooth Indicator on the right channel speaker will illuminate solid blue.
- Open the Bluetooth® settings on your phone. Locate and select the MP43259 entry, which is now the two speakers operating as a single stereo speaker array. To disconnect the TWS array, press and hold the Play/Pause Button on one of the speakers for 2 seconds until you hear a beep sound.
TECHNICAL SUPPORT
Monoprice is pleased to provide free, live, online technical support to assist you with any questions you may have about installation, setup, troubleshooting, or product recommendations. If you ever need assistance with your new product, please come online to talk to one of our friendly and knowledgeable Tech Support Associates. Technical support is available through the online chat button on our website www.monoprice.com or through email by sending a message to [email protected]. Check the website for support times and links. To download the latest drivers, firmware, manuals, etc., go to www.monoprice.com and type the P/N into the search bar. If available, support files are linked at the bottom of the product page.
SPECIFICATIONS
| P/N | 43259 |
| Driver size | 2x ø45mm |
| Amplifier Power | 2×5 watts |
| Nominal Impedance | 4Ω |
| Bluetooth® Version | 5 |
| Bluetooth Range | Up to 32 feet ( 10 meters ) |
| Bluetooth Pairing Name | NP43259 |
| microSD™ Card Capacity | 32GB |
| micro SD Card Formatting | FAT16 or FAT32 |
| Waterproof Level | IPx7 |
| Battery Type | 3.7V Lithium-ion |
| Battery Capacity | 2200mAh |
| Charging Time | About 3 hours |
| Playback/Talk Time | About 6 hours |
| Input Power | 5 VDC, 1.0A |
| Dimensions | 7.1” x 2.4” x 2.0” (180 x 60 x 50 mm) |
| Weight | 12.8 oz. (362 g) |
REGULATORY COMPLIANCE
Notice for FCC
![]()
This device complies with Part 15 of the FCC rules. Operation is subject to the following two conditions: (1) this device may not cause harmful interference, and (2) this device must accept any interference received, including interference that may cause undesired operation. Modifying the equipment without Monoprice’s authorization may result in the equipment no longer complying with FCC requirements for Class B digital devices. In that event, your right to use the equipment may be limited by FCC regulations, and you may be required to correct any interference to radio or television communications at your own expense. This equipment has been tested and found to comply with the limits for a Class B digital device, pursuant to Part 15 of the FCC Rules. These limits are designed to provide reasonable protection against harmful interference in a residential installation. This equipment generates, uses, and can radiate radio frequency energy and if not installed and used in accordance with the instructions, may cause harmful interference to radio communications. However, there is no guarantee that interference will not occur in a particular installation. If this equipment does cause harmful interference to radio or television reception, which can be determined by turning the equipment off and on, the user is encouraged to try to correct the interference by one or more of the following measures:
- Reorient or relocate the receiving antenna.
- Increase the separation between the equipment and receiver.
- Connect the equipment into an outlet on a circuit different from that to which the receiver is connected.
- Consult the dealer or an experienced radio/TV technician for help.
Radio Notice for FCC
Caution
This FCC Part 15 radio device operates on a non-interference basis with other devices operating at this frequency. Any changes or modification to said product not expressly approved by Monoprice, including the use of non-approved antennas, could void the user’s authority to operate this device. This device complies with Part 15 of the FCC Rules.
Operation is subject to the following two conditions:
(1) this device may not cause harmful interference, and
(2) this device must accept any interference received, including interference that may cause undesired operation.
Notice for Industry Canada
This Class B digital apparatus complies with Canadian ICES-003.
Radio Notice for Industry Canada
Caution
This IC RSS-210 radio device operates on a non-interference basis with other devices operating at this frequency. Any changes or modification to said product not expressly approved by Monoprice, including the use of non-approved antennas, could void the user’s authority to operate this device. This device complies with IC RSS-210. Operation is subject to the following two conditions: (1) this device may not cause harmful interference, and (2) this device must accept any interference received, including interference that may cause undesired operation.
Monoprice™ and all Monoprice logos are trademarks of Monoprice Inc. The Bluetooth® word mark and logos are registered trademarks of Bluetooth SIG, Inc. USB Type-C® and USB-C® have registered trademarks of USB Implementers Forum. microSD™ is a trademark of SD-3C, LLC. Siri® is a trademark of Apple Inc., registered in the U.S. and other countries. Huawei® is a registered trademark of Huawei Technologies Co., Ltd. Qualcomm® is a trademark of Qualcomm Incorporated, registered in the United States and other countries. TrueWireless™ is a trademark of Qualcomm Technologies International, Ltd. Qualcomm® TrueWireless™ is a product of Qualcomm Technologies International, Ltd.


















