IKEA GUNNON Tonnelle Instruction Manual
As floor materials vary, screws for fixing to floor are not included. For recommendations on suitable screw systems, contact your local specialised retailer.
Package Content

Safety Instruction


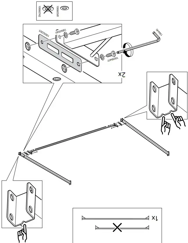
Assembly Instruction
































