timberk T-WSS30-N39D-V Electric Storage Water Heater

Dear customer!
We thank you for your wise choice and for a purchase of a device. It will serve you for a long time.
IMPORTANT INFORMATION
Please, read this manual before using the device. This manual contains important information regarding your safety, as well as recommendations concerning the correct use and maintenance of this appliance. Keep this manual together with a warranty card, cash register receipt and, if possible, carton and packaging material. This instruction manual describes different types of this device. The device you purchased may differ slightly from the description in the manual, which does not affect the methods of use and operation. The manufacturer reserves the right to make minor changes to the device without additional notice which is not fundamentally affect its safety, performance and functionality. There may be some misprints in text and digital notations in the present manual.
IMPORTANT!
Important safeguards and descriptions contained in this manual do not include all possible situations that you may experience using the device. The manufacturer is not responsible for damage of the appliance or its parts during transportation, as a result of incorrect installation or voltage fluctuations, as well as when any part of the appliance has been changed or modified.
NOTE
There is a label on the device which has all the necessary technical data and other useful information about the device. Use the appliance only for the purpose specified in this manual.
PRECAUTIONS
When using the water heater, please observe the following precautions. Improper operation while ignoring these precautions can result in an injury to the user and others, as well as damage to their property.
- Read these instructions carefully before using the product to prevent damage during use.
- Before using the device for the first time, make sure the specifications indicated on the product comply with the parameters of your electric main.
- No electric appliance should be left unattended during use, especially if there are children near the device. Make sure that children do not touch it.
- Before installing the water heater, check and make sure that the main socket for the water heater has a ground contact and is properly grounded before connecting the product to the electric main. If there is no grounding loop in your power supply network, the operation of the water heater may not be safe for your life.
- To avoid overheating and the risk of fire, as well as damage to the internal power system, make no alterations to the length of the power cord and do not connect the water heater via extension cables.
- Do not operate the heater unless it is filled with water or if water cannot pass through the safety relief valve.
- Never use a defective water heater.
- Do not remove the cover of the heater whenever it is on.
- Immediately disconnect the water heater from the electric main if you hear a strange sound, or sense smell or smoke.
- Always disconnect the water heater from the electric main during a thunderstorm.
- Always disconnect the product before maintenance, assembly, disassembly or cleaning, or whenever it is not in use. Make sure to clean and maintain the product in accordance with the instructions provided in this manual.
- Do not use hazardous chemicals to clean the water heater and do not allow them to come into contact with it.
- Do not use the product outdoors or in high humidity.
- A damaged power cord must be replaced by the manufacturer, its service agent or similarly qualified persons in order to avoid any hazard.
- To avoid the risk of electrocution, do not place the power cord near heaters, or highly flammable and combustible substances.
- Since water in the water heater can be as hot as 75 °C, do not expose body parts to hot water when using the product for the first time. To prevent burns, properly
- adjust the temperature of the water flow.
- Do not use the water heater for purposes other than those specified in this manual.
- Do not use the water heater in an explosive or corrosive environment. Do not store gasoline or other volatile highly flammable liquids near the product — it is very dangerous!
- Do not modify or alter the design of the water heater.
- Any and all maintenance operations must be conducted by a specialized organization, by qualified specialists. Improper installation may result in denial of warranty service.
- Once you have identified the proper installation site for the water heater, determine the points to drill holes for the fasteners you have selected (according to the specifications of the product you have acquired). Drill two holes of appropriate depth in the wall using a drill bit with the diameter corresponding to the fasteners, insert the fasteners in the holes and then hang the electric water heater.
- The product is not intended for use by persons (including children) with reduced physical, sensory or mental capabilities, or lacking life experience or knowledge, unless they are supervised or instructed in the use of the product by a person responsible for their safety.
- This appliance can be used by children aged from 8 years and above and persons with reduced physical, sensory or mental capabilities or lack of experience and knowledge if they have been given supervision or instruction concerning use of the appliance in a safe way and understand the hazards involved. Сleaning and user maintenance shall not be made by children without supervision.
- Use exclusively for domestic purposes in accordance with this manual. The product is not intended for industrial/commercial use.
- Children must be supervised to make sure they do not play with the product.
- Make sure that the power cord does not touch any sharp edges or hot surfaces.
- If the product has been exposed to temperatures below 0 °C for some time, keep it at room temperature for at least 2 hours before turning it on.
- Do not try to repair the product or replace any parts by yourself. Contact the nearest Service Center whenever you detect a defect.
- Do not use accessories that are not included in the scope of delivery.
- When unplugging the product, do not pull the power cord, but hold onto the plug. Do not twist it or wrap it around anything.
- Do not splash water on the heater or pour liquid on it.
- Do not turn on the water heater whenever there is a possibility that water may have frozen inside.
DESIGNATION
The electric tank water heater is designed to heat tap water in a domestic environment and can ensure a large amount of hot water and maintain the preset temperature automatically. It is used for providing hot water in country houses, cottages, baths and other domestic facilities where there is no central hot water supply. It can also serve as a backup system in city residences for the period when hot water supply is discontinued for maintenance.
SPECIFICATIONS
Specifications of the device are shown in Table 1.
Table 1
| Name | Unit | T-WSS30- N39D-V | T-WSS50- N39D-V | T-WSS80- N39D-V | T-WSS100- N39D-V |
| Volume | l | 30 | 50 | 80 | 100 |
| Power supply parameters | V/Hz | 220-240~/50 | 220-240~/50 | 220-240~/50 | 220-240~/50 |
| Rated current | А | 8.7 | 8.7 | 8.7 | 8.7 |
| Rated input power | W | 2000 | 2000 | 2000 | 2000 |
| Rated pressure | MPa | 0.8 | 0.8 | 0.8 | 0.8 |
| Actual annual power consumption | kWh | 424.3 | 512.6 | 588.3 | 670.5 |
| Continuous daily heat loss | kWh/day | 1.2 | 1.4 | 1.6 | 1.8 |
| Heating time (at Δt = 30 °C) | min | 32 | 70 | 112 | 140 |
| Net weight | kg | 10 | 13.8 | 19.5 | 23 |
| Dimensions | mm | 550x435x258 | 824x435x258 | 945x496x293 | 1145x496x293 |
| Protection level | – | IPX4 | IPX4 | IPX4 | IPX4 |
| Electrical protection class | – | I | I | I | I |
Dimensions
Fig 1
Dimensions of the water heater (in millimeters) according to Fig. 1 are presented in Table 2.
Table 2
| T- WSS- N39D- V | Volume, l | A | B | C | D | E | F | G | H |
| 30 | 258 | 92 | 237 | 435 | 216 | 530 | 240 | 163 | |
| 50 | 258 | 92 | 237 | 435 | 216 | 804 | 500 | 163 | |
| 80 | 293 | 111 | 273 | 496 | 267 | 925 | 450 | 258 | |
| 100 | 293 | 111 | 273 | 496 | 267 | 1125 | 550 | 323 |
- The dimensions are indicated in mm, deviations of 1-5 mm are allowed.
DESCRIPTION OF THE WATER HEATER
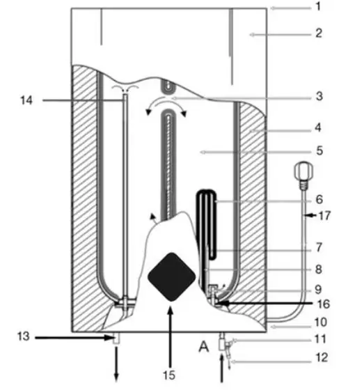
Fig 2: The picture is for reference only and may differ from the actual product
- Upper combined protective cover
- External decorative housing
- Overflow system
- Thermal insulation layer made of polyurethane foam
- Internal tank
- Heating element
- Thermostat sensor tube
- Protective magnesium anode
- Inlet pipe with divider
- Lower combined protective cover
- Combined safety valve (mandatory installation on the cold water supply pipe is required)
- Emergency drain of excess water pressure (when the water heater is running, water may leak from the emergency drain hole. This is normal)
- Outlet pipe
- Upper part of the outlet pipe
- Control Panel
- Temperature switch
- Power cord with plug
DELIVERY SET
- Water heater – 1 pc.
- Anchor bolt – 1 pcs.
- Combined back-safety valve – 1 pc.
- Manual – 1 pc.
- Warranty card – 1 pc.
- Package – 1 pc.
The design of the thermometer may be changed without prior notice. Depending on the batch, the thermometer may be missing, which does not affect the performance of the product.
INSTALLATION OF THE WATER HEATER
Site
- The electric water heater must be installed on a solid wall.
- The wall on which the electric water heater is installed must be strong enough to support at least twice the weight of the heater filled with water, and the wall must be free of cracks and other damage. Otherwise, measures must be taken to reinforce the support or install the water heater on a special frame.
- If the bathroom is too small, the heater can be installed elsewhere, out of direct sunlight and away from humidity. However, in order to reduce heat loss in the pipes, the heater should be installed as close as possible to where hot water is used.
- When determining the site for the water heater, make sure the heater is easily accessible by leaving at least 60 cm between the bottom of the water heater and the floor, and at least 10 cm between the top of the water heater and the ceiling. This will enable easy maintenance and adjustment as required.
WARNING!
The water heater must be installed on a vertical wall in a vertical position. If installed in any other position or misaligned, the water heater will inevitably malfunction, causing an emergency. This will be treated by the manufacturer as a non-warranty case.
Water heater installation
NOTE!
Please use the accessories provided by the manufacturer to install the water heater. The electric water heater must not be mounted on the wall before you make sure that the bracket is securely installed. Any failure to do so may cause the electric water heater to fall off the wall, which may cause damage and even major incidents including bodily injuries. When marking spots for the anchor bolt holes, allow at least 60 cm clearance between the bottom of the water heater and the floor to ensure easy maintenance when required.
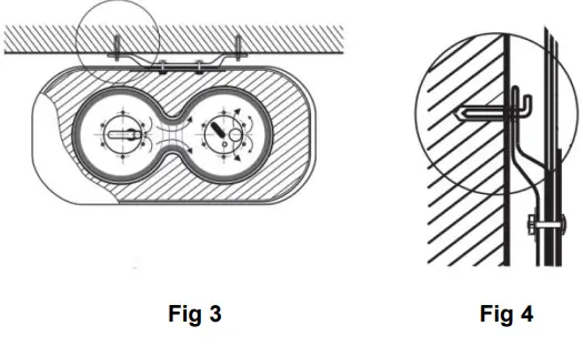
Once you have selected the proper site for the water heater, determine the spots for the anchor bolt holes with hooks (according to the specifications of the product you have acquired). Drill two holes of appropriate depth in the wall using a drill bit with the diameter corresponding to the anchor bolts supplied with the water heater. Insert the bolts into the holes and tighten the bolt nuts firmly by turning the bolt hooks clockwise, then hang the water heater on the anchor bolt hooks (see Fig. 3,4).
Connecting to the water main
- The water heater must be connected to the water main with a minimum pressure of 0.1 MPa and a maximum pressure of 0.8 MPa.
- NOTE!
- The water heater is a product, in which water pressure corresponds to water pressure in the water main. If water pressure in the water main exceeds 0.8 MPa, a pressure-reducing valve must be installed before the heater to ensure that water pressure does not exceed 0.8 MPa.
- To connect the water heater to the water main, 12 mm (G1/2) diameter pipes are used.
- Use rubber seal gaskets on the threaded ends of the pipes in order to prevent leakage when connecting the pipes.
- Screw the safety relief valve on the inlet nozzle, which is marked in blue and has a water flow direction arrow in such a way that that the water flow coincides with the direction of the arrow on the valve body. Put the water drainage tube* (water may appear during heating) on the pressure relief port of the safety relief valve to allow water drainage into the sewer (see Fig. 6) (the tube must be directed downwards and must not be bent).
- Connect the heater with the mounted valve to the water main and install the shut-off valve at the water inlet point.
- Connect the required number of water consumption points to the outlet nozzle marked in red.
- Open the shut-off valve of the water main and one of the outlet valves. When the tank is full, which is prompted by water leaking from the outlet valve, close the outlet valve and make sure that all connectors are tight.
- not included in the scope of delivery. New hoses must be used, old hoses must not be reused
WARNING!
- Do not operate the water heater without a safety relief valve installed on the inlet nozzle.
WARNING!
- The pressure-relief device must be activated on a regular basis to remove the scale and ensure proper operation.
WARNING!
- A discharge pipe connected to the pressure relief device installed downwards direction and in a frost-free environment.
NOTE!
- No additional accessories, such as a shut-off valve, must be mounted between the safety relief valve and the inlet nozzle.
WARNING!
- If water in the installation place has significant content of calcium, manganese or iron salts, it is necessary to install a suitable filter in the water supply system in order to reduce the amount of scale in the tank and on the heating element.
Connection to the electric main
WARNING!
- Before connecting the tank water heater, make sure the water heater is properly grounded. Proper grounding is important to minimize electrocution and fire hazard. The power cord is equipped with a plug with a grounding contact. The product must be used with a properly grounded main socket.
WARNING!
- Using a water heater without grounding is not safe for your life.
- The water heater is designed to be connected to a 220-240V~ single-phase electric main. Before connecting, make sure that the power supply at the site of connection complies with the parameters indicated on the plate with the specifications of the product. When installing the heater, comply with the applicable electrical safety precautions.
- The main socket must be designed for rated current of at least 10A and electric cable with core cross section of at least 3×1.5 mm2 (for copper).
- The plug and socket must be kept dry to avoid electrical leakage.
NOTE!
Install the electric socket in places or on walls that may be splashed with water at a height of at least 1.8 m.
Make sure that the electric plug is tightly connected to the socket on a regular basis. Check it as follows: insert the electric plug into the socket, turn off the water heater after 30 minutes of operation and remove the plug from the socket; check with your hand whether the plug is hot. If the plug is hotter than 50 °C, replace the socket to avoid damage, accidents, or fire due to poor electrical contact. Checks must be conducted by a specialist.
WATER HEATER CONTROL
Control panel
Fig 5: The illustration is provided for reference only and may differ from the actual control panel.
- The handle of the thermostat.
- The indicator of the device operation.
- Water heating indicator.
Water heater operation
Turning
- First open one of the hot water outlet taps, after that open the cold water supply tap.
- The electric water heater will start filling with water.
- When water flows freely from the hot water tap, it means that the water heater is completely filled with water and the hot water outlet tap can be closed.
- NOTE!
- During normal operation, the cold water inlet tap must be in the “open” position.
- Put the electric plug into the socket.
Setting the water heating temperature
- The water heating temperature can be set within the range from +35 °C (±5 °C) to +75 °C (±5 °C) (the right-most position of the thermostat knob).
- Turn the thermostat knob clockwise and set the desired water temperature.
- Turn the thermostat knob counterclockwise to decrease the water heating temperature.
- The water heater thermostat automatically maintains the water temperature. When the water temperature inside the water heater reaches the set temperature, heating is automatically turned off, the indicator light on the bottom of the device goes off and water temperature is maintained due to thermal insulation. Whenever water temperature drops below the set temperature, heating is automatically turned on and the indicator light comes on.
- “ECO” mode, which corresponds to the temperature of ~ 58°C of heating the water in the tank.
WARNING!
- Water may drip from the drain pipe of the pressure relief device, this pipe must remain unblocked.
- Water dripping cannot be avoided and must not be prevented as blocking the valve can cause a rupture of the internal tank.
Turn off
- To turn off the water heater, turn the thermostat knob to the left-most “OFF” position and unplug or disconnect the appliance from the power main.
MAINTENANCE
- Check the electric plug and socket as often as possible. Ensure proper electrical contact and proper grounding. The plug and socket should not become excessively hot.
- If the water heater is not used for a long time, especially in regions with low air temperatures (below 0 °C), water must be drained from the heater to prevent damage to the product (to prevent water from freezing in the internal tank).
- WARNING!
- The manufacturer treats ay damage to the water heater done by water freezing in the internal tank as a non-warranty case.
- To ensure long-term reliable operation of the water heater and to maintain the manufacturer’s warranty, the internal tank must be periodically cleaned, and deposits must be removed from the heating element. Furthermore, the condition of the magnesium anode must be checked (degree of breakdown) in order to have it replaced with a new one in case of complete breakdown. Tank cleaning frequency depends on the hardness of water in the area.
- WARNING!
- The manufacturer offers an extended warranty on individual components of the water heater, provided that timely and proper maintenance is performed by specialists of the Authorized Service Center (ASC), see the warranty card.
- Preventive maintenance must be conducted in strict compliance with the operating manual and safety precautions.
- The heater is equipped with a thermal switch, which will disconnect power supply to the heating element if the water in the tank is overheated. If the IM2022
water heater is plugged in, but the water is not heated and the indicator is not on, the thermal switch has either turned off or not been turned on. To reset the water heater back to operating condition, you must:- Disconnect power from the water heater, remove the bottom cover cap;
- Press the button located in the center of the thermal switch (round shape, near the heating element) until you hear a click, see Fig. 7;
- If the button cannot be pressed and there is no click, wait until the thermal switch cools to the initial temperature.
- After resetting the thermal switch back to operating condition, perform the above steps in reverse order.
- WARNING!
- In case no positive effect has been achieved or the thermal switch turns off repeatedly within a short period of time, the power supply and water supply to the water heater should be disconnected, and your local ASC should be contacted for advice or product repair.
- To drain the internal tank, use the safety relief valve: unscrew the screw of drain knob on the safety relief valve and move the drain knob to the up position — the hot water outlet tap must be open and the cold water inlet tap must be closed (see Fig. 6). Water will start flowing from the pressure relief port of the safety relief valve.
- WARNING!
- Never drain water if its temperature is above 50 °C, as this may cause burns.
- Remember to check that the safety relief valve is operable every 14 days. Check it as follows:
- move the drain knob to the up position until you feel the thread and then water should start flowing out of the pressure relief port. After checking the water flow, return the knob to the previous position.
- WARNING!
- If water does not flow, the valve is faulty. In this case, stop using the water heater and contact the service center.
- Clean the outer surfaces of the water heater with a damp cloth and soap as necessary.
TROUBLESHOOTING
- Possible malfunctions and remedies are presented in Table 3.
Table 3
| Problem | Possible causes | Remedy |
| Indicator on the control panel will not come on, water does not heat | 1. Temperature control device is damaged. | 1. Contact a repair specialist at the authorized service center. |
| 2. Temperature limiter has been activated or not switched on. | see clause 9 Maintenance, paragraph 5. |
| 3. Temperature limiter is damaged. | 3. Contact a repair specialist at the authorized service center. | |
|
Water does not flow out of the hot water tap | 1. Water supply is cut off. | 1. Wait until the water supply resumes. |
| 2. Water pressure is too low. | 2. Turn the water heater on again when normal water pressure is available. | |
| 3. Cold water inlet tap is closed. | 3. Open the cold water inlet tap. | |
| Water temperature is too high | 1. Water temperature control system is damaged. | 1. Contact a repair specialist at the authorized service center. |
| Water leakage | 1. Seal is broken at the point of pipe connection. | 1. Replace the pressure seal. |
| Water leaks from the product case | 1. The internal tank is broken (corrosion). | Contact a repair specialist at the authorized service center. |
| 2. Seal is broken at the point of the connection of the heating element. | ||
| Water from the safety relief valve port even when the product does not heat water | Water main pressure exceeds or close to 0.8 MPa. | Mount a pressure-reducing valve before the water heater and reduce pressure in the water main. |
ELECTRICAL CIRCUIT DIAGRAM
UTILIZATION RULES
After the lifetime of the device expires, it should be recycled in compliance with the laws, rules and methods in region of recycling. Detailed information about the recycling of the device, you can receive from a representative of the local authorities, after providing full information about the device. The manufacturer and authorized organization of the manufacturer do not carry responsibility for the fulfillment by the Buyer of the requirements of legislation on utilization and methods of utilization of the device selected by the Buyer. The lifetime of the device is indicated in the warranty card. Warranty period for the device and warranty terms are specified in the warranty card. The warranty card is an integral part of the documentation supplied with this unit. If there is no warranty card in the delivery set, ask for it from the Seller. The warranty card provided by the Seller must conform to the manufacturer’s form. The manufacturer and the authorized organization of the manufacturer remove responsibility for any possible harm which can be caused to people, animals or property directly or indirectly, if this harm occurred as a result of noncompliance with the rules and operating conditions, installation of the device, intentional or reckless actions of the user- and / or third parties, as well as in situations caused by natural and / or anthropogenic accidents.
TRANSPORTATION AND STORAGE
- During transportation, any possible impacts and movements of the package inside the vehicle should be excluded.
- Transporting and storage should be provided in strict accordance to the manipulation marks.
- Outdoor unit should be transported vertical.
| Temperature Requirements* | Transportation and storage | From -30°C up to +50°C |
| Humidity Requirements* | From 15% up to 85% (without a condensate) |
- We are exploring new technologies and we constantly improving the quality of our products.
- That’s why specifications, design and accessories are subject to change without any specific notice.
- This product must have storage in dry, well-ventilated space of warehouse at the temperature not lower than +5°C
- www.timberk.ru























