PROJECT E BEAUTY PE066 Wireless Skin Ultrasonic Scrubber User Manual
These instructions contain important safety and use information. Please read the instructions completely before using this product. Save the instructions for future use.
Introduction
The Wireless Skin Ultrasonic Scrubber uses vibration to help release impurities from the pores as it exfoliates the surface of your skin. It’s also designed to make your favorite skin care serums penetrate your skin more deeply for maximum absorption and effectiveness. With consistent usage, you can treat the following skin conditions:
- Clogged pores
- Excess oil
- Blackheads and whiteheads
- Dry, flaky skin
- Dull skin tone
- Uneven texture
Features

- Scrubber Head
- Side Electrodes
- lontophoresis (+) Indicator Light
- Desincrustation (-) Indicator Light
- Continuous Mode Indicator Light
- Charging Indicator Light
- PAD Mode Indicator Light
- lontophoresis (+) Button
- Continuous Mode Button
- PAD Mode Button
- On/Off Button
- Desincrustation (-) Button
- USB to Mini-USB Charging Cable
Safety
WARNING
The following warnings indicate a hazard, which if not avoided, could severe personal injury, death, or substantial property damage.
- Use of this product on dry skin may cause burns. Always ensure the skin is damp or moist before using the product. Do not hold the scrubber in place, against the skin, for extended periods.
- Using the product when your hands are wet may cause electric shock. Always handle the product with dry hands.
- Using the product while in, where the product is exposed to water (i.e.: bath, shower, sinks areas of high humidity) may cause electric shock or fire. Never submerge the product in water.
- This product is intended for use by an adult. Allowing children to play with the product may result in burns, electric shock or other injuries. Never let children handle, play or use the product. Do not use this product on an infant.
- Damage to the USB charging cable may result in electric shock or fire. Do not cut, damage, modify, pull, twist or wind the cord around the product. Always discontinue using the USB Charging Cable if damaged.
- An overheated cord may cause a short circuit, fire, electric shock or burns. Discontinue using the USB Charging Cable if it is overheated.
- Use of the product near flammable solutions such as benzene, paint thinner, sprays etc. may cause an explosion or fire. Never clean or use the product around flammable materials.
CAUTION
The following warnings indicate a hazard, which if not avoided, will or could cause minor personal injury or property damage.
- Use of this product for purposes other than the intended purpose may result in injury or accidents.
- Use of this product when damaged could cause electric shock or fire. Always inspect for damage if the product is dropped, thrown or kicked. Do not use the product if it is damaged.
- Use of this product in temperatures below 32° F (0° C) degrees or above 104° F (40° C) degrees may cause damage or irregular operation Do not use the product when exposed to direct sunlight, heat or high humidity.
- Moisture on the USB Charging Cable or the connection on the product may cause an electrical short. Always inspect, and dry if necessary, the connections before charging the product.
Contraindications To Treatments
The following are conditions, or factors that serves as a reason to withhold a use of this product due to the harm that it may cause. If in doubt, always seek a doctor’s approval before treatment.
- Failure to respond to thermal and sensitivity testing, which would indicate a loss of skin sensation
- Very sensitive skin
- Recent sunburn/windburn
- The presence of skin infection or diseases
- Broken skin, such as cuts, abrasions or acne with open pustules
- Pregnancy
- Epilepsy
- Metal plates in the head
- Metallic pins or bridge work or excessive amalgam fillings in the mouth
- Heart conditions, pace makers fitted or any heart condition requiring medication
- Headache or migraine sufferers
- High or low blood pressure
- Pregnancy
- Highly nervous clients
- Contact lenses should be removed
Use
The scrubber uses Desincrustation for deep cleaning and lontophoresis to help penetrate creams or solutions into the skin.
Desincrustation is a deep cleansing treatment that softens sebum and is the ideal treatment for congested or oily skin. It can be utilized to prepare the skin for lontophoresis.
Desincrustation
Tiny ultrasonic vibrations delicately exfoliate the skin.
lontophoresis is used to help penetrate creams or solutions into the skin for a specific treatment. It is also used in cellulite treatments on the body to penetrate diuretic-based gels into the skin to stimulate lymphatic drainage.
Typically, you will use Desincurstation and Continuous Mode to clean the face followed by lontophoresis and Pad Mode to help the product penetrate under the skin.
lontophoresis
High frequency micro-patting for the enhanced application of skincare products.
Desincurstation and Continuous Mode
- Wet the skin with water so it is damp or moist.
- Press the ON/OFF button to turn the spatula on.
- Press the Continuous Mode button on the left-hand sides.
- Press the Minus Button for Desincrustation.

- Place fingers on both Side Electrodes and touch the skin with the spatula to complete the current.

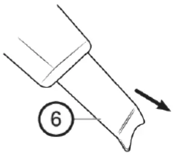
- Orient the spatula angled edge down and move down across the skin in a slow fluid motion.

- Wipe the spatula off between swipes.
To Remove Blackheads - Orient the spatula angled edge down and position near the blackhead.
- Place your finger on the opposite side of the blackhead.

- Press down gently for a second or two to remove the blackhead.
- Wipe the spatula off between swipes.
lontophoresis and Pad Mode
- Apply nourishing cream or mask (i.e.: gel mask or retinal treatment).
- Press the ON/OFF button to turn the spatula on.
- Press the PAD Mode button on right-hand side.
- Perhaps press the Continuous Mode Plus button and the Plus button for lontophoresis.

- Place fingers on both Side Electrodes and touch the skin with the spatula to complete the current.

- Orient the spatula with the flat side against the skin and move up across the skin in a slow fluid motion.

- Wipe the spatula off between swipes.
Recharging the Scrubber
- Connect the USB cable to any USB power source.
- Connect the Mini-USB connector to the scrubber. (Note: The battery typically takes a few hours to fully charge)


























