Hyperice Normatec Go Air Pressure Massager

TO REDUCE RISKS OF ELECTRIC SHOCK, FIRE, AND PERSONAL INJURY, OR PROPERTY DAMAGE, THIS DEVICE MUST BE USED IN ACCORDANCE WITH THE FOLLOWING WARNINGS, CAUTIONS, AND SAFETY INSTRUCTIONS
IMPORTANT SAFETY INSTRUCTIONS – ORIGINAL INSTRUCTIONS
Read the entire instruction manual before using the Normatec Go System.
WARNING
No modification of this equipment is allowed.
If you experience severe pain, any unusual symptoms, or want to remove the wrap in an emergency during use:
- Stop the control unit by pressing the power button.
- Disconnect the hose from either the control unit or the attachments.
- Remove the attachments from your limbs.
- Promptly consult your licensed healthcare practitioner, as required.
CAUTION
- Do not attempt to take apart the system. The system has no user-serviceable parts. When service or repairs are required, please contact customer service at +1.949.565.4994.
- Do not remove or attempt to disassemble the control unit.
- To avoid risk of electric shock, do not use the system near water, such as near a bathtub, kitchen sink, laundry tub, or swimming pool.
- To avoid damage and risk of electric shock, never spill liquid of any kind on the system.
- Do not place the system, charger, or any accessories where they could be damaged, present a fall hazard, or become an obstruction to others.
- If the charger is damaged, the device is dropped or damaged, liquid is spilled on the system, or the system does not operate normally when the operating instructions are followed, turn the system off by pushing the control unit’s power button and unplug the system from the wall outlet. Contact customer service at +1.949.565.4994 for assistance.
- Do not puncture or otherwise damage the wrap as this may cause the system to operate incorrectly.
- To avoid risk of strangulation, do not leave a baby or child unattended with the system.
- Choking hazard, small parts. Keep away from small children.
- Do not leave the system, charger, or any accessories where they could be damaged by children, pets, pests, or liquids. If you suspect your control unit is damaged, contact customer service at +1.949.565.4994 for assistance.
- Do not allow lint or dust to accumulate on the control unit or the wrap. If lint or dust accumulates, wipe down the system with a dry cloth before use.
- The IP22 classification means the control unit is protected against the ingress of vertically dripping water and the hazardous parts are protected against access to objects equal to or larger than 12.5 mm (1/2”).
- The expected service life of the system and the integrated battery is 3 years.
- The wraps are designed to be used by only one person at a time.
- Product is to be used by adults only in good health.
- Consult your physician before using this product if you are under the care of a physician or have a
contraindication requiring the use of any medical device. - Consult your physician before using this product if you are experiencing inflammation, an infection, pain of unknown origin, bleeding (internal or external) at or near the site of application, or if you have a wound at or near the site of application.
- Consult your physician before using this product on sensitive skin.
- Consult your physician before using this product if you have any of the following conditions:
- Acute pulmonary edema
- Acute thrombophlebitis
- Acute congestive cardiac failure
- Acute infections
- Deep vein thrombosis (DVT)
- Episodes of pulmonary embolism
- Wounds, lesions, or tumors at or near the site of application
- Where increased venous and lymphatic return is undesirable
- Bone fractures or dislocations at or near the site of application
- Use by unconscious or incapacitated persons may be dangerous without supervision.
- Make sure the power inlet on the control unit is easily accessible at all times in order to disconnect power if required.
The Normatec Go control unit contains a Li-ion battery. The battery must be complied with safely at an appropriate e-waste disposal or recycling facility.
| Symbol | Description | Location |
IP22 | Degree of protection against ingress of water | On fabric tag |
![]() | Read instructions before use | On fabric tag |
| Direct current | On charger | |
![]() | Level of protection type BF equipment | On fabric tag |
![]() | Double insulation | On charger |
![]() | Alternating current | In manual |
![]() | Manufacturer’s name and address | On fabric tag |
![]() | Separate collection for waste electrical and electronic equipment. | On fabric tag |
![]() | Serial number of the console | On base of control unit |
![]() | Fragile, handle with care | On package |
![]() | Keep dry | On package and fabric tag |
![]() | This side up | On package |
![]() | Keep away from sunlight | On package |
![]() | Transportation and storage humidity limitation | On package |
![]() | Transportation and storage atmospheric pressure limitation | On package |
![]() | Transportation and storage temperature limitation | On package |
![]() | Place in and out of standby mode | On side of control unit |
![]() | Do not wash | On fabric tag |
![]() | EU RF transmitter symbol | In manual |
![]() | The Bluetooth figure mark | On packaging |
![]() | Warning symbol to identify a hazard that may lead to death or serious injury | In manual |
![]() | Caution symbol to indicate the need for the user to consult the instructions for use for important cautionary information such as warnings and precautions that cannot, for a variety of reasons, be presented on the medical control unit itself | In manual |
![]() | Tip to provide guidance to make use easier. Risk to user is considered negligible | In manual |
![]() | Catalog/Model Number | On fabric tag |
![]() | Medical Device Symbol | On fabric tag |
![]() | Made in China | On fabric tag |
![]() | Recycle Lithium-Ion | On control unit |
INDICATIONS FOR USE
The Normatec Go is an air pressure massager intended to temporarily relieve minor muscle aches and/or pains and to temporarily increase circulation to the treated areas.
RISKS AND BENEFITS OF THE NORMATEC GO SYSTEM
The risks and benefits of using the Normatec Go System are similar to having a massage. If the Normatec Go massage feels uncomfortable, you can reduce the intensity or stop the session. Benefits include the temporary relief of minor muscle aches and pains, and increased circulation in the area being treated. Please call customer service at +1.949.565.4994 if you have any questions.
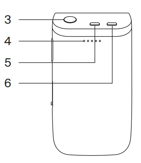
ILLUSTRATIONS
Normatec Go Device (single-person use only)
- HyperSync™ indicator
- Bluetooth® connection indicator
- Start / Stop button
- Battery level indicator
- Time adjustment button
- Pressure level adjustment button
- Power (ON/OFF) button
- USB-C charging port
- Leg compression wrap
TOP
FRONT

SIDE
FULL DEVICE
Normatec Go Charger
- USB-C cord port
- Wall plug
- USB-C cord (2 included)

OPERATING INSTRUCTIONS
WARNING! BEFORE OPERATING THIS SYSTEM: Read all warnings at the beginning of this manual. If you do not understand these operating instructions, contact Hyperice at +1.949.565.4994.
CHARGING THE SYSTEM
- Step 1: Plug the USB cable into the control unit
- Step 2: Plug the USB cable into the charger
- Step 3: Plug the USB charger into the wall outlet
- While the control unit is charging the battery status indicators will cycle from left to right. When all 5 battery status indicators are on ON, this means that the system is fully charged.
The control unit will NOT power on and cannot be operated while the USB cable is connected. Device is intended to be charged with the power adaptor provided. If you have any questions, please contact Hyperice at +1.949.565.4994 or your local Customer Care Center or representative.
SET UP THE SYSTEM
- Step 1: Secure the wrap tightly around your calf. Affix the two sides of the hook and loop material together for a snug but comfortable fit.
- Step 2: Press the power button on the Normatec Go control unit firmly for one second to turn on the system. While the control unit is on, the battery LEDs and display screen will light up.
USING HYPERSYNC™
Your Normatec Go devices arrive paired, which means they will inflate and deflate on the same cycle. To unpair devices, press and hold the Start / Stop button on either device until the device screen reads “Unpaired!” and the white pairing indicator light is no longer illuminated. To pair your devices, turn on both devices by pressing and holding the power (ON/OFF) button. Then press and hold Start / Stop button on either control unit until the display screen says “Pairing!” Finally, press and hold the Start / Stop button on the other device until both devices say “Pairing!” and the white pairing indicator light is illuminated.
CONNECT TO THE HYPERICE APP
Download the Hyperice App from the App Store or the Google Play Store. To connect your device to the Hyperice App via Bluetooth® make sure that your device is turned on, Bluetooth® is turned on in your phone, and your device is within range of your phone. The Bluetooth LED on the pod will pulse blue, which means it is waiting to pair. If prompted, tap “Scan for Devices.” Select your device when it pops up on the screen. Once you pair your Normatec Go, HyperSmart™ will allow you to automatically start your session and control the pressure level and time from within the Hyperice App.
CYBERSECURITY
It is recommended to configure the Hyperice App for automatic updates to ensure cybersecurity. It is also recommended to keep your Operating System up to date and to configure your Operating System for automatic updates.
ADJUST THE PRESSURE LEVEL
Adjust the pressure level of the session by pressing the pressure level adjustment button on the top left of the control panel. Pressure level 1 is the gentlest setting. The massage becomes more intense as the pressure level is increased. Level can be adjusted while the session is running.
ADJUST THE SESSION TIME
Adjust the session time by pressing the time adjustment button. The session time can be set to 15, 30, 45, and 60 minutes. Time can be adjusted while the session is running. Press the time adjustment buttons to cycle through the session time options to add or subtract time from the session.
START THE SESSION
To start the session, press the Start/Stop button.
PATENTED NORMATEC PULSE MASSAGE PATTERN
The patented Normatec Go massage pattern will begin by compressing your upper ankle. Similar to the kneading and stroking performed during a massage, each zone of the wrap will first compress in a pulsing manner and then hold as the compression pattern works its way up your lower limb. When the top zone completes its massage, there will be a brief rest period and then the cycle will begin again. This will repeat until the session time runs out.
The zones on the wrap are numbered in ascending order from distal zone to proximal zone. Zone 1 corresponds to the upper ankle, Zone 2 corresponds to the lower calf, and Zone 3 is the upper calf.
STOP OR PAUSE THE SESSION
To stop the session at any time, press the start/stop button. This will pause the session. To restart your paused session, press the start/stop button again. If you are done using the system, remove the wraps from your limbs, and turn off the control unit by pressing the power button.
FINISH THE SESSION
The session will continue massaging until time runs out and the display reads “Finishing Cycle”. The system will continue until the current cycle is finished. When the session is complete, remove the wraps from your limbs, and turn off the control unit by pressing the power button.
TURN OFF THE CONTROL UNIT
To turn off the system, press the power button and confirm that the Battery Status Indicators and Display are off.
CLEANING THE SYSTEM
- Wipe down the inside and out with a damp, clean cloth.
- Dry thoroughly with a clean cloth.
- Do not machine wash or dry.
- Do not dry clean.
MAINTAINING THE SYSTEM
The system requires no routine maintenance or service except for the care in this section.
STORING THE SYSTEM
Store the system in a clean, dry location.
REPLACEMENT PARTS
Please call customer service at +1.949.565.4994 or visit our website at hyperice.com for information regarding available replacement parts and accessories.
TECHNICAL INFORMATION
Do not attempt to take apart the system. The system has no user-serviceable parts. There are no user-replaceable fuses.
BLUETOOTH® WIRELESS TECHNOLOGY
The Bluetooth® word mark and logos are owned by Bluetooth® SIG, Inc., and any use of such marks by Hyperice is under license. In the unlikely event of loss of a stable Bluetooth® connection, the system will attempt to re-establish its connection automatically. The Normatec Go control unit is completely autonomous, and will continue operating normally, even during a loss of connectivity. If this control unit does cause interference, which can be determined by turning the control unit off and on, the user is encouraged to try to correct the interference by reorienting or relocating the control unit, increasing the separation between equipment and the control unit, or connecting the control unit to a different outlet on a circuit if it is plugged in.
The Normatec Go control unit uses Bluetooth 5.0 wireless technology with the following radio specifications:
| FCC ID: 2AY3Y-NTG IC: 23655-NTG | FCC ID: 2AY3Y-NTGA IC:23655-NTGA | |
| Frequency | 2402 to 2480 MHz, 433.920 MHz | |
| Modulations | GFSK | |
| Transmit Power | +4 dBm (BLE), 0 dBm (ULP) | |
| Receiver Sensitivity | -96 dBm (BLE mode), -118 dBM (ULP) | |
| Security | AES HW | |
See device label for details.
This control unit complies with part 15 of the FCC Rules. Operation is subject to the following two conditions: (1) This control unit may not cause harmful interference, and (2) this control unit must accept any interference received, including interference that may cause undesired operation. This control unit complies with Industry Canada license-exempt RSS standard(s). Operation is subject to the following two conditions: (1) this control unit may not cause interference, and (2) this control unit must accept any interference, including interference that may cause undesired operation of the control unit.
This equipment complies with FCC/ISED radiation exposure limits set forth for an uncontrolled environment and meets the FCC radio frequency (RF) Exposure Guidelines and RSS-102 of the ISED radio frequency (RF) Exposure rules. This equipment has very low levels of RF energy that are deemed to comply without testing of specific absorption rate (SAR)
Changes or modifications not expressly approved by the party responsible for compliance could void the user’s authority to operate the equipment.
This equipment has been tested and found to comply with the limits for a Class B digital device, pursuant to Part 15 of the FCC Rules. These limits are designed to provide reasonable protection against harmful interference in a residential installation. This equipment generates, uses and can radiate radio frequency energy and, if not installed and used in accordance with the instructions, may cause harmful interference to radio communications. However, there is no guarantee that interference will not occur in a particular installation.
If this equipment does cause harmful interference to radio or television reception, which can be determined by turning the equipment off and on, the user is encouraged to try to correct the interference by one or more of the following measures:
- Reorient or relocate the receiving antenna.
- Increase the separation between the equipment and receiver.
- Connect the equipment into an outlet on a circuit different from that to which the receiver is connected.
- Consult the dealer or an experienced radio/TV technician for help.
INTERNAL BATTERY INFORMATION
This Normatec Go control unit is equipped with a rechargeable lithium ion battery. The internal battery is designed to allow use of the Normatec Go System anywhere—even when power outlets aren’t available. The Normatec Go control unit may need to be charged before first use. A fully charged battery will provide power for up to 2 hours of cumulative run-time. It takes approximately 4 hours to fully charge the battery when the control unit is plugged in and not in use. The rechargeable lithium ion battery is intended to be changed only by authorized service personnel with the use of a special service tool.
- This device contains a lithium-ion battery. Batteries are only replaceable by a skilled worker with a special tool. Contact Hyperice for service or repair. When the battery is at end of life, the device shall be properly disposed of. The battery must be complied with safely at an appropriate e-waste disposal or recycling facility.
PRODUCT SPECIFICATIONS
- Normatec Go Model: ALJ7
- Normatec Go Calf Wrap Dimensions (fully open): 25” (width), 1” (depth), 12” (height); [63.5 cm (width), 2.5 cm (depth), 30.5 cm (height)]
- Normatec Go Weight: 1.2 lbs [0.5 kg]
- Normatec Go electrical requirement: 5V DC 1 A
- Maximum Air Pressure: 220 mm Hg
- Internal Battery Rating: 3.6V, 2550mAh/3.65V, 2600mAh
- Ambient Temperature (charging): + 50 °F to 95 °F [+10 °C to 35 °C]
- Temperature (operating): +41° F to 104° F [+5° C to +40° C]
- Temperature (storage): -13° F to +158° F [-25° C to +70° C]
- Relative Humidity (operating): 15% to 93%, non-condensing
- Relative Humidity (storage): -25˚ C without relative humidity control; +70˚ C at relative humidity up to 93%, non-condensing
- Atmospheric pressure (storage and transportation): 190hPa to 1060hPa
- Atmospheric pressure (operating): 700hPa to 1060hPa
ELECTROMAGNETIC COMPATIBILITY
The information contained in this section (such as separation distances) is in general specifically written with regard to the Normatec Go. The numbers provided will not guarantee faultless operation but should provide reasonable assurance of such. This information may not be applicable to other medical electrical equipment; older equipment may be particularly susceptible to interference.
GENERAL NOTES
Medical electrical equipment requires special precautions regarding electromagnetic compatibility (EMC) and needs to be installed and put into service according to the EMC information provided in this document and the remainder of the instructions for use of this control unit.
WARNING!
- Portable RF communications equipment (including peripherals such as antenna cables and external antennas) should be used no closer than 30 cm (12 inches) to any part of the Normatec Go, including cables specified by the manufacturer. Otherwise, degradation of the performance of this equipment could result.
- The Normatec Go should not be used adjacent to or stacked with other equipment. If adjacent or stacked use is necessary, the NormatecGo should be observed to verify normal operation. If operation is not normal, the Normatec Go or the other equipment should be moved.
- Use of accessories, transducers and cables other than those specified or provided by the manufacturer of this equipment could result in increased electromagnetic emissions or decreased electromagnetic immunity of this equipment and result in improper operation.
- Avoid exposure to known sources of EMI (electromagnetic interference) such as diathermy, lithotripsy, electrocautery, RFID (Radio Frequency Identification), and electromagnetic security systems such as anti-theft/electronic article surveillance systems, metal detectors. Note that the presence of RFID devices may not be obvious. If such interference is suspected, reposition the equipment, if possible, to maximize distances.
ELECTROMAGNETIC EMISSIONS
This equipment is intended for use in the electromagnetic environment of clinics, hospitals, athlete training, or home environments. The user of this equipment should assure that it is used in such an environment.
| Emissions | Compliance According To | Electromagnetic Environment |
| RF emissions (CISPR 11) | Group 1 | The equipment uses RF energy only for its internal function. Therefore, its RF emissions are very low and are not likely to cause any interference in nearby electronic equipment. |
| CISPR emissions classification | Class B | The equipment is suitable for use in all establishments, including domestic establishments and those directly connected to the public low-voltage power supply network that supplies buildings used for domestic purposes. |
| Harmonic emissions (IEC 61000-3-2) | Class A | |
| Voltage fluctuations/ flicker (IEC 61000-3-3) | Complies |
ELECTROMAGNETIC IMMUNITY
During the immunity testing described below the Normatec Go continued to provide therapy normally. This equipment is intended for use in the electromagnetic environment specified below. The user of this equipment should assure that it is used in such an environment.
| Immunity Against | Compliance Level (of this control unit) | Electromagnetic Environment |
| Electrostatic discharge, ESD (IEC 61000-4-2) | ± 8 kV direct | Floors should be wood, concrete, or ceramic tile. If floors are covered with synthetic material, the relative humidity should be kept at levels to reduce electrostatic charge to suitable levels. |
| Electrical fast transients/ bursts (IEC 61000-4-4) | ± 2 kV ± 2 kV | Mains power quality should be that of a typical clinic, hospital, athletic training, or home environment. |
| RF Proximity (IEC 61000- | Mains power quality should be that of a typical clinic, hospital, athletic training, or home environment. | Equipment with high RF emissions should be kept at a distance to reduce the likelihood of interference. |
| Surges on AC mains lines (IEC 61000-4-5) | ± 2 kV | Mains power quality should be that of a typical clinic, hospital, athletic training, or home environment. |
| Power frequency magnetic field 50/60 Hz (IEC 61000-4-8) | 30 A/m | Equipment that emits high levels of power line magnetic fields (in excess of 3A/m) should be kept at a distance to reduce the likelihood of interference. |
| Voltage dips and short interruptions on AC mains input lines (IEC 61000- 4-11 | 0.5 cycles 1 cycle 25 cycles (50 Hz) 30 cycles (60 Hz) 250 cycles (50 Hz) 300 cycles (60 Hz) | Mains power quality should be that of a typical clinic, hospital, athletic training, or home environment. If you require continued operation during power mains interruptions, ensure that batteries are installed and charged. Ensure that battery life exceeds longest anticipated power outages or provide additional uninterruptible power source. |
This equipment is intended for use in the electromagnetic environment specified below. The customer or the user of this equipment should assure that it is used in such an environment.
| Immunity Test | Compliance Level | Electromagnetic Environment – Guidance |
| Conducted RF RF coupled into lines (IEC 61000-4-6) | 3 Vrms 150 kHz to 80 MHz 6 Vrms in ISM bands | This device is suitable for the electromagnetic environment of typical clinic, hospital, athletic training or home environments. |
| Radiated RF (IEC 61000-4-3) | 10 V/m 80 MHz to 2.7 GHz |
EQUIPMENT CLASSIFICATION
- Protection against electric shock: Class II/internally powered equipment
- Degree of protection against electric shock: Type BF applied part
- Ingress protection: IP22
- Equipment not suitable for use in the presence of a flammable anesthetic mixture with air or with oxygen or nitrous oxide
- Continuous operation
TROUBLESHOOTING
| Problem | Possible Causes | Solutions |
| The system does not start | Power is not turned on, Battery is not charged | Press the power button to turn the control unit on. Check that the battery is charged. |
| The wrap does not inflate | The session has not been started The wrap is punctured or damaged | Check that the start / stop LED is ON and the timer is counting down. If not, press start / stop button to start or resume session. Check that there is no air leak error message on the display screen. |
| The system stopped pumping | The session has been stopped or ended. | Check that the start / stop LED is ON and the timer is counting down. If not, press start / stop button to start or resume session. Check that there is no air leak error message on the display screen. Check that there is no Low Battery message on the display screen. |
| Air leak message: Air Leak | Air leak | Check for punctures in the wrap. |
| Low Battery | Battery needs to be charged | Plug in the control unit to charge the battery. |
| Cannot establish or maintain a Bluetooth connection | Bluetooth is turned off | Turn on Bluetooth on the phone attempting to pair with the Normatec Go control unit. |
| Devices not syncing settings and/or treatment | Devices are not paired. | Check that the white pairing indicator light is illuminated on both devices. If not, your devices are not paired. Follow the “Using HyperSync™” instructions in the Operating Instructions to pair your devices. |
Call Hyperice customer service at +1.949.565.4994 if further assistance is needed.
WARRANTY
This product is covered by a limited warranty from Hyperice. Please visit hyperice.com/warranty to review the warranty in your country.
FDA INFORMATION
MedWatch is the Food and Drug Administration’s (FDA) program for reporting serious reactions, product quality problems, therapeutic inequivalence/failure, and product use errors with human medical products, including drugs, biologic products, medical devices, dietary supplements, infant formula, and cosmetics. If you think you or someone in your family has experienced a serious reaction to a medical product, you are encouraged to take the reporting form to your doctor. Your health care provider can provide clinical information based on your medical record that can help FDA evaluate your report. However, we understand that for a variety of reasons, you may not wish to have the form filled out by health care provider, or your health care provider may choose not to complete the form. Your health care provider is NOT required to report to the FDA. In these situations, you may complete the Online Reporting Form yourself. You will receive an acknowledgment from FDA when your report is received. Reports are reviewed by FDA staff. You will be personally contacted only if we need additional information.
SUBMITTING ADVERSE EVENT REPORTS TO FDA
Use one of the methods below to submit voluntary adverse event reports to the FDA:
a. Report online at: www.accessdata.fda.gov/scripts/medwatch/index.cfm?action=reporting.home
b. Consumer Reporting Form FDA 3500B. Follow the instructions on the form to either fax or mail it in for submission. For help filling out the form, see MedWatchLearn. The form is available at: www.fda.gov/downloads/aboutFDA/reportsmanualsforms/forms/ucm349464.pdf
c. Call FDA at 1-800-FDA-1088 to report by telephone
Reporting Form FDA 3500 commonly used by heath professionals. The form is available at: www.fda.gov/downloads/aboutFDA/reportmanualsforms/forms/ucm163919.pdf
NormaTec Industries, LP
480 Pleasant Street, Suite A200
Watertown, Massachusetts 02472 USA
Copyright 2022 © Hyperice, Inc. All rights reserved
hyperice.com














































