element EUF14CDBW 13.8 cu. ft.Upright Freezer

Safety Warnings
WARNING
This appliance is intended to be used in household and similar locations such as
- Staff kitchen areas in shops, offices, and other working environments
- Farmhouses and by clients in hotels, motels, and other residential type environment
- Bed and breakfast type environments
- Catering and similar non-retail locations
This appliance is not intended for use by persons (including children) with reduced physical, sensory, intellectual capabilities, or lack of experience and knowledge, unless they have been given supervision or instruction concerning use of the appliance by a person responsible for their safety. Children should be supervised to ensure that they do not play with the appliance. If the supply cord is damaged, it must be replaced by the manufacturer, its service agent or similarly qualified persons in order to avoid a hazard. Do not store explosive substances such as aerosol cans with a flammable propellant in this appliance. The appliance must be unplugged after use and before carrying out user maintenance on the appliance.
WARNING: Keep ventilation openings, in both the freezer and the built-in structure, clear of obstruction.
WARNING: Do not use mechanical devices or other means to accelerate the defrosting process other than those recommended by the manufacturer.
WARNING: Do not damage the refrigerant circuit.
WARNING: Do not use electrical appliances inside the food storage compartments of the appliance, unless they are of the type recommended by the manufacturer.
WARNING: Properly dispose of the freezer according to local laws and regulations pertaining to flammable gases and refrigerants.
WARNING: When positioning the appliance, ensure the supply cord is not trapped or damaged.
WARNING: Do not locate multiple portable socket-outlets or portable power supplies at the rear of the appliance.
WARNING: Risk of child entrapment. Before you throw away your old refrigerator or freezer
- Take off the doors.
- Leave the shelves in place so that children may not easily climb inside.
WARNING:To avoid a hazard due to instability of the appliance, it must be fixed in accordance with the instructions.
WARNING:Connect to potable water supply (suitable for ice making machine). Do not use extension cords or ungrounded (two prong) adapters. The freezer must be disconnected from the source of electrical supply before attempting the installation of accessory. Refrigerant and cyclopentane foaming materials used for the appliance are flammable. Therefore, when the appliance no longer runs, it should be kept away from any fire source and be recycled by a special recycling company with corresponding qualification rather than be disposed by combustion, in order to prevent damage to the environment or any other harm.For doors or lids fitted with locks and keys, keep the keys out of reach of children and not in the vicinity of the refrigerating appliance in order to prevent children from being locked inside . To prevent a children from being trapped, keep out of reach of children and not in the vicinity of the freezer (or refrigerator). For EU standard : This appliance can be used by children from ages 8 years and above, and people with reduced physical sensory, intellectual capabilities, or lack of experience and knowledge if they have been given supervision or instruction concerning use of the appliance in a safe way and understand the hazards involved. Children should not play with the appliance. Cleaning and user maintenance should not be made by children without supervision. Children ages 3 to 8 years are allowed to load and unload refrigerating appliances.
To avoid contamination of food, respect the following instructions
- Opening the door for long periods can cause a significant increase of temperature in the compartments of the appliance.
- Clean surfaces regularly that can come in contact with food and accessible drainage systems.
- Clean water tanks if they have not been used for 48h. Flush the water system connected to a water supply if water has not been drawn for 5 days. (note 1)
- Store raw meat and fish in suitable containers in the freezer so that it is not in contact with or drip onto other food.
- Two-star frozen-food compartments are suitable for storing pre-frozen food, storing or making ice-cream and making ice cubes. (note 2)
- One-, two- and three-star compartments are not suitable for the freezing of fresh food. (note 3)
- For appliances without a 4 star compartment this refrigerating appliance is not suitable for freezing food. (note 4)
- If the refrigerating appliance is left empty for long periods, switch off, defrost, clean, dry, and leave the door open to prevent mold developing within the appliance.
Notes 1, 2, 3, 4: Confirm whether it is applicable according to your product compartment type.
For a freestanding appliance: this refrigerating appliance is not intended to be used as a built-in appliance. Any replacement or maintenance of the LED lamps is intended to be made by the manufacturer, its service agent, or similar qualified person.
Meaning of safety warning symbols
- This is a prohibition symbol. Any incompliance with instructions marked with this symbol may result in damage to the product or endanger the personal safety of the user.
- This is a warning symbol. It is required to operate in strict observance of instructions marked with this damage to the product or personal injury may be caused.
- This is a cautioning symbol. Instructions marked with this symbol require special caution Insufficient caution may result in slight or moderate injury, or damage to the product.
- Do not pull the power cord when pulling the power plug of the freezer. the socket.
- To ensure safe use, do not damage the power cord or use the power cord when it is damaged or worn.
- If noise, odor and smoking happens, unplug the power plug immediately, and contact the distributor or local service agent.

- The power socket should not be shared with other electrical appliances.
- The power plug should be finmly contacted with the socket or else fires might be caused
- Ensure that the grounding electrode of the power socket is equipped with a reliable grounding line.

- Turn the valve off from the leaking gas and then open the doors and windows in case of leakage of gas and other flammable gases.
- Do not unplug the freezer and other electrical appliances considering that spark may cause a fire.

- Do not use electrical appliances on the top of the appliance, unless they are of the type recommended by the manufacturer.

Warnings for using
Do not arbitrarily disassemble or reconstruct the freezer, or damage the refrigerant circuit. Maintenance of the appliance must be conducted by a specialist.
Damaged power cord must be replaced by the manufacturer, its maintenance department, or related professionals in order to avoid danger.
The gaps between the freezer and freezer door are small.
Do not put your hands in these areas to prevent from squeezing the finger. Be considerate when closing the freezer door to avoid falling articles.
Do not pick food or containers with wet hands in the freezing chamber when the freezer is running, especially metal containers in order to avoid frostbite.
Do not allow any children to get into or climb the freezer; otherwise suffocation or injury may be caused.
Do not place heavy objects on top of the freezer considering that objects may fall when opening or closing the door, and accidental injuries might be caused.
Pull the plug out in case of power failure or cleaning. Do not Connect the freezer to a power supply within five minutes to prevent damages to the compressor due to successive stats.
Warnings for placement
- Do not put flammable, explosive, volatile and highly corrosive items in the freezer to prevent damages to the product or fire accidents.
- Do not place flammable items near the freezer to avoid fires.

- The freezer is intended for household use, such as storing food.

- It should not be used for other purposes, such as storage of blood, drugs or biological products, etc.
- Do not store beer, beverages or other fluids contained in bottles or enclosed containers in the freezing chamber of the freezer; otherwise the bottles or enclosed containers may crack due to freezing and can cause damages.

Warnings for energy
Warning for energy
- Refrigerating appliances might not operate consistently (possibility of defrosting of contents or temperature becoming too warm in the frozen food compartment) when sited for an extended period of time below the cold end of the range of temperatures for which the refrigerating appliance is designed.
- Effervescent drinks should not be stored in food freezer compartments or cabinets or in low-temperature compartments or cabinets, and that some products such as water should not be consumed too cold.
- Do not exceed the storage time(s) recommended by the food manufacturers for any kind of food and particularly for commercially quick-frozen food in food-freezer and frozen-food storage compartments or cabinets.
- Take the necessary precautions to prevent an undue rise in the temperature of the frozen food while defrosting the refrigerating appliance, such as wrapping the frozen food in several layers of newspaper
- A rise in temperature of the frozen food during manual defrosting, maintenance or cleaning could shorten the storage life.
- For doors or lids fitted with locks and keys, keep the keys out of reach of children and not in the vicinity of the refrigerating appliance, in order to prevent children from being locked inside.
Warnings for disposal
Refrigerant and cyclopentane foaming material used for the freezer are flammable. Therefore, when the freezer is scrapped, it should be kept away from any fire source and be recycled by a special recycling company with corresponding qualification other than be disposed by combustion, s0 as to prevent damage to the environment or any otner harm. When the freezer is scrapped, disassemble the doors and remove gasket of door and shelves. Put the doors and shelves in a proper place to prevent trapping of any child. Correct Disposal of this product: This marking indicates that this product should not be disposed with other household wastes. To prevent possible harm to the environment or human health from uncontrolled waste disposal, recycle it responsibly to promote the sustainable reuse of material resources. To return your used device, use the return and collection systems or contact the retailer where the product was purchased. They can take thiIS product for environmental safe recycling.
Proper Use of Freezer
Placement
- Before use, remove all packing materials, including bottom cushions foam pads and tapes inside of the freezer.
- Tear off the protective frilm on the doors and the freezer body.

- Keep away from heat and avoid direct sunlight. Do not place the freezer in moist or watery places to prevent rust or reduction of insulating effect.
- Do not spray or wash the freezer. Do not put the freezer in moist places easy to be splashed with water to not affect electrical insulation properties of the freezer.

- The freezer is placed in a well-ventilated indoor place.
- The ground should be flat, and sturdy (rotate left or right to adjust the wheel for leveling if unstable).

- Do not use the appliance on traffic means (such as a boat).
- The top space of the freezer should be greater than 30cm.

- The freezer should be placed against a wall with a free distance more than 10cm to facilitate heat dissipation.
Precautions before installation: Before installation or adjusting of accessories, ensure that the freezer is disconnected from power. Precautions should be taken to prevent the handle from falling and causing any personal injury.
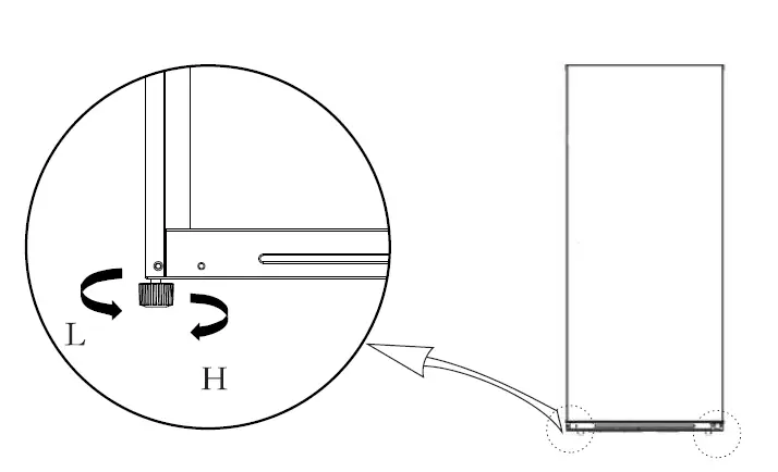
Leveling feet
Schematic diagram of the leveling feet
(The picture above is only for reference. The actual configuration will depend on the physical product or statement by the distributor )
Adjusting procedures:
- a. Turn the feet clockwise to raise the freezer.
- b. Turn the feet counterclockwise to lower the freezer.
- C. Adjust the right and left feet based on the procedures above to a horizontal level.
Changing the light
Any replacement or maintenance of the LED lights is intended to be made by the manufacturer, its service agent or similar qualified person.
Start to use
- Before initial start, keep the freezer still for half an hour before connecting it to power supply.
- Before putting any fresh or frozen food, the freezer should run for 2-3 hours, or for above 4 hours in summer when the ambient temperature is high

- Spare enough space for convenient opening of the doors and drawers.
- The picture to the left is only for reference. The actual configuration will depend on the physical product or statement by the distributor.

Energy saving tips
- The appliance should be located in the coolest area of the room, away from heat producing appliances or heating ducts, and out of the direct sunlight.
- Let hot food cool to room temperature before placing in the appliance. Overloading the appliance forces the compressor to run longer. Food that freezes too slow may lose quality, or spoil.
- Be sure to wrap food properly and wipe containers dry before placing them in the appliance. This cuts down on frost build-up inside the appliance.
- Appliance storage bin should not be lined with aluminum foil, wax paper, or paper toweling. Liners interfere with cold air circulation, making the appliance less efficient.
- Organize and label food to reduce door openings and extended searches. Remove as many items as needed at one time, and close the door as soon as possible.
Structure and Functions
Key components
The picture above is only for reference. The actual configuration will depend on the physical product or statement by the distributor.)
Refrigerating chamber
- The refrigerating chamber is suitable for storage of a variety of fruits, vegetables, beverages and other food consumed in the short term.
- Warm food should not be put in the refrigerating chamber until cooled to room temperature.
- Food is recommended to be sealed before putting into the freezer.
- The wire shelves can be adjusted up or down for a reasonable amount of storage space and easy use.
Freezing chamber
- The low temperature freezing chamber may keep food fresh for a long time and it is mainly used to store frozen food and making ice.
- The freezing chamber is suitable for storage of meat, fish, rice balls and other food not to be Consumed in short term.
- Chunks of meat are preferably to be divided into small pieces for easy access. Note that food should be consumed within the shelf time.
- Note: Storage of too much food during operation after the initial connection to power may adversely affect the freezing effect of the freezer. Stored food should not block the air outlet; otherwise the freezing effect will also be adversely affected.
Functions
Key
A.Set key (Temperature setting button of the freezer compartment)
Display screen
- Osetting 1:cOLDEST
- 2setting 2: COLDER
- setting 3: COLD
- setting 4: FRZ./REF.
DisplayY
Once initially powered on, the display screen is on full display for 3 seconds. and then the freezer runs according to coLDER/FRZ. Normal operation display In case of a failure, the corresponding LED blinks. In case of no failures, it shows the actual temperature setting of the freezer.
Temperature setting
Each time the temperature setting button A is pressed once, the temperature setting changes one time. After the temperature setting has been completed, the freezer will run according to the set value after 15 seconds.
The shift regulation is
When the temperature control panel is in lock state, press the temperature setting key for 3 seconds for unlocking the panel, all LEDS will blink for 2 second when panel is unlocked. When the temperature control panel is in unlock state, if there is no operation on the control panel within 15 seconds, it will enter into lock state automatically.
Freezer/ Refrigerator conversion
In the unlocking state, Hold down
LE for 3 seconds, then the icon
RZ/REF. Shines , the appliance runs as a freezer. 1 old dow
sCUNLOox for another 3 seconds, then icon
FRZ/REF. goes out,the appliance runs as a refrigerator.
Maintenance and Care of the Freezer
Overall cleaning
- Dust behind the freezer and on the ground should be timely cleaned to improve the cooling effect and energy saving.
- Check the door gasket regularly to make sure there is no debris. Clean the door gasket with a soft cloth
dampened with soapy water or diluted detergent. - The interior of the freezer should be cleaned regularly to avoid odor.
- Turn the power off before cleaning interior, remove all foods, drinks, shelves, drawers, etc.
- Use a soft cloth or sponge, two tablespoons of baking soda and a quart of warm water to clean the inside of the freezer. Rinse with water and wipe clean. After cleaning, open the door and let it dry naturally before turning on the power For areas that are difficult to clean in the freezer (such as narrow spaces, gaps, or corners), it is recommended to wipe them regularly with a soft rag, soft brush, etc. and when necessary, combined with Some auxiliary tools (such as thin sticks) to ensure no contaminants or bacteria accumulated in these areas.
- Do not use soap, detergent, scrub powder, spray cleaner, etc., as these may cause odors in the interior of the freezer or contaminate food.
- Clean the bottle frame, shelves and drawers with a soft cloth dampened with soapy water or diluted detergent. Dry with a soft cloth or dry naturally.
- Wipe the outer suface of the freezer with a soft cloth dampened with soapy water, detergent, etc., and then wipe dry.
- Do not use hard brushes, clean steel balls, wire brushes, abrasives (such as toothpastes), organic solvents (such as alcohol, acetone, banana oil, etc.), boiling wate, acid or
- alkaline items, which may damage the fridge surface and interior. Boiling water and organic solvents such as benzene may deform or damage plastic parts.
- Do not rinse directly with water or other liquids during cleaning to avoid short circuits or affect electrical insulation after immersion.

Cleaning of door tray
The picture above is only for reference. The actual configuration will depend on the physical product or statement by the distributor ) According to the direction arrow in the figure below, use both hands to squeeze the tray, and push it upward, then you can take it out. After washing the tray having been taken out, you can adjust its installation height in accordance with your requirement.
Defrosting
The freezer is made based on the air-cooling principle and has automatic defrosting function. Frost formed due to change of season or temperature may also be manually removed by disconnection of the appliance from power supply or by wiping with a dry towel.
Out of operation
Power failure: In case of power failure, even in the summer, food inside the appliance can be kept for several hours. During the power failure, the amount of times the door opens should be reduced, and no more fresh food should be put into the appliance. Long-time nonuse: The appliance should be unplugged and then cleaned; then the doors are left open to prevent odor. Moving: Before the freezer is moved, take all objects out, fix the glass partitions, vegetable holder, freezing chamber drawers and etc. with tape, and tighten the leveling feet. Close the doors and fix them with tape. During moving, the appliance should not be laid upside down, horizontally, or be vibrated. The inclination during movement should be no more than 45°. The appliance should run continuously once it is started. Generally, the operation of the appliance (A should not be interrupted; otherwise the service life may be impaired
Troubleshooting
You may try to solve the following simple problems by yourself. If the problem cannot be solved, contact the after-sales department.
Warranty
Element Appliance Limited Warranty
(the “Products” or “Product” when referencing a singular product herein) This Product (including any accessories included in the original packaging) as supplied and distributed in new condition, is warranted by Element Appliance Company, LLC (“Element”) to the original customer who purchases the Product from an authorized Element retailer (the “original Customer or “you) against defects in material and workmanship under proper use, maintenance, and care according to the owners manual, warnings, and instructions accompanying the Product (“Warranty) as follows: * PLEASE NOTE-Proof of purchase evidencing the date of purchase by the Original Purchaser from an authorized Element retailer (“Valid Proof of Purchase”) is required for all Warranty service. The express Warranty set forth herein is subject to all terms and conditions set forth below.
WARRANTY SERVICE
ONE-YEAR WARRANTY: Except as provided in subpart 1.B below, for a period of one (1) year from the date of purchase by the Original Customer (the “Warranty Period”), if the parts or components covered by this Warranty are determined by Element or Element’s authorized service provider to be defective in material or workmanship, Element will, at its sole and absolute discretion and option: (i) repair the defective part or component at no charge to the Original Customer, (ii) replace the defective Product with a new Product of similar or better quality, at no charge to the Original Customer, or (ii) refund the documented purchase price paid by the Original Customer (excluding tax) to the Original Customer upon return of the defective Product as directed by Element. After the Warranty Period expires, the Original Customer must pay for all parts, components, shipping and handling, labor, and replacement costs associated with the Product or any part or component thereof, regardless of any defects in the Product or any part or component thereof.
LIMITED EXTENDED WARRANTY THROUGH PRODUCT REGISTRATION: if and only if the Original Customer registers the Product at www.elementelectronics.com within ninety (90) days of the date of purchase by the Original Customer, then the Warranty Period discussed in subpart 1.A. above shall be extended an additional one (1) year to a new Warranty Period equaling two (2) years from the date of purchase by the Original Customer. If the Product is not registered as provided for in this subpart 1.B, then the standard one-year Warranty Period set forth in subpart 1.A shall apply
TIMING AND PROCEDURE: Before Warranty service can commence, the Original Customer must contact either (i) the retailer from whom the Original Customer purchased the Product, or (i) Element directly, in either case for problem determination and service procedures. Valid Proof of Purchase evidencing that the Product is within the Warranty Period MUST be presented by Original Customer in order to obtain the requested Warranty service. Please have your model and serial number available, along with your date of purchase of the Product. To remain eligible for Warranty service, Original Customer may not return the Product or any part or component thereof to the retailer or Element without Element’s prior written consent.
EXCLUSIONS AND LIMITATIONS TO WARRANTY SERVICE
The Warranty covers manufacturing defects in materials and workmanship of the Product encountered in the normal, non-commercial use of the Product, and does not cover (a) damages or malfunctions resulting from improper or unreasonable use or maintenance, abuse, negligence, failure to follow instructions contained in any written materials that accompany the Product, deterioration by reason of excess moisture, corrosive atmosphere, lightning, power surges, connections to improper voltage supply, unauthorized alteration, or other external causes such as extremes in temperature or humidity, modifications, scratches or discoloration; (b) improper or incorrectly performed repairs by service providers not authorized by Element; (c) transportation, shipping, delivery, pickup, insurance, installation, or set- up costs; (d) ordinary wear and tear, cosmetic damage, or damage due to acts of nature, including but not limited to, water, floods, wind, storm, tornado, earthquake, or fire, or due to damage caused by extraordinary impact events, such damage; dropping crushing demolition extraordinary as or other (e) commercial use of the Product, or use of the Product for anything other than single-family household or residential use; or (f) modification of the Product or any part of the Product. This Warranty is made to the Original Customer only and does not cover Products sold AS IS or WITH ALL FAULTS. The Warranty is invalid if the factory-applied serial number has been altered or removed from the Product. This Warranty is valid only in the United States, and only applies to Product if it was purchased and serviced in the United States. The addition of equipment or features to the Product that are not manufactured or recommended by Element could affect the intended function of the Product, and therefore may void the Warranty. Furthermore, the exposure of the Product to chemicals, heat, cold, humidity, or other elements can affect the Product components, and therefore, the Warranty does not cover discoloration, fading, cosmetic changes, rust, or any damages or failure related to any such items. The Warranty is contingent upon the proper use, maintenance, and care of the Product. The Warranty may be void if the Product has been used in a manner contradictory to, or in violation of, the terms of the user’s manual, warnings, or instructions accompanying the Product.THIS WARRANTY IS MADE IN LIEU OF AND SUPERSEDES ALL OTHER WARRANTIES OR CONDITIONS OF MERCHANTABILITY OR FITNESS FOR A PARTICULAR PURPOSE OR GENERAL USE, WHETHER EXPRES, IMPLIED, cOLLATERAL, STATUTORY, OR PROVIDED BY cOMMON LAW, THE UNIFORM COMMERCIAL cODE, OR OTHERWISE. ELEMENT FURTHER DISCLAIMS ALL WARRANTIES AFTER THE END OF THE WARRANTY TERM DEFINED ABOVE. NO OTHER EXPRESS WARRANTY OR GUARANTY GIVEN BY ANY OTHER PERSON, FIRM, OR ENTITY WITH RESPECT TO THE PRODUCT SHALL BE BINDING ON ELEMENT. REPAIR, REPLACEMENT, OR REFUND OF THE ORIGINAL PURCHASE PRICE, AT ELEMENT’S SOLE DISCRETION, ARE THE EXCLUSIVE REMEDIES OF THE CuSTOMER. ELEMENT SHALL NOT BE LIABLE FOR ANY INCIDENTAL OR CONSEQUENTIAL DAMAGES CAUSED BY THE USE, MISUSE, OR INABILITY TO USE THE PRODUCT. THESE INCLUDE, BUT ARE NOT LIMITED TO, ANY DAMAGES IN THE FORM OF LOST PROFITS, Loss OF USE, LEGAL FEES, ECONOMIC LOSS, PERSONAL INJURIES, OR ANY OTHER DAMAGES CAUSED BY CIRCUMSTANCES BEYOND THE CONTROL OF ELEMENT. NOTWITHSTANDING THE FOREGOING, ELEMENT’S AGGREGATE LIABILITY TO ANY CUSTOMER SHALL NOT EXCEED THE ORIGINAL PURCHASE PRICE OF THE PRODUCT. THIS WARRANTY SHALL NOT EXTEND TO ANYONE OTHER THAN THE ORIGINAL CUsTOMER WHO PURCHASED THE PRODUCT, AND IS NOT TRANSFERRABLE. NO PERSON IS AUTHORIZED TO ALTER, EXTEND, OR WAIVE THIS WARRANTY OR ANY OF ITS TERMS OR CONDITIONS. Some states do not allow the exclusion or limitation of incidental or consequential damages, or allow limitations on warranties, so the above limitations or exclusions may not apply to you. This Warranty gives you specific rights, and you may have other rights, which vary from state to state. The exclusions and limitations to the Warranty apply to the maximum extent permitted by law and unless restricted or prohibited by law. Where any term of this Warranty is prohibited by applicable law, it shall be null and void, but the remainder of this Warranty shall remain in effect.
PLEASE DIRECT ALL CORRESPONDENCE TO:
Element Appliance Company, LLC [email protected] (888) 842-3577 https://elementelectronics.com

































