kogan KAM314TMSFA 314L Top Mount Fridge

SAFETY & WARNINGS
ENSURE YOU HAVE READ THIS USER GUIDE CAREFULLY BEFORE USE, AND RETAIN THE USER GUIDE FOR FUTURE REFERENCE.
Warning:
Warming: Risk of fire / flammable materials.
This appliance is intended to be used in household and similar applications such as staff kitchen areas in shops, offices and other working environments; farmhouses and by clients in hotels, motels and other residential type environments; bed and breakfast type environments; catering and similar non- retail applications.
If the supply cord is damaged, it must be replaced by Kogan.com or an authorised representative in order to avoid a hazard.
Do not store explosive substances such as aerosol cans with a flammable propellant in this appliance.
The appliance must be unplugged after use and before carrying out user maintenance on the appliance.
WARNING: Keep ventilation openings, in the appliance enclosure or in the built-in structure, clear of obstruction.
WARNING: Do not use mechanical devices or other means to accelerate the defrosting process, other than those recommended by the manufacturer.
WARNING: Do not damage the refrigerant circuit.
WARNING: Do not use electrical appliances inside the food storage compartments of the appliance, unless they are of the type recommended by the manufacturer.
WARNING: Please abandon the refrigerator according to local regulators for it use flammable blowing gas and refrigerant.
WARNING: When positioning the appliance, ensure the supply cord is not trapped or damaged.
WARNING: Do not locate multiple portable socket-outlets or portable power supplies at the rear of the appliance.
Do not use extension cords or ungrounded (two prong) adapters.
DANGER Risk of child entrapment. Before you throw away your old refrigerator or freezer:
- Take off the doors.
- Leave the shelves in place so that children may not easily climb inside.
Refrigerant and cyclopentane foaming material used for the appliance are flammable.
Therefore, when the appliance is scrapped, it shall be kept away from any fire source and be recovered by a special recovering company with corresponding qualification other than be disposed by combustion, so as to prevent damage to the environment or any other harm.
This appliance can be used by children aged from 8 years and above and persons with reduce physical sensory or mental capabilities or lack of experience and knowledge if they have been given supervision or instruction concerning use of the appliance in a safe way and understand the hazards involved. Children shall not play with the appliance. Cleaning and user maintenance shall not be made by children without supervision. Children aged from 3 to 8 years can load and unload refrigerating appliances.
WARNING: To avoid a hazard due to instability of the appliance, it must be fixed in accordance with the instructions.
- Do not pull the power cord when pulling the power plug of the refrigerator. Firmly grasp the plug and pull out it from the socket directly.
- To ensure safe use, do not damage the power cord or use the power cord when it is damaged or worn.
- Use a dedicated power socket and the power socket shall not be shared with other electrical appliances. The power plug should be firmly contacted with the socket or else fires might be caused.
- Ensure that the grounding electrode of the power socket is equipped with a reliable grounding line.
- Turn off the valve of the leaking gas and then open the doors and windows in case of leakage of gas and other flammable gases. Do not unplug the refrigerator and other electrical appliances considering that spark may cause a fire.
- Do not use electrical appliances on the top of the appliance, unless they are recommended by Kogan.com specifically for this.
Operation warnings
- Do not arbitrarily disassemble or reconstruct the refrigerator, nor damage the refrigerant circuit; maintenance of the appliance must be conducted by Kogan.com or an authorised representative.
- If the power cored is damaged, cease use immediately and contact Kogan.com for assistance. Do not use the fridge again until it has been permitted.
- Damaged power cord must be replaced by Kogan.com or an authorised representative in order to avoid danger.
- The gaps between refrigerator door and cabinet is small, be noted not to put your hand in these areas to prevent from squeezing the finger. Be gentle when closing the refrigerator door to avoid falling articles.
- Do not pick foods or containers in the freezing chamber when the refrigerator is running, especially metal containers in order to avoid frostbite.
- Do not allow any child to get into or climb the refrigerator; otherwise suffocation or falling injury of the child may be caused.
- Do not place heavy objects on the top of the refrigerator considering that objects may fall when close or open the door and accidental injuries might be caused.
- If experiencing frequent power outages, we recommend un-plugging the fridge until power supply is consistent. Do not connect the refrigerator to power supply within five minutes to prevent damages to the compressor due to successive starts.
Warnings for energy
- Refrigerating appliances might not operate consistently (possibility of defrosting of contents or temperature becoming too warm in the frozen food compartment) when sited for an extended period below the cold end of the range of temperatures for which the refrigerating appliance is designed.
- The fact that effervescent drinks should not be stored in food freezer compartments or cabinets or in low-temperature compartments or cabinets and that some products such as water ices should not be consumed too cold;
- The need to not exceed the storage time(s) recommended by the food manufacturers for any kind of food and particularly for commercially quick-frozen food in food-freezer and frozen-food storage compartments or cabinets;
- The precautions necessary to prevent an undue rise in the temperature of the frozen food while defrosting the refrigerating appliance, such as wrapping the frozen food in several layers of newspaper.
- The fact that a rise in temperature of the frozen food during manual defrosting, maintenance or cleaning could shorten the storage life.
- The necessity that, for doors or lids fitted with locks and keys, the keys be kept out of the reach of children and not in the vicinity of the refrigerating appliance, in order to prevent children from being locked inside.
Meaning of safety warning symbols:
| This is a prohibition symbol. Any incompliance with instructions marked with this symbol may result in damage to the product or endanger the personal safety of the user. |
| This is a warning symbol. It is required to operate in strict observance of instructions marked with this symbol; or otherwise damage to the product or personal injury may be caused. |
| This is a cautioning symbol. Instructions marked with this symbol require special caution. Insufficient caution may result in slight or moderate injury or damage to the product. |
This user guide contains important safety information which shall be observed by the users.
OVERVIEW

The picture above is only for reference and may differ to the actual product.
Refrigerating chamber
- The refrigerating chamber is suitable for storage of a variety of fruits, vegetables, beverages and other food consumed in the short term.
- Recently cooked foods shall not be put in the refrigerating chamber until cooled to room temperature.
- Foods are recommended to be sealed before placing in the refrigerator.
- The adjustable shelves can be repositioned up or down for ideal configuration.
- For better use of the refrigerator, it is recommended to push damper adjusting slider to its top position; if it is not enough cool in the refrigerator chamber, check the slider position.
Freezing chamber
- The low temperature freezing chamber may keep food fresh for a longer time and is mainly used to store frozen foods and making ice.
- The freezing chamber is suitable for storage of meat, fish, rice balls and other foods not to be consumed in short term.
- Chunks of meat are preferably to be divided into small pieces for quick freezing and easy access. Please be noted food shall be consumed within the shelf time.
BEFORE FIRST USE
Placement
- Before use, remove all packing materials, including bottom cushions, foam pads and tapes inside of the refrigerator; tear off the protective film on the doors and the refrigerator body.
- Keep away from heat and avoid direct sunlight. Do not place the freezer in moist or watery places to prevent rust or reduction of insulating effect.
- Do not spray or wash the refrigerator; do not put the refrigerator in moist places easy to be splashed with water so as not to affect the electrical insulation properties of the refrigerator.
- The refrigerator is placed in a well-ventilated indoor place; the ground shall be flat and sturdy (rotate left or right to adjust the wheel for levelling if unstable).
- The top space of the refrigerator shall be greater than 30cm and the refrigerator should be placed against a wall with a free distance more than 10cm to facilitate heat dissipation.
Precautions before installation:
Before installation or adjusting of accessories, ensure that the refrigerator is disconnected from power.
Precautions shall be taken to prevent fall of the handle from causing any personal injury.
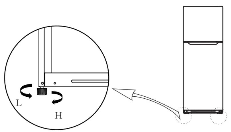
Levelling Feet
Adjusting procedures:
- Turn the feet clockwise to raise the refrigerator
- Turn the feet counter-clockwise to lower the refrigerator
- Adjust the right and left feet based on the procedures above to a horizontal level

The picture shown is only for reference. The actual configuration will depend on the physical product or statement by the distributor.
CHANGING DOOR SIDE
Changing door hinge side (Right/Left Change)
Tools required (not supplied)
- Allen keys, Phillips head screwdriver

- Putty knife or flathead screwdriver

- 5/16″ socket and ratchet

- Masking tape

Parts pre-installed on the refrigerator, removed when the door is reversed and kept for future use:
| No | Parts | Qty |
| 1 | Right upper hinge | x1 |
| No | Parts | Qty |
| 2 | Upper right hinge cover | x1 |
Parts pre-installed on the refrigerator, still used when door is reversed:
| No | Parts | Qty |
| 3 | Hole cover | x1 |
| 5 | Stopper lower hinge | x1 |
| 7 | Cap of left cover | x1 |
| No | Parts | Qty |
| 4 | Stopper | x1 |
| 6 | Levelling feet | x1 |
Supplied in the included plastic bag, use when door is reversed:
| No | Parts | Qty |
| 8 | Left upper hinge | x1 |
| 10 | Cap of right cover | x1 |
| No | Parts | Qty |
| 9 | Upper left hinge cover | x1 |
- Power off this appliance before conducting this operation. Remove all food from door shelves.
- Remove hole cap, the upper hinge fitting screws of upper hinge. upper hinge and sleeve pipe, then lift the freezer door until it is separated from cabinet completely.

- Remove the hole caps, fitting screws of middle hinge and middle hinge, then lift the refrigerator door until it is separated from cabinet completely.

- Remove the hole caps, fitting screws of middle hinge and middle hinge, then lift the refrigerator door until it is separated from cabinet completely.

- Dismantle the stoppers and sleeve pipes of both refrigerator and freezer doors, then install them on the other side of both doors; exchange the position of the sleeve pipe and hole cap on upper end cap of refrigerator door; remove the left cover of freezer door and move the sleeve pipe.

- Install the refrigerator door on the lower hinge and then install the middle hinge and hole caps.

- Using the left upper hinge, left upper hinge cover and right decorative cover from the enclosed accessory bag, install the freezer door on the middle hinge and install the left upper hinge, left hinge cover and hole cap. Install the right decorative cover on right side of end cap of freezer door to complete the process.

Note:
The images above are only for reference and the actual product may differ.
OPERATION
Changing the Light
Any replacement or maintenance of the LED lamps must be made by kogan.com, an authorised service agent or similar qualified person. Do not repair or replace LED lamps yourself.
Starting
- Before initial start, keep the refrigerator still for two hours before connecting it to power supply.
- Before putting any fresh or frozen foods, the refrigerator shall have run for 2-3 hours or for above 4 hours in summer when the ambient temperature is high.
- Spare enough space for convenient opening of the doors and drawers.

Energy saving tips
- The appliance should be in the coolest area of the room, away from heat producing
appliances or heating ducts and out of the direct sunlight. - Let hot foods cool to room temperature before placing in the appliance. Overloading the appliance forces the compressor to run longer. Foods that freeze too slowly may lose quality or spoil.
- Be sure to wrap foods properly and wipe containers dry before placing them in the appliance. This cuts down on frost build-up inside the appliance.
- Appliance storage bin should not be lined with aluminum foil, wax paper or paper to welling. Liners interfere with cold air circulation, making the appliance less efficient.
- Organize and label food to reduce door openings and extended searches. Remove as many items as needed at one time and close the door as soon as possible.
FUNCTIONS
Temperature-control knob

Note:
The image above is only for reference and the actual product may differ.
| A | Setting button | ||
| 1 | Temp 1 (Cold) | 3 | Temp 3 (Coldest) |
| 2 | Temp2(Mid) | 4 | “Super cool” mode |
Display
When powering on the refrigerator for the first time, the display screen will light up fully for 3 seconds, then run according at setting 3. In case of a failure, the corresponding LEDs will show one of the below fault codes. In case of no failures, the display screen will show the temperature setting.
| Fault Code | Fault Description |
| Indicator setting 3 and 4 | Refrigerator temperature sensor |
| Indicator setting 2 and 4 | Freezer defrost sensor |
| Indicator setting 1 and 4 | Ambient temperature sensor |
Temperature setting
Each time the temperature setting button (A) is pressed once, the temperature setting changes one time. After the temperature setting has been completed, the refrigerator will run according to the set value after 15 seconds.
The shift regulation is:

Lock/Unlock
When the temperature control panel is in lock state, ii needs to long press temperature setting key for 3 seconds for unlocking the panel, all LEDs will blink for 2 seconds when panel is unlocked. When the temperature control panel is in unlock state, if there is no operation on control panel within 15 seconds, it will enter lock state automatically.
Damper adjusting slider

The initial position of the damper adjusting slider is on the far-right side.
For better user experience, it is recommended to push the slider to right position and press the Setting button to Temp 2 position. If it is not enough cool inside the refrigerator compartment, check the slider to ensure the position is set correctly.
CLEANING & CARE
Overall cleaning
- Ensure dust behind the refrigerator and on the ground is cleaned regularly to improve the cooling effect and energy saving.
- Check the door gasket regularly to make sure there are no debris. Clean the door gasket with a soft cloth dampened with soapy water or diluted detergent.
- The interior of the refrigerator should be cleaned regularly to avoid odour.
- Turn off the power before cleaning interior, remove all foods, drinks, shelves, drawers, etc.
- Use a soft cloth or sponge to clean the inside of the refrigerator, with two tablespoons of baking soda and a quart of warm water. Then rinse with water and wipe clean. After cleaning, open the door and let it dry naturally before turning on the power.
- For areas that are difficult to clean in the refrigerator (such as narrow sandwiches, gaps or corners), it is recommended to wipe them regularly with a soft rag, soft brush, etc. and when necessary, combined with some auxiliary tools (such as thin sticks) to ensure no contaminants or bacterial accumulation in these areas.
- Do not use soap, detergent, scrub powder, spray cleaner, etc., as these may cause odours in the interior of the refrigerator or contaminated food.
- Clean the bottle frame, shelves and drawers with a soft cloth dampened with soapy water or diluted detergent. Dry with a soft cloth or dry naturally. Wipe the outer surface of the refrigerator with a soft cloth dampened with soapy water, detergent, etc. and
- Wipe the outer surface of the refrigerator with a soft cloth dampened with soap water, detergent, etc. and then wipe dry.
- Do not use hard brushes, clean steel balls, wire brushes, abrasives (such as toothpastes), organic solvents (such as alcohol, acetone, banana oil, etc.), boiling water, acid or alkaline items, which may damage the fridge surface and interior. Boiling water and organic solvents such as benzene may deform or damage plastic parts.
- Do not rinse directly with water or other liquids during cleaning to avoid short circuits or affect electrical insulation after immersion.

WARNING: Please unplug the refrigerator for defrost and cleaning.
Cleaning the glass shelf
- Lift the front of glass shelf and then remove
- Clean as necessary
- Replace, positioning the back first and then lowering the front (the reverse motion of removing).

Defrosting
- The unit has an automatic defrosting function. Frost formed due to change of season or temperature may also be manually removed by disconnection of the appliance from power supply or by wiping with a dry towel.
Out of operation
- Power failure: In case of power failure, even if it is in summer, foods inside the appliance can be kept for several hours; during the power failure, the times of door opening shall be reduced and no more fresh food shall be put into the appliance.
- Long-time non-use: The appliance shall be unplugged and then cleaned; then the doors are left open to prevent odour.
- Moving: Before the refrigerator is moved, take all objects inside out, fix the glass partitions, vegetable holder, freezing chamber drawers etc. with tape and tighten the levelling feet; close the doors and fix them with tape. During moving, the appliance shall not be laid upside down or horizontally or be vibrated; the inclination during movement shall be no more than 45°.
WARNING: The appliance shall run continuously once it is started. Generally, the operation of the appliance shall not be interrupted; otherwise the service life may be impaired.
TROUBLESHOOTING
If you’re experiencing difficultly with the unit, refer to the below common troubleshooting fixes first. If problems persist, contact help.Kogan.com for further assistance.
| Failed operation |
|
| Odour |
|
| The compressor is running for a long time |
|
| Light fails to turn on |
|
| Doors cannot be properly closed |
|
| Loud noise |
|
| Door seal fails to be tight |
|
| Water pan overflows |
|
| Hot housing |
|
| Surface condensation |
|
| Abnormal noise |
|
Disposal
This marking indicates that this appliance should not be disposed with other household wastes. To prevent possible harm to the environment or human health from uncontrolled waste disposal, recycle it responsibly to promote the sustainable reuse of material resources.
Need more information?
We hope that this user guide has given you
the assistance needed for a simple set-up.
For the most up-to-date guide for your product,
as well as any additional assistance you may require,
head online to help.kogan.com

Prohibition symbol
Warning symbol
Caution symbol
































