
BJN160
BJN161
013272

INSTRUCTION MANUAL
Cordless Nibbler
IMPORTANT: Read Before Using.
SPECIFICATIONS
| Model | BJN160 | BJN161 | |
| Max. cutting capacities | Steel up to 400 N/mm2 | 1.6 mm / 16 ga | 1.6 mm / 16 ga |
| Steel up to 600 N/mm2 | 1.2 mm / 18 ga | 1.2 mm / 18 ga | |
| Aluminum up to 200 N/mm2 | 2.5 mm / 12 ga | 2.5 mm / 12 ga | |
| Min. cutting radius | Outside edge | 50 mm | 50 mm |
| Inside edge | 45 mm | 45 mm | |
| Strokes per minute (min”‘) | 1,900 | 1,900 | |
| Overall length | 313 mm | 313 mm | |
| Net weight | 2.1 kg | 2.2 kg | |
| Rated voltage | D.C. 14.4 V | D.C. 18 V | |
END004-6
- Due to our continuing program of research and development, the specifications herein are subject to change without notice.
- Specifications and battery cartridge may differ from country to country.
- Weight, with battery cartridge, according to EPTA-Procedure 01/2003
Symbols
The following show the symbols used for the equipment. Be sure that you understand their meaning before use.
![]()
- Read instruction manual.
- Only for EU countries
Do not dispose of electric equipment or battery pack together with household waste material!
In observance of the European Directives, on Waste Electric and Electronic Equipment and Batteries and Accumulators and Waste Batteries and Accumulators and their implementation in accordance with national laws, electric equipment and batteries and battery pack(s) that have reached the end of their life must be collected separately and returned to an environmentally compatible recycling facility.
Intended use
The tool is intended for cutting sheet steel and stainless sheet steel.
GEA006-2
General Power Tool Safety Warnings
WARNING Read all safety warnings and all instructions. Failure to follow the warnings and instructions may result in electric shock, fire and/or serious injury.
Save all warnings and instructions for future reference.
The term “power tool” in the warnings refers to your mains-operated (corded) power tool or battery-operated (cordless) power tool.
Work area safety
- Keep work area clean and well lit. Cluttered or dark areas invite accidents.
- Do not operate power tools in explosive atmospheres, such as in the presence of flammable liquids, gases or dust. Power tools create sparks which may ignite the dust or fumes.
- Keep children and bystanders away while operating a power tool. Distractions can cause you to lose control.
Electrical safety - Power tool plugs must match the outlet. Never modify the plug in any way. Do not use any adapter plugs with earthed (grounded) power tools. Unmodified plugs and matching outlets will reduce risk of electric shock.
- Avoid body contact with earthed or grounded surfaces such as pipes, radiators, ranges and refrigerators. There is an increased risk of electric shock if your body is earthed or grounded.
- Do not expose power tools to rain or wet conditions. Water entering a power tool will increase the risk of electric shock.
- Do not abuse the cord. Never use the cord for carrying, pulling or unplugging the power tool. Keep cord away from heat, oil, sharp edges or moving parts. Damaged or entangled cords increase the risk of electric shock.
- When operating a power tool outdoors, use an extension cord suitable for outdoor use. Use of a cord suitable for outdoor use reduces the risk of electric shock.
- If operating a power tool in a damp location is unavoidable, use a ground fault circuit interrupter (GFCI) protected supply. Use of an GFCI reduces the risk of electric shock.
Personal safety - Stay alert, watch what you are doing and use common sense when operating a power tool. Do not use a power tool while you are tired or under the influence of drugs, alcohol or medication. A moment of inattention while operating power tools may result in serious personal injury.
- Use personal protective equipment. Always wear eye protection. Protective equipment such as dust mask, non-skid safety shoes, hard hat, or hearing protection used for appropriate conditions will reduce personal injuries.
- Prevent unintentional starting. Ensure the switch is in the off-position before connecting to power source and/or battery pack, picking up or carrying the tool. Carrying power tools with your finger on the switch or energising power tools that have the switch on invites accidents.
- Remove any adjusting key or wrench before turning the power tool on. A wrench or a key left attached to a rotating part of the power tool may result in personal injury.
- Do not overreach. Keep proper footing and balance at all times. This enables better control of the power tool in unexpected situations.
- Dress properly. Do not wear loose clothing or jewellery. Keep your hair, clothing, and gloves away from moving parts. Loose clothes, jewellery or long hair can be caught in moving parts.
- If devices are provided for the connection of dust extraction and collection facilities, ensure these are connected and properly used. Use of dust collection can reduce dustrelated hazards.
Power tool use and care - Do not force the power tool. Use the correct power tool for your application. The correct power tool will do the job better and safer at the rate for which it was designed.
- Do not use the power tool if the switch does not turn it on and off. Any power tool that cannot be controlled with the switch is dangerous and must be repaired.
- Disconnect the plug from the power source and/or the battery pack from the power tool before making any adjustments, changing accessories, or storing power tools. Such preventive safety measures reduce the risk of starting the power tool accidentally.
- Store idle power tools out of the reach of children and do not allow persons unfamiliar with the power tool or these instructions to operate the power tool. Power tools are dangerous in the hands of untrained users.
- Maintain power tools. Check for misalignment or binding of moving parts, breakage of parts and any other condition that may affect the power tool’s operation. If damaged, have the power tool repaired before use. Many accidents are caused by poorly maintained power tools.
- Keep cutting tools sharp and clean. Properly maintained cutting tools with sharp cutting edges are less likely to bind and are easier to control.
- Use the power tool, accessories and tool bits etc. in accordance with these instructions, taking into account the working conditions and the work to be performed. Use of the power tool for operations different from those intended could result in a hazardous situation. Battery tool use and care
- Recharge only with the charger specified by the manufacturer. A charger that is suitable for one type of battery pack may create a risk of fire when used with another battery pack.
- Use power tools only with specifically designated battery packs. Use of any other battery packs may create a risk of injury and fire.
- When battery pack is not in use, keep it away from other metal objects, like paper clips, coins, keys, nails, screws or other small metal objects, that can make a connection from one terminal to another. Shorting the battery terminals together may cause burns or a fire.
- Under abusive conditions, liquid may be ejected from the battery; avoid contact. If contact accidentally occurs, flush with water. If liquid contacts eyes, additionally seek medical help. Liquid ejected from the battery may cause irritation or burns.
Service - Have your power tool serviced by a qualified repair person using only identical replacement parts. This will ensure that the safety of the power tool is maintained.
- Follow instruction for lubricating and changing accessories.
- Keep handles dry, clean and free from oil and grease.
GEB028-2
NIBBLER SAFETY WARNINGS
- Hold the tool firmly.
- Secure the workpiece firmly.
- Keep hands away from moving parts.
- Edges and chips of the workpiece are sharp. Wear gloves. It is also recommended that you put on thickly bottomed shoes to prevent injury.
- Do not put the tool on the chips of the workpiece. Otherwise it can cause damage and trouble on the tool.
- Do not leave the tool running. Operate the tool only when hand-held.
- Always be sure you have a firm footing. Be sure no one is below when using the tool in high locations.
- Do not touch the punch, die or the workpiece immediately after operation; they may be extremely hot and could burn your skin.
- Avoid cutting electrical wires. It can cause serious accident by electric shock.
SAVE THESE INSTRUCTIONS.
WARNING:
DO NOT let comfort or familiarity with product (gained from repeated use) replace strict adherence to safety rules for the subject product. MISUSE or failure to follow the safety rules stated in this instruction manual may cause serious personal injury.
ENC007-8
IMPORTANT SAFETY INSTRUCTIONS
FOR BATTERY CARTRIDGE
- Before using battery cartridge, read all instructions and cautionary markings on (1) battery charger, (2) battery, and (3) product using battery.
- Do not disassemble battery cartridge.
- If operating time has become excessively shorter, stop operating immediately. It may result in a risk of overheating, possible burns and even an explosion.
- If electrolyte gets into your eyes, rinse them out with clear water and seek medical attention right away. It may result in loss of your eyesight.
- Do not short the battery cartridge: (1) Do not touch the terminals with any conductive material. (2) Avoid storing battery cartridge in a container with other metal objects such as nails, coins, etc. (3) Do not expose battery cartridge to water or rain. A battery short can cause a large current flow, overheating, possible burns, and even a breakdown.
- Do not store the tool and battery cartridge in locations where the temperature may reach or exceed 50 C (122 F).
- Do not incinerate the battery cartridge even if it is severely damaged or is completely worn out. The battery cartridge can explode in a fire.
- Be careful not to drop or strike battery.
- Do not use a damaged battery.
- Follow your local regulations relating to disposal of battery.
SAVE THESE INSTRUCTIONS.
Tips for maintaining maximum battery life
- Charge the battery cartridge before completely discharged. Always stop tool operation and charge the battery cartridge when you notice less tool power.
- Never recharge a fully charged battery cartridge. Overcharging shortens the battery service life.
- Charge the battery cartridge with room temperature at 10 C – 40 C (50 F – 104 F). Let a hot battery cartridge cool down before charging it.
- Charge the battery cartridge once in every six months if you do not use it for a long period of time.
FUNCTIONAL DESCRIPTION
CAUTION:
- Always be sure that the tool is switched off and the battery cartridge is removed before adjusting or checking function on the tool.
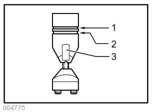
Installing or removing battery cartridge
1. Button
2. Red indicator
3. Battery cartridge
CAUTION:
- Always switch off the tool before installing or removing of the battery cartridge.
- Hold the tool and the battery cartridge firmly when installing or removing battery cartridge.
Failure to hold the tool and the battery cartridge firmly may cause them to slip off your hands and result in damage to the tool and battery cartridge and a personal injury. To remove the battery cartridge, slide it from the tool while sliding the button on the front of the cartridge. To install the battery cartridge, align the tongue on the battery cartridge with the groove in the housing and slip it into place. Insert it all the way until it locks in place with a little click. If you can see the red indicator on the upper side of the button, it is not locked completely.
CAUTION:
- Always install the battery cartridge fully until the red indicator cannot be seen. If not, it may accidentally fall out of the tool, causing injury to you or someone around you.
- Do not install the battery cartridge forcibly. If the cartridge does not slide in easily, it is not being inserted correctly.
Battery protection system
The tool is equipped with a battery protection system. This system automatically cuts off power to the motor to extend battery life. The tool will automatically stop during operation if the tool and/or battery are placed under one of the following conditions:
- Overloaded:
The tool is operated in a manner that causes it to draw an abnormally high current. In this situation, turn the tool off and stop the application that caused the tool to become overloaded. Then turn the tool on to restart. If the tool does not start, the battery is overheated. In this situation, let the battery cool before turning the tool on again. - Low battery voltage:
The remaining battery capacity is too low and the tool will not operate. In this situation, remove and recharge the battery.
NOTE: The overheat protection works only with a battery cartridge with a star mark.
1. Star marking
Changing the die position
| 1. Die holder 2. Lock nut | 3. Loosen 4. Wrench |
The die holder position can be changed 360°. To change it, proceed as follows.
- Loosen the lock nut with the wrench provided.
- Pull the die holder slightly and turn it to the desired position for operation.
- Tighten the lock nut to secure the die holder in the desired position.
There are four positive stops at 90° each: 0°, 90° left and right and 180°. To position the die to any of these positive stops: - Loosen the lock nut with the wrench provided.
- Pull the die holder slightly and depress lightly while turning it to the desired position. The die holder will lock into one of the positive stop positions as desired.
- Turn the die holder slightly to make sure that it is positively locked into position.
- Tighten the lock nut to secure the die holder.
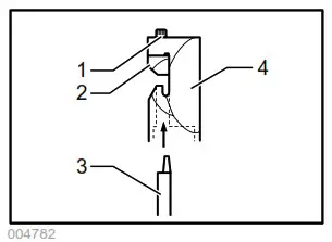
Permissible cutting thickness
1. Gauge for cutting stainless: 1.2 mm (3/64″)
2. Gauge for cutting mild steel: 1.6 mm (1/16″)
3. Notch
The thickness of material to be cut depends upon the tensile strength of the material itself. The groove on the die holder acts as a thickness gauge for allowable cutting thickness. Do not attempt to cut any material which will not fit into this groove.
Cutting line
The notch in the die holder indicates your cutting line. Its width is equal to the cutting width. Align the notch to the cutting line on the workpiece when cutting.
Switch action
1. Slide switch
CAUTION:
- Before inserting the battery cartridge into the tool, always check to see that the slide switch actuates properly and returns to the “OFF” position when the rear of the slide switch is depressed.
- Switch can be locked in “ON” position for ease of operator comfort during extended use. Apply caution when locking tool in “ON” position and maintain firm grasp on tool.
To start the tool, slide the slide switch toward the “I (ON)” position. For continuous operation, press the front of the slide switch to lock it. To stop the tool, press the rear of the slide switch, then slide it toward the “O (OFF)” position.
Indication lamp with multi function
1. Indicating lamp
Indication lamps are located in two positions.
- Battery cartridge replacing signal
- When the battery power is almost used up during operation, the red lamp lights up and the tool stops immediately. Replace the battery with fully charged one when the red lamp lights up.
- Accidental re-start preventive function
- Even if the battery cartridge is inserted on the tool with the slide switch in the “I (ON)” position, the tool does not start. At this time, the lamp flickers slowly and this shows that the accidental re-start preventive function is at work. – To start the tool, first slide the slide switch toward the “O (OFF)” position and then slide it toward the “I (ON)” position.
ASSEMBLY
CAUTION:
- Always be sure that the tool is switched off and the battery cartridge is removed before carrying out any work on the tool.
Removing or installing the punch and die
| 1. Die holder 2. Die | 3. Bolts 4. Hex wrench |
Always replace the punch and die as a set. To remove the punch and die, loosen the lock nut with the wrench. Remove the die holder from the tool. Use the hex wrench to loosen the bolts which secure the die. Remove the die from the die holder. Use the hex wrench to loosen the screw which secures the punch. Pull the punch out of the punch holder.

| 1. Punch 2. Punch holder 3. Screw | 4. Hex wrench 5. Loosen 6. Tighten |
To install the punch and die, insert the punch into the punch holder so that the notch in the punch faces toward the screw. Tighten the screw to secure the punch. Install the die on the die holder. Tighten the bolts to secure the die.
1. Punch
2. Notch
Then install the die holder on the tool so that the punch is inserted through the hole in the die holder. Tighten the lock nut to secure the die holder. After replacing the punch and die, lubricate them with machine oil and run the tool for a while.

| 1. Bolts 2. Die | 3. Punch 4. Die holder |
OPERATION
Pre-lubrication
Coat the cutting line with machine oil to increase the punch and die service life. This is particularly important when cutting aluminum.
Cutting method
Hold the tool so that the cutting head is at a right angle (90°) to the workpiece being cut. Move the tool gently in the cutting direction.
Cutouts
Cutouts can be done by first opening a round hole over 21 mm in diameter which the cutting head can be inserted into.
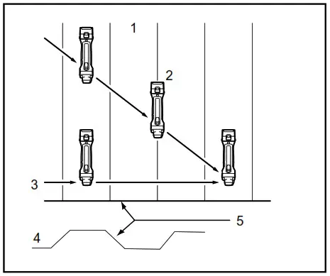
Cutting the corrugated or trapezoidal sheet metals
| 1. From the top view 2. Cutting at an angle to grooves 3. Cutting perpendicular to grooves | 4. From the side view 5. Corrugated or trapezoidal sheet metal |
Set the die position so that the die faces the cutting direction either when cutting at an angle or perpendicular go grooves in corrugated or trapezoidal sheet metals.
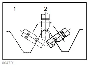
1. From the side view
2. Cutting head should be at a right angle (90 ) to cutting surface.
Always hold the tool body parallel to the grooves with the cutting head at a right angle (90°) to the cutting surface as shown in the figure.
MAINTENANCE
CAUTION:
- Always be sure that the tool is switched off and the battery cartridge is removed before attempting to perform inspection or maintenance.
- Never use gasoline, benzine, thinner, alcohol or the like. Discoloration, deformation or cracks may result.
Replacing carbon brushes
1. Limit mark
Remove and check the carbon brushes regularly. Replace when they wear down to the limit mark. Keep the carbon brushes clean and free to slip in the holders. Both carbon brushes should be replaced at the same time. Use only identical carbon brushes. Insert the top end of slotted bit screwdriver into the notch in the tool and remove the holder cap cover by lifting it up.
1. Holder cap cover
2. Notch
3. Screwdriver
Use a screwdriver to remove the brush holder caps. Take out the worn carbon brushes, insert the new ones and secure the brush holder caps.
1. Brush holder cap
2. Screwdriver
Reinstall the holder cap cover on the tool. To maintain product SAFETY and RELIABILITY, repairs, any other maintenance or adjustment should be performed by Makita Authorized Service Centers, always using Makita replacement parts.
OPTIONAL ACCESSORIES
CAUTION:
- These accessories or attachments are recommended for use with your Makita tool specified in this manual. The use of any other accessories or attachments might present a risk of injury to persons. Only use accessory or attachment for its stated purpose.
If you need any assistance for more details regarding these accessories, ask your local Makita Service Center.
- Die
- Punch
- Hex wrench
- Wrench 32
- Makita genuine battery and charger
NOTE:
- Some items in the list may be included in the tool package as standard accessories. They may differ from country to country.
885174A6
Makita Corporation
www.ma12kita.com
1. Button
1. Gauge for cutting stainless: 1.2 mm (3/64″)
1. Slide switch

















