avenli RF-21-CZ3 Sirocco Blue Round Steel Frame User Manual
The product user manual contains the product functions, instructions for use and operating procedure. Read the user manual carefully to get the best experience andavoid unnecessary damage. Keep this manual for future reference. If you have any questions or comments about the equipment, please contact the customer service line.
✉ www.alza.co.uk/kontakt
✆ +44 (0)203 514 4411
Importer Alza.cz a.s. , Jankovcova 1522/53, Holešovice, 170 00 Prague 7, www.alza.cz
Safety instructions
Please read, understand and follow all information in this manual carefully before installing and using the pool. These warnings, instructions and safety guidelines cover the general hazards of water recreation, but cannot cover all risks and hazards in all cases. Always use caution, common sense and good judgment in all water play. Keep this manual for future reference.
Safety of non-swimmers
- Constant, active and attentive supervision of weak swimmers and non-swimmers by a competent person is essential (remember that children under five are at the greatest risk of drowning).
- Designate a competent adult to supervise each use.
- Weak swimmers and non-swimmers must use the pool with personal protective equipment.
- When the pool is not in use or supervised, remove toys that could attract children’s attention from the pool and its surroundings.
Security Means - We recommend installing a barrier (and possibly securing all doors and windows) to prevent uncontrolled access to the pool.
- Barriers, pool tarps, pool alarms or similar safety measures are useful, but are no substitute for constant supervision by a competent adult.
Safety equipment
- It is recommended to keep life-saving equipment (e.g. a life ring) by the pool.
- Keep a phone and list of phone numbers handy at the pool in case of an emergency
Safe use of the pool
- Encourage all users, especially children, to learn to swim.
- Learn first aid (cardiopulmonary resuscitation – CPR) and repeat this knowledge regularly. In an emergency, it can mean the difference between life and death.
- Instruct all pool users, especially children, on what to do in an emergency.
- Under no circumstances dive in shallow water. It can lead to injury or death.
- Do not use the pool if you are under the influence of alcohol or drugs that may prevent you from using the pool safely.
- When pool tarps are used, always remove them completely from the water surface before entering the pool.
- Treat the water properly and maintain good hygiene to protect pool users from waterborne diseases. Instructions for water treatment are given in the instructions for use.
- Keep chemical products (e.g. for water treatment, cleaning or disinfection) out of the reach of children.
- Use the markings as shown below.
- Removable ladders must be placed on a horizontal surface.
WARNING: A drained outdoor pool may present unknown hazards.
WARNING: Installation and assembly must be carried out by adults.
WARNING: Read and follow the instructions for use and maintenance to ensure safe use of the pool. Failure to follow the use and maintenance instructions may result in serious health hazards, especially to children.
WARNING: For home outdoor use only.
WARNING: Danger of drowning. Children can drown in very small amounts of water.
WARNING: Drain the pool when not in use. Do not leave an empty pool outside.
WARNING: Children must be supervised at all times in and around water.
WARNING: Diving is prohibited.
This safety symbol must be placed in a clearly visible position at a distance of 2 m from the pool. Alternatively, you can purchase a vinyl-based adhesive (not included) and stick the symbol to the pool wall next to the pool entrance and exit to ensure it is highly visible to all users entering the pool.
Overview of components

Before assembling the pool, sort and inspect all contents and familiarize yourself with all the parts you will use during assembly:
NOTE: The picture is for reference only. Actual product may vary. Not to scale.
| Model | Size | Volume of water | Pump | Ladder |
| 12015XX | Ф10′ x 30″ (Ф3 .05m x 76 cm) | 1235Gal(4672L) | √ | × |
| 12015 | Ф10′ x 30″ (Ф3 .05m x 76 cm) | 1158Gal(4383L) | × | × |
| Ф10’x30″ (Ф3 .05m x 76 cm) | |||
| N. | NAME | QUANTITY | PRODUCT NUMBER |
| 1 | Horizontal support | 10 | 393344 |
| 2 | PVC plug | 20 | 393347 |
| 3 | T-piece fastener | 10 | 393346 |
| 4 | Vertical rack | 10 | 393346 |
| 5 | Vertical rack cap | 10 | 393345 |
| 6 | Drain valve cover | 1 | 290366 |
| 7 | Stopper | 2 | 290311 |
| 8 | Drain valve connector | 1 | 290364 |
| 9 | Swimming pool foil | 1 | 393349 |

NOTE: The picture is for reference only. Actual product may vary. Not to scale.
| Model | Size | Volume of water | Pump | Ladder |
| 12016XX | Ф12′ x 30″ (Ф3.66 m x 76 cm) | 1786Gal(6765L) | √ | × |
| 12016 | Ф12′ x 30″ (Ф3.66 m x 76 cm) | 1786Gal(6765L) | × | × |
| Ф12′ x 30″ (Ф3.66 m x 76 cm) | |||
| N. | NAME | QUANTITY | PRODUCT NUMBER |
| 1 | Horizontal support | 12 | 393344 |
| 2 | PVC plug | 12 | 393347 |
| 3 | T-piece fastener | 12 | 393350 |
| 4 | Vertical rack | 12 | 393345 |
| 5 | Vertical rack cap | 12 | 393348 |
| 6 | Drain valve cover | 1 | 290366 |
| 7 | Stopper | 2 | 290311 |
| 8 | Drain valve connector | 1 | 290364 |
| 9 | Pool foil | 1 | 393351 |

NOTE: The picture is for reference only. Actual product may vary. Not to scale.
| Model | Size | Volume of water | Pump | Ladder |
| 12023XX | Ф15′ x 33″ (Ф4.57 m x 84 cm) | 3275Gal(12400L) | √ | × |
| 12023 | Ф15′ x 33″ (Ф4.57 m x 84 cm) | 3275Gal(12400L) | × | × |
| 12022XX | Ф14′ x 33″ (Ф4.27 m x 84 cm) | 2859Gal(10825L) | √ | × |
| 12022 | Ф14′ x 33″ (Ф4.27 m x 84 cm) | 2859Gal(10825L) | × | × |
XX: DE/EU/GB/FR/IL/CH/BR
| Ф15′ x 33″ (Ф4.57 m x 84 cm) | Ф14′ x 33″ (Ф4.27 m x 84 cm) | ||||
| N. | NAME | QUANTITY | PRODUCT NUMBER | QUANTITY | PRODUCT NUMBER |
| 1 | Horizontal support | 14 | 393352 | 14 | 393380 |
| 2 | PVC plug | 28 | 393347 | 28 | 393347 |
| 3 | T-piece fastener | 14 | 393353 | 14 | 393353 |
| 4 | Vertical rack | 14 | 393354 | 14 | 393354 |
| 5 | Vertical rack cap | 14 | 393348 | 14 | 393348 |
| 6 | Drain valve cover | 1 | 290366 | 1 | 290366 |
| 7 | Stopper | 2 | 290311 | 2 | 290311 |
| 8 | Drain valve connector | 1 | 290364 | 1 | 290364 |
| 9 | Swimming pool foil | 1 | 393379 | 1 | 393381 |
Site selection
WARNING: Pools installed on uneven surfaces may leak, warp or collapse, resulting in property damage or serious injury to persons in or near the pool!
WARNING: Do not use sand during installation. If you find that it is necessary to use “levelling material”, the chosen installation site is probably unsuitable. FAILURE TO OBSERVE THIS WARNING MAY CAUSE SERIOUS INJURY.
WARNING: Use caution when selecting the installation site, as the lawn and other desirable vegetation will die under the (possible) ground sheet. In addition, do not place the pool in areas where aggressive plants and weed species are present, as these plants may grow through the (possible) liner.
NOTE: A 110/230 VAC electrical outlet protected by a ground fault circuit interrupter (GFCI) must be provided near the pool. The pool must be located at least 2 feet from the power source but within the length of the filter pump cable. Under no circumstances shall the connection be extended with an extension cord.
It is absolutely essential to choose a suitable location BEFORE filling the pool with water. Select a location that fully meets the following conditions:
Principle 1. The surface must be firm, flat (no lumps or humps) and completely level and its slope must not exceed 3° at any point.
Principle 2. No branches, rocks, sharp objects or other debris shall be allowed in the location chosen for the pool installation.
Principle 3. Select a location that is not directly under overhead power lines or trees. In addition, there must be no underground water pipes, conduits or cables of any kind at the pool installation site.
Principle 4. If the pool was supplied with a liner, we strongly recommend using one. Theliner helps protect the pool liner from damage from growing weeds, sharp objects and debris.
Principle 5. If this is not entirely possible, select an open area on the property exposed to direct sunlight. Sunlight will contribute to heating the pool.
CORRECT AND INCORRECT SURFACE


Pool Installation
IMPORTANT: If any parts are missing, do not start assembly. If you need replacement parts, call your local customer service number. Number of persons required for assembly: at least 2 adults.
- Total length of installation excluding time required for site preparation and water filling:
- 30 minutes for size F10’×30″/F12’×30″
- 45 minutes for size Ф14’x33″
CHECKING THE COMPLETENESS OF DELIVERY
Remove all components from the box(es) and place them on the ground at the mounting location. Check each component according to the “COMPONENT REFERENCE”. Check that all necessary components are present.
INSTALLATION OF THE DRAIN VALVE COVER AND PLUG
Check that the outer drain plug is inserted into the outer drain cap and that the drain valve cover is screwed on and tightened securely. Fit the plugs to theconnecting holes. (Drain plugs vary depending on pool size)

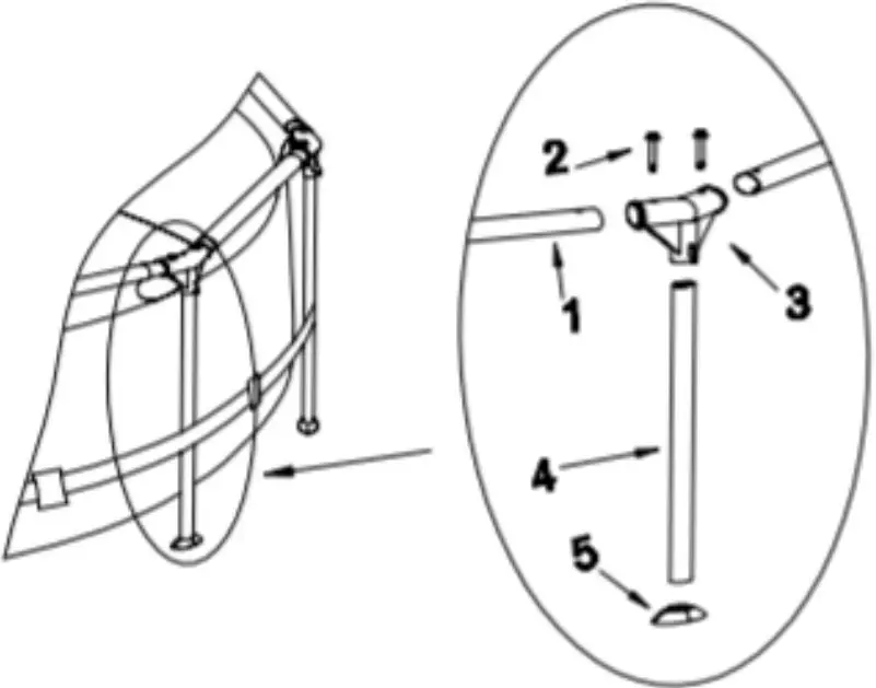
INSTALLATION OF THE HORIZONTAL SUPPORT

INSTALLATION OF THE T-JOINT (FOR TYPE B)

- Connect the connecting end of the T-joint to the downstream horizontal pipes.
- Insert the pin firmly into the hole of the connected horizontal pipe and T-joint.
- Place the cap on the upright.
- Insert the vertical rack into the T-joint through the belt.
TIP: If you can’t find the hole on a horizontal pipe or vertical standpipe, rotate the pipes until the pin meets the hole.
Filling the pool

WARNING: Do not leave the pool unattended during filling.
WARNING: If more than 2.5 – 5 cm of water collects on either side before filling the middle section. The pool is not placed on a level place! Remove the drain plug, drain all water, completely disassemble the pool, move the pool to a flat surface and reassemble.
WARNING: Do not fill the pool with excessive water as it may collapse. During periods of heavy rain, it is likely that some water will be drawn off to maintain the correct water level in the pool.
- Check that the drain hole is properly plugged and that the cap is on. Start filling the pool with water. When there is approximately 2.5 cm of water in the bottom, stop filling and smooth out the bends in the bottom of the pool. Around the perimeter of the pool, pull the outer wall up past the top edge so that the pool fills evenly.
- Continue filling the pool to the desired level.
Winterisation and long-term storage
WARNING: During draining, prevent children from standing under the pool facing the drain hole. The water flow could hit children.
WARNING: The pool should be stored in a cool, dry place with no sharp objects in the immediate area. To prevent damage, no heavy objects should be placed on the stored pool
Step 1. If you are using a filter pump, make sure the power supply to the filter pump is disconnected.
Step 2. Check that the drain plug is firmly seated on the side of the pool.
Step 3: Connect the Garden Hose to the Drain Valve Connector and place the other end of the hose in a place where water can flow freely, such as a rainwater collector or street drain. Remember that water always flows from top to bottom; to drain the pool completely, the end of the hose must be lower than the pool.
Step 4. If you have a filter pump, insert the plug into the inlet and outlet holes inside the pool and then disconnect the filter pump hoses.
Step 5. Rotate clockwise to connect the drain valve connector to the drain port.
Step 6. Remove the drain plug inside the pool; the water will start flowing out immediately.
Step 7. When finished, disconnect the hose and drain valve connector.
Step 8. Place the drain plug on the inside of the pool.
Step 9: Allow the pool liner to dry completely before folding the pool for long-term storage. Leaving the pool exposed to sunlight for a few hours will speed up drying and make it easier to fold the pool for storage. (As a general rule, do not attempt to fold or pack a pool that is not completely dry; it could cause the pool to mildew during storage).
Step 10. Remember – proper off-season storage is essential to protect your pool investment. (Especially in winter) After draining and drying out, the pool should be carefully folded and wrapped in a liner (if available) or other similar protective material. The pool and all accessories such as the pump, cover, liner, ladder, hoses, clamps and equipment must be stored indoors in a sufficiently warm and dry place protected from the weather.
Packing instructions
Before packing up, it is advisable to let all components and the pool lay out to dry completely in the sun for approximately one hour. (FIG. 1) Then apply a small amount of powdered talc to prevent the vinyl from sticking together.
Step 1. Fold the protruding sides inwards to form a rectangle. (FIG. 2)
Step 2. Fold the two halves of the rectangle to make a smaller rectangle. (FIG. 3)
Step 3. Fold both ends back. (FIG. 4)
Step 4. Fold the remaining ends together to form the final rectangle. (FIG. 5)
Winterisation and long-term storage

Pool and water maintenance during the season
WARNING: The filter pump that may be supplied with the pool is designed to remove dirt and other small particles in the pool water. In order to keep the pool water completely clear, free of algae and harmful bacteria, it is very important to perform consistent chemical treatment of the water. Ask your local pool supply dealer for advice on the safe and effective use of chlorine, shock solution, algae chemicals, etc.
WARNING: To avoid eye irritation or even injury to bathers, as a rule do not apply chemicals to the pool when it is occupied. As a general rule, do not apply chemicals or substances to the pool unless you are able to determine the exact amount or type to be applied to the water. Contact your pool accessory dealer for specific instructions and policies on the use of pool chemicals.
WARNING: We strongly recommend that pool owners regularly test their pool water and maintain optimal pH and chlorine levels for safe and enjoyable swimming throughout the season. Contact your pool accessory dealer for the appropriate test kit and instructions for its use.
WARNING: Failure to observe the maintenance instructions can cause serious health hazards, especially to children.
This product is a storable seasonal pool. If the pool will not be used year-round in your area, it is HIGHLY RECOMMENDED that you drain the pool, clean and dry it thoroughly and store it in a protected area after the season is over. This will prolong the life of the pool and prevent potential hazards when the pool is not in use. During the season of use of the pool assembly, the filtration system (if available) should be turned on daily and left running long enough to filter the entire volume of the pool.
- It is essential to properly and consistently use basic pool chemicals to maintain the pr per pH balance of the pool points. Using chemicals also prevents thegrowth of harmful bacteria or algae in the pool and helps the filter pump keep the water crystal clear. The chemicals necessary for pool maintenance include, but are not limited to: a) Chlorine in tablets, granules or liquid form: disinfects pool water and reduces algae growth. b) Chemical PH adjusters: used to maintain the correct PH value and increase or decrease the acidity of the water. c) Anti-algae products: these chemicals are used to kill algae. d) “Shocking solution” (super chlorine): eliminates certain organic compounds or other combinations that limit water clarityFor detailed instructions on how to use the chemicals, contact your local pool dealer and provide them with information on the volume of water in your pool and a water sample if necessary. Based on this information, he or she will be able to give you informed advice on which chemicals to purchase, the quantities of chemicals to purchase and how to use each chemical safely and effectively.
- Avoid direct contact of insufficiently dissolved chlorine with the pool surface. Chlorine in granular or tablet form must first be dissolved in a bucket of water; the dissolved chlorine should then be poured slowly and evenly into the pool water from various points around the perimeter of the pool.
DANGER: Do not pour water into chemical agents. Instead, always add chemicals to the water. A lso, as a rule, do not mix individual chemicals together; instead,apply chemicalsto the pool separately and allow them to disperse throughout the pool before adding another type of chemical. - We recommend purchasing a test kit and regularly checking the optimal PH and chlorine levels in your pool water. Contact your local pool accessories dealer for advice on purchasing and using the most appropriate test kit.
NOTE: Excessive chlorine or low (acidic) pH can damage the pool surface; if this is found during testing, take appropriate action as soon as possible. To make it easier to remove large amounts of dirt from the pool and keep the inside of the pool clean, a Prompt-Set pool maintenance kit is available which includes a scoop and vacuum cleaner for connection to a garden hose. Maintenance kits are provided as a bonus with larger pools and can also be purchased separately as accessories. If you need advice on repairs during the lifetime of your pool, contact your local after-sales service centre. - Every two weeks (or more frequently at intervals of intensive operation) check whether the cartridge of any filter pump needs to be cleaned or replaced. If the cartridge is no longer white, try showering it with a strong stream of water from a garden hose. If the cartridge cannot be cleaned in this way, it must be replaced. Failure to clean and/or replace your cartridge regularly will reduce the efficiency of your filter pump and could shorten its life.
- If your pool comes with a cover, always cover the pool with the cover when you are not using it. This will prevent wind or other natural forces from bringing debris into the pool and also prevent the pool from overflowing with rainwater.
- Always remind your family members and friends to wash or rinse any dirt or sunscreen off their hands, feet and body before entering the pool.
- It is essential to monitor the condition of the screws and pool equipment (e.g. corrosion stains).
- After filling the pool for the season, be careful when the pool overflows with rainwater or accidental overfilling. In this case, the excess water should be drained or bucketed out as soon as possible. If the pool has an inflatable ring, the water level must never exceed the lower edge of the ring.
- Regardless of the pool’s construction materials, it is essential to regularly inspect accessible surfaces to prevent injury.
Troubleshooting
Patch instructions (Small holes and minor leak damage can be repaired with the included patch)
A. Find the point of escape.
B. Blow the air out.
C. Clean the area around the leak and wipe off any water from the surface.
D. Remove the patch, cut it to the desired shape and size – it should be larger than the leak area, apply the patch to the leak area and press firmly.
E. Wait 30 minutes until the repaired area is free to air dry. If the damage is too extensive, we recommend using silicone or rubber-based adhesive to repair it.
Patch instructions
- Find the leak.
- Blow out (if necessary) the product and drain it completely.
- Clean the area around the leak and wipe off any water from the surface.
- Thoroughly clean the area around the leak. Cut a piece of the patch into a circular shape that should be larger than the damaged area.
- Glue (glue must be purchased separately) one side of the patch to the area to be repaired. The glue should be applied evenly to the patch.
PROBLEM
The inflated pool is not circular Coloured water Particles suspended in water Permanently low water level Algae The water in the pool is cold.
DESCRIPTION
The pool has an oval, rectangular or ovoid shape. The pool is probably positioned diagonally to one side or the water depth in the pool is not uniform. After the first chlorine treatment, the waterturns blue, brown or black. The water has a “milky” or cloudy colour. The water has a “milky” or cloudy colour.
CAUSE
The wrinkles in the bottom material were not sufficiently smoothed out before filling. The side walls were not properly ‘pushed out’ during the filling process, causing the perimeter of the top ring to be outside the perimeter of the side walls of the pool. The pool is located on an uneven or sloping surface. Chlorine is oxidised with minerals in the water. This phenomenon usually occurs when water from different sources is combined. The “hard water” caused the pH level to rise. Insufficient chlorination. Foreign contamination in the water. Bathers not cleaning their feet before entering the pool.A crack or hole in the pool material. A crack or hole in the filter pump hose. Hose clamps too loose. Evaporation in high summer temperatures.
ADJUSTMENT
Drain the water to a depth of 2.5 cm and smooth out as many wrinkles as possible. Drain the water to a depth of 2,5 cm and then push the side walls out so that they are outside the circumference of the upper ring. Check that the surface of the pool point is sufficiently flat, level and free of terrain irregularities. Adjust to the recommended pH value. Allow the filter to run until the water is clear. Clean the cartridge regularly Adjust the pH value. Checkwith your pool accessory dealer for the correct water treatment procedure. Check that the chlorine level is correct. Clean or replace the filter. Remove debris with a highpressure hose before entering.
Warranty conditions
A new product purchased from Alza.cz is covered by a 2-year warranty. In case of need for repair or other service within the warranty period, please contact the seller of the product directly, it is necessary to present the original proof of purchase with the date of purchase.
The following shall be deemed to be a breach of warranty for which the claimcannot be accepted:
- Using the product for a purpose other than that for which the product is intended or failing to follow the instructions for maintenance, operation and servicing of the product.
- Damage to the product due to natural disaster, unauthorized person or mechanical fault of the buyer (e.g. during transportation, cleaning by improper means, etc.).
- natural wear and aging of consumables or components during use (e.g. batteries, etc.).
- The action of adverse external influences such as solar and other radiation or electromagnetic fields, liquid ingress, object ingress, mains surges, electrostatic discharge (including lightning), faulty supply or input voltage and the improper polarity of this voltage, chemical processes, e.g. used power supplies, etc.
- If anyone has made alterations, modifications, design changes or adaptations to change or extend the product’s functions from the design purchased or use nonoriginal parts.



















