AIRSTREAM 100
Operating instructions
(Translation of the Original User Manual)
We congratulate you on your purchase of an AIRSTREAM 100.
You have chosen a first-class blower.
It was developed and produced in accordance with the latest state-of-the-art technology in the plastics-processing industry. It has also been manufactured using high-quality materials.
Please always store these operating instructions with the device.
AIRSTREAM 100 blower
Read through the operating instructions before using for the first time.You can find the operating instructions in your language at www.leister.link/UM-DLP-Airstream-100 or via the following QR code:
https://www.leister.link/UM-DLP-Airstream-100
Important safety instructions
Warning
There is a danger to life from electric shock due to electrical voltage.
The device must therefore only be connected to sockets and extension cables with a protective earth conductor.
- Keep the device away from moisture and wet conditions.
- When used on a construction site, a residual current circuit breaker is mandatory.
- Prior to commissioning, check the power cord, the plug, and the extension cable for electrical and mechanical damage.
- The appliance may only be opened when the mains plug has been removed from the socket.
Risk of fire and explosion caused by improper use of the blower (e.g., material overheating), and particularly in the vicinity of flammable materials and explosive gases.
Caution
The local supply voltage must match the nominal voltage specified on the device. If the supply voltage fails, the main switch and the drive must be switched off.
The device should only be operated by trained specialists or under their supervision. Children are not permitted to operate the device.
Application
2.1. Intended use
The AIRSTREAM 100 blower is designed for professional applications to supply air to air-powered LEISTER tools such as DIODES, WELDING PENS, PENWELDS and LABORS. Use only original Leister spare parts and accessories; otherwise, any warranty or guarantee claims will be invalidated.

2.2 Non-intended use
Any other use or any use beyond the type of use described is deemed non-intended use.
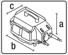
Technical data
AIRSTREAM 100
Power Frequency | V~ | 230 |
| W | 72 (3680) | |
| Hz | 50 | |
| l/min. | 80 | |
| kPa | 15 | |
| °C | -10 – +40 | |
| LpA (dB) | 66 | |
| kg | 6.7 | |
| a) mm inches | 226 8.9 | |
| b) mm inches | 440 17.3 | |
| c) mm inches | 228 9.0 |
![]()
Subject to change without prior notice.
Dimension [mm]


Transport
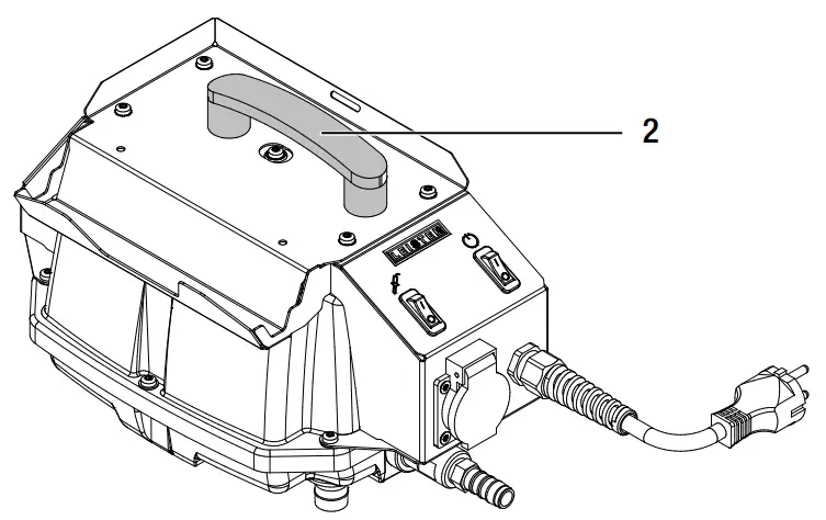
Only use the carrying handle (2) to lift and transport the blower by hand.
Never use the carrying handle (2) on the blower for transporting with a crane.

Your AIRSTREAM 100
6.1. Type plate and identification
The model and serial number are indicated on your device’s type plate (13).
Please transfer this information to your instruction manual. In the event of any inquiries to our representatives or authorized Leister Service Centers, please always refer to this information.
Model:……………………………………………………………………….
Serial no.: …………………………..
Example:
![]()
6.2. Scope of delivery (Standard equipment)
- 1 x AIRSTREAM 100 device
- 1 x hose connection kit (1 hose (150 mm) and 2 hose clamps)
- 1 x original operating manual (DE and EN)
6.3. Overview of device parts

- Mains connection cable
- carrying handle
- housing
- housing cover
- air inlet filter cover
- toggle switch
(switching on/off blower) - toggle switch
(switching on/off hand tool) - socket
- hose connection
- device storage
- fastening option Velcro strip
- fastening option brass brush
- type plate with type designation and series marking
AIRSTREAM 100 commissioning
7.1. Work environment and safety
The blower must be set up in such a way that sufficient cold air can be sucked in around the air intake filter cover (5). This area must not be covered.- Never use the blower in explosive or readily inflammable surroundings and maintain sufficient distance from combustible materials or explosive gases at all times!
The device must only be used on a horizontal and fireproof surface. The substrate should be made of material that is sufficiently stable to support the weight of the appliance and to block off the vibrations of the appliance. To avoid falling (by vibration or pulling on the hose/cable), do not position the device in an elevated position or in an overhead position with respect to the user or other employees.- In addition, comply with national statutory requirements regarding occupational safety (securing safety of personnel or devices)!
- Please do not hesitate to contact the manufacturer if anything is unclear during installation or operation.
Power cord and extension cable
The nominal voltage specified on the device (see Technical data) must match the mains voltage.- The power cord (1) must be able to move freely and must not hinder the user or third parties during work (trip hazard).
- The extension cables must be authorized for the utilization site (such as, outdoors) and be marked accordingly. Take the necessary minimum cross-section for extension cables into account as required (depending on the required length and current load).
On-site generators for power supply When using on-site generators as a power supply, please ensure that the on-site generators are grounded and equipped with residual-current circuit breakers.
For the nominal output of the generators, the formula “1 x nominal output of the hot air welding device” applies.
7.2. Operating readiness
Always place the device horizontally on the four rubber feet to prevent the device from moving/ falling.- Make sure that you place the appliance in a well-ventilated place. To reduce the heating of the device, a location without direct sunlight is also recommended. The compressed air produced is also used to cool the pump. If the pump is operated in an excessively warm environment for an extended period of time, the temperature protection of the pump can respond. Then the pump switches off. Caution: Due to the air shortage, the connected, externally operated hot-air welder can get very hot. Following a cooling period of several minutes, the pump will then restart.
- Air throttling is not permitted. Hose constrictions/crimping (at the air outlet of the AIRSTREAM 100) must also be avoided.
7.3. Switching on the blower
- Connect the hot-air welder with the appropriate hose and hose clamps to the hose connection (9) (the hose must be fastened with hose clamps).

- Once you have prepared the working area and the blower in accordance with the description, connect the blower’s power cord (1) to the mains voltage.
- Now plug the mains cable of the handheld device into the socket (8).

- Switch the blower on using the toggle switch
(6). The toggle switch (6) serves as the main switch
for the AIRSTREAM 100. In this switched on state, the AIRSTREAM 100 blower starts up automatically. - The socket (8) is not supplied with power until both toggle switches (6 and 7) are switched on. Now also switch on the toggle switch
(7).
- Before adjusting the temperature on the connected hot air device, make sure that there is enough air escaping.
7.4. Switching off the blower
- First switch off the toggle switch
(7). The blower continues to run until either the toggle switch
(6) is switched off or the power cord (1) is disconnected. As a result of the fact that the blower continues to run separately after the toggle switch
(7) has been switched off, a lag in the air supply is generated and, as a result, the heating element of the connected hand tool cools down. This is recommended to extend the life of the heating element.
- We recommend a lag time of approx. 5 minutes.
- Now switch off the toggle switch
(6). - After the blower has been switched off, disconnect the power cord (1) from the mains.
Assembly
8.1. Hose connection
Caution–risk of burning: The parts in the area of the air connection can get very hot during longer operation and in particular at increased ambient temperature. In this case, touch the parts with caution.
Use one of the following two variants for the air supply of your externally operated hot-air welder on your AIRSTREAM 100:
- Standard with hose connection fitted (9).
Insert the free end of the air hose over the hose connection (9). Then it is imperative to install the supplied hose clamp (14).
- Plug connector coupling (available as accessory):
Remove the standard hose connection (9) and fit the plug connector (15) on the AIRSTREAM 100 instead. Use an open-end wrench size 22 Insert the hose plug adapter (16) into the free end of the air hose. Then it is imperative to install the supplied hose clamp (14). Now plug the hose with the installed hose plug adapter (16) into the plug connection (15). To loosen the connection, press the black plastic element on the plug connection coupling (15) and then pull the hose.
Maintenance
9.1. General maintenance
- Do not use aggressive substances to clean the housing (3).
- The linear piston pump inside the device is free of oil. Do not oil the device.
- The linear piston pump is precisely adjusted. Therefore, do not open the hex screws at the pump end.
- Check the power cord (1) and the power plug before each use. These must not be damaged.
9.2. Filter mats
When the filter mat should be cleaned or replaced depends on the degree of contamination caused by the atmospheric conditions around the application. The condition of the filter mat should be checked every 3 months; it should be replaced after 12 monthsat the latest.
Danger to life from electric shock
Remove the mains plug from the socket before opening the device.
- Disconnect the power cord (1) from the power supply.
- Remove the housing cover (4) (4x screws + toothed discs).
- Remove the air inlet filter cover (5) (1 screw). Below this cover is the filter mat (17), which can now be cleaned or replaced.
- Before the device is put into operation, all covers must be reinstalled in reverse order.
- When installing the air inlet filter cover (5), make sure that the cover is correctly aligned.
- IMPORTANT: When fitting the air inlet filter cover (5) and the housing cover (4), make sure that the connection cable (18) is not jammed.

Declaration of Incorporation
EU Declaration of Incorporation
(in terms of the EC machinery directive 2006/42/EC; Appendix II A) Leister Technologies AG, Galileo-Strasse 10, CH-6056 Kaegiswil/Switzerland hereby declares the partly completed machinery
Designation: Blower
Type: AIRSTREAM 100 – as far as it is possible from the scope of supply – fulfills the applicable essential requirements of the EC machinery directive (2006/42/EC).
The partly completed machinery furthermore complies with the provisions of the following EU directives:
EC directive(s) 2011/65/EU, 2014/30/EU
Harmonized standards EN ISO 12100, EN 60335-1, EN 55014-1, EN 55014-2, EN 61000-3-2,
EN 61000-3-3, EN IEC 630000
Authorised documentation representative: Thomas Schäfer, Manager Product Conformity
The partly completed machine must not be put into service until the final machinery into which it is to be incorporated has been declared in conformity with the provisions of the EC machinery directive (2006/42/EC), where appropriate. 
UK Declaration of Incorporation
(in terms of The Supply of Machinery (Safety) Regulations 2008, Annex II 1.B) Leister Technologies AG, Galileo-Strasse 10, CH-6056 Kaegiswil/Switzerland hereby declares the partly completed machinery Designation: Blower
Type: AIRSTREAM 100 – as far as it is possible from the scope of supply – fulfills the applicable essential requirements of The Supply of Machinery (Safety) Regulations 2008 (2008 No. 1597). The partly completed machinery furthermore complies with the provisions of the following UK Statutory Instruments:
UK Statutory Instruments: 2016 No.1091 The Electromagnetic Compatibility Regulations 2016 2012 No. 3032 The Restriction of the Use of Certain Hazardous Substances in Electrical and Electronic Equipment Regulations 2012 Designated Standards: EN ISO 12100, EN 60335-1, EN 55014-1, EN 55014-2, EN 61000-3-2, EN 61000-3-3, EN IEC 63000 Authorised documentation representative: Thomas Schäfer, Manager Product Conformity The partly completed machine must not be put into service until the final machinery into which it is to be incorporated has been declared in conformity with the provisions of the The Supply of Machinery (Safety) Regulations 2008 (2008 No. 1597), where appropriate.

Disposal
Do not dispose of electrical equipment with household refuse.
Electrical appliances, accessories and packaging should be recycled in an environmentally friendly manner. When you are disposing of our products, please observe the national and local regulations.
Warranty
- The guarantee or warranty rights granted for this device by the direct distribution partner/salesperson apply from the date of purchase. In the event of a guarantee or warranty claim (verification by invoice or delivery note), manufacturing or processing errors will be rectified by the sales partner through replacement delivery or repair. Heating elements are excluded from warranty obligations or guarantees.
- Other guarantee or warranty claims are excluded within the framework of mandatory law.
- Damage resulting from natural wear, overload, or improper handling is excluded from the warranty.
- No guarantee or warranty claims exist for devices that have been converted or modified by the purchaser.
© Copyright by Leister
Your authorised Service Centre is:
Sales and service center
Leister Technologies AG
Galileo-Strasse 10
6056 Kaegiswil/Switzerland
Tel. +41 41 662 74 74
Fax +41 41 662 74 16
www.leister.com
[email protected]
AIRSTREAM 100
Art. 168.659 / EN / 12.2021

























