Protect Your Road Trip and Record Fun On The Way
INNOVV K3 Dash Cam
Intended For Powersports
(Motorcycles, AVTS, UTVs & Others)
INNOVV K3 Product Overview
- The INNOVA K3 dashcam features dual cameras to provide complete coverage around you, capturing footage in Full HD 1080P at 30 FPS.
- It is equipped with the Wi-Fi and GPS module, allowing you to access and share routes, tracks and waypoints via INNOVV App.
- Both of the DVR and cameras are certified with an IP67 rating.
- Both cameras are constructed of durable and lightweight aerospace aluminum alloys, enabling a better anti-electromagnetic interference capability.
- It adopts the intelligent DC converter for power supply to better protect the device from battery draining problems.
- It runs faster and has better performance with dual-core processors on the DVR.
- It is easy and flexible to install with its small size and smart design.

Brief Introduction

| 1. Function Button | 12. Rear Camera Cable Connected to DVR (6-pin male) | 23. Negative Terminal of Power Supply |
| 2. Recording Indicator | 13. Front Camera Cable Connected to DVR (6-pin male) | 24. ACC Wire (Offers 12V switch power source after ignition) |
| 3. GPS Indicator | 14. Waterproof Silicone Plug | 25. Power Indicator (Blue light on means there is 5.3V voltage) |
| 4. Wi-Fi Indicator | 15. TF Card Port | 26. DC Converter |
| 5. Remote Control | 16. USB Port | 27. Microphone |
| 6. Remote Control Cable (6-pin male) | 17. DVR | 28. Power Input Cable Connected to DVR(3-pin male) |
| 7. Remote Control Cable Connected to DVR(6-pin female) | 18. GPS Cable Connected to DVR(3-pin female) | 29. Microphone Cable Connected to DVR (2-pin female) |
| 8. Front Camera | 19. GPS Cable (3-pin male) | 30. Microphone Cable (2-pin male) |
| 9. Rear Camera | 20. GPS Module | 31. Power Output Cable (3-pin female) |
| 10. Rear Camera Cable (6-pin female) | 21. Fuse Holder | |
| 11. Front Camera Cable (6-pin female) | 22. Positive Terminal of Power Supply |
Motorcycle installation Demo

The Installation Guide
Converter Installation
| 1. Red wire (connected to the positive of battery) | 4. Power output cable (connected tothe DVR) |
| 2. Black wire (connected to the negative of battery) | 5. Converter |
| 3. Yellow wire (connected to the 12V switched power source, like headlight, tail light, horn and others which are associated tothe ignition) |
Camera Installation
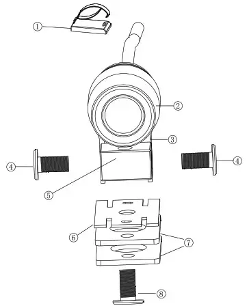
Installation Method-1 (With L Bracket)
| 1. Rubber mat | 4. M6*8 mm screw *2 pieces (4,5) | 7. 3M rubber cushion |
| 2. Small block | 5. U bracket | |
| 3. M6*25 mm screw *1 piece | 6. Camera |
Camera Installation
Installation Method-2 (With L Bracket)
| 1. M6*25 mm screw *1 piece | 5. Small block |
| 2. L bracket | 6. Camera |
| 3. M6*8 mm screw *3 pieces (3,6,7) | 7. U bracket |
| 4. Rubber mat | 8. 3M rubber cushion |
Camera Installation
Installation Method-3 (With Deformable Metal Plate)
| 1. Cable clip | 5. Small block |
| 2. Camera | 6. Deformable metal plate |
| 3. U bracket | 7. 3M double-sided tape |
| 4. M6*8mm screw *2 pieces | 8. M6*12mm screw *1 piece |
Remote Control Instruction
LED Indicators | ||||||
Status | Off | Solid On | Flash quickly (5 flashes per second) | Flash slowly(1 flash per second) | Flash quickly for a long time (2 flashes updated every second) | Flash quickly (only 1 flash) |
| Not working | Recording | No TF Card/ TF Card Error | Not recording | Accident video, protected video, or parking video is recorded under specific conditions. | Successful photo taking by pressing the button twice in a short time. | |
Connected | R camera unconnected or disconnected | Connecting | / | / | ||
| Connected | / | Connecting | / | / | ||
| Firmware Updating | Three indicators flash mimultaneously | |||||
| Instruction of the function button on remote control | ||||||
| 1. Saving current video by pressing the button for once. 2. Photo taking by pressing the button twice in a short time. 3. Factory reset by pressing the button for 10 seconds. | ||||||


| 1. Remote control | 2. L bracket | 3. M6*8 mm screw*1 piece |
App Installation Guide
App Download
Android User: Search INNOVV in Google Play Store, then download and install it on your phone.
iPhone User: Search INNOVV in App Store, then download and install it on your phone.
With the DVR working normally and the Wi-Fi indicator lights on, please kindly turn on the Wi-Fi and then search the Wi-Fi network named INNOVV_K3_xxxx, and you could easily join it with the default password 12345678.
Some Android users may get the error message that “This WLAN network has no Internet access. Connect anyway?” Please kindly click the “Connect” button to continue the network connection.

https://play.google.com/store/apps/details?id=cn.rxt.case.innovv

https://apps.apple.com/cn/app/innovv/id1235353801
App Interface



TF Card Instruction
INNOVA K3 dashcam requires at least a U1 (UHS Speed Class 1), V10 (Video SpeedClass 10) rated, or faster TF card to ensure better performance.
Microphone Instruction
An open foam cover around the microphone is used as the first line of defence against wind noise. You are suggested to put the microphone against the heading direction to further minimize the wind noise.
Parking Mode Instruction
If the Parking Mode has been enabled with INNOVV App on your phone, INNOVV K3 will provide around-the-clock protection when you are away and even the engine is not running. The K3’s smart power supply module triggers parking mode automatically, and the INNOVV K3 will wake up and start recording when an impact or motion is detected by the built-in G-Sensor.
In order to make the Parking Mode function properly, please make sure that the INNOVV K3 should always be connected to a power source. And the red wire and the black wire of the converter shall be connected to the motorcycle battery’s positive terminal and negative terminal separately. The yellow cable shall be connected to the ACC wire.
The output voltage of the battery shall be at least 12V.
G-Sensor Instruction
There are 5 grades for the G-sensor’s sensitivity and each grade has 2 options. Users could easily adjust that with INNOVV App according to different road conditions. The smaller the number is, and the less sensitive the G-sensor is.
Specification
| Model | K3 | ||||||||
| Structure Parameters | Parameter of Lens | ||||||||
| Installation | Quick assembly with 3m double side tape | F Lens | Maximum Resolution | 1080P@30FPS | |||||
| DVR Size | 80*56*15mm | Viewing Angle | 120° | ||||||
| Lens Size | Dia 25*54mm | Structure | 6G+IR | ||||||
| Weight | / | Aperture | F0,2. | ||||||
| Color | Black | R Lens | Maximum Resolution | 1080P@V3OFPS | |||||
| Waterproof Rating | IP67 | Viewing Angle | 120° | ||||||
| Structure 6G+IR | |||||||||
| Aperture F1.8 | |||||||||
| Parameter of DVR | Parameter of Converter | ||||||||
| Processor | Dual-core | Voltage Input | 9-18V | ||||||
| RAM | 4G | ACC Input | 9-18V | ||||||
| Sensor | G-Sensor | ACC Output | 5.0V ± 0.2V | ||||||
| Storage | TF card | Voltage Output | 5.3V±0.2 V | ||||||
| Wi-Fi | 2.4 Ghz | Max Current | 2A | ||||||
| Data Interface | Micro USB | Worldng Temperature | -30°C-70t | ||||||
| Video Format | MP4 / TS | ||||||||
| GPS | |||||||||
| Working Temperature | -30°C-70t | ||||||||
| Voltage Input | 5.0V ± 0.5V | ||||||||
Basic Troubleshooting Guidelines
Number | Problems | Solutions |
| 1 | Recording Indicator flashes slowly and it is not working. | Please kindly check the TF card first or try to use another TF card. |
| 2 | The recording videos are blurry and the sharp details are lost. | Please kindly clean the camera lens with a lens tissue or cleaning cloth. |
| 3 | The DVR is not working after motorcycle ignition. | Please kindly check the yellow ACC wire and other cable connections first. |
| 4 | There is no videos by rear camera. | Please kindly check the rear camera connector and related cables. |
| 5 | There are many videos recorded in normal mode are saved in file named accident videos. | Please kindly decrease the sensitivity of the G-sensor in settings with INNOVV App. |
| 6 | There is no sound in all videos. | Please kindly make sure you have turned on the Microphone. If that still fails, please kindly turn off the time-lapse video in settings with INNOVV App. |
Important Notice
Please make sure that the Microphone cable is not close to the GPS cable.
Protect Your Road Trip and Record Fun On The Way



















