VALUE 19 Inch Wall Housings Foldable Mount Rack

Feature
- Width: 540 mm
- Depth: 450/600 mm
ASSEMBLY GUIDE
- Open the box

- Take the wall housing out of the box and put in on the rear side

- Fold-out the hinged side panels and take out the accessory parts from inside


- Assemble bottom sheet with special plastic rivets
Note: the bottom sheet has no fan cutouts
- Hinges and lock parts are pre-assembled on the glass door
Note: take care not to damage the glass
- Fix the glass door to the bottom of the case

- Assemble roof sheet with special plastic rivets
Note: the roof sheet has fan cutouts
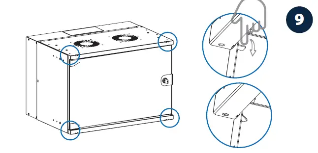
- Bend the taps as shown in figure

- The wall housing now is ready to use


























