
CR8017B-BUR
Voyager Turntable
Instruction Manual

Safety Instructions
Read and understand this entire manual before using this product. Keep these instructions for future reference.
- Do not use this product near water.
- This product should be operated only by the type of power source indicated on the marking label or in this instruction manual.
- Do not defeat the safety purpose of the polarized plug. A polarized plug has two blades with one blade wider than the other. This plug will fit into the power outlet only one way. If you are unable to insert the plug fully into the outlet try reversing the plug. If the plug should still fails to fit, contact your electrician.
- Protect the power cord from being walked on or pinched particularly at plugs, convenience receptacles, and the point where they exit from the product.
- Do not overload wall outlets, extension cords, or integral convenience receptacles as this can result in a risk of fire or electric shock.
- Never push objects of any kind into this product through openings as they may touch dangerous voltage points or short-out parts that could result in a fire or electric shock. Never spill liquid of any kind on the product.
- Do not attempt to service this product yourself as opening or removing covers may expose you to dangerous voltage or other hazards. Refer all servicing to qualified service personnel.
- Changes or modifications to this unit not expressly approved by the party responsible for compliance could void the user’s authority to operate the equipment.
- Do not use attachments not recommended by the product manufacturer as they may cause hazards.
- A product and cart combination should be moved with care. Quick stops, excessive force, and uneven surfaces may cause the product and cart combination to overturn.
- Slots and openings in the cabinet are provided for ventilation and to ensure reliable operation of the product and to protect it from overheating. Do not block or cover these openings.
- Unplug the product during a lightning storm or when unused for long periods of time.
Before throwing away any packaging materials, please check thoroughly and make sure you find the following items that come along with this package:
- Turntable
- 45 RPM adapter
- 3.5mm aux-in cable
- Power adaptor
Please contact Crosley Customer Service if there is any accessory missing from the package. Retain the original packaging materials for exchange or return purposes.
Specifications
| Power | DC power adaptor, DC output 5V 1A |
| Power consumption | 9W |
| Speaker | 4Ω, 3W X 2 |
| Turntable speed | 331/3, 45, 78 RPM |
| Replacement needle | Crosley NP6 |
Note:
- Design and specifications are subject to change without notice.
- To help save power consumption, some models will comply with ERP energy-saving standards. When there is no audio input for 20 minutes, their powers will automatically cut off. To turn the power back on and resume playing, you will need to turn off the power and turn it on again.
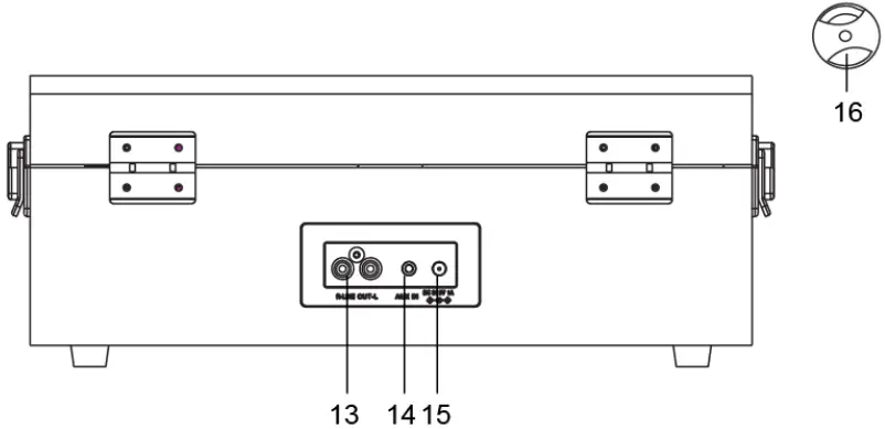
Product Description


| 1. Turntable Platter | 9. Pitch Control |
| 2. Turntable Spindle | 10. Hold Down Clip |
| 3. Function Switch | 11. On/Off-Volume Knob |
| 4. Tonearm | 12. Headphone Jack |
| 5. Tonearm Lever | 13. RCA Jacks |
| 6. Function Indicator | 14. Aux-In Jack |
| 7. Auto-stop Switch | 15. Power Jack |
| 8. Speed Switch | 16. 45 RPM Adapter |
Initial Setup
Essential Setup
- Place the unit on a flat and level surface. The selected location should be stable and free from vibration.
- Remove the tie-wrap that is holding the tonearm.
- Connect the DC adaptor to the Power Jack of the unit.
Note: Do not plug the power adaptor into the power outlet before all the assembly is completed. Before turning the power on, make sure again all the connection settings are correct. Always turn off the power when connecting or disconnecting.
Stereo System Connection
RCA Jacks
- The RCA Jacks output analog line-level signals and could be connected directly with a pair of active/powered speakers or the appropriate input of your stereo system.
- The Red plug connects with the Right channel and the White plug connects with the Left channel. Note: The RCA Jacks are not designed to be connected directly to the passive/unpowered speakers. If connected to the passive speakers, the volume level will be very low.
Aux Input Connection
You can connect any audio device to this unit and play your music through its speakers. To do this, connect the 3.5mm auxiliary cable between your audio device and the Aux-In Jack of this unit and start playing the music.
Note: The aux in connection will automatically override the turntable and Bluetooth functions. To resume using the turntable or Bluetooth functions, unplug the auxiliary cable from the aux-in jack. The Function Indicator will be purple.
Turntable Operation
- Rotate the On/Off Volume Knob to turn on the power.
- Set the Function Switch to the PHONO position.
Note: The Function Indicator will be red. - Set the Speed Switch accordingly.
- Place the record on the turntable. Use the 45 RPM Adapter if necessary.
- Remove the stylus protector from the stylus assembly.
Note: To avoid stylus damage, make certain the included stylus guard is in place whenever the turntable is being moved or cleaned. - Release the tonearm Hold Down Clip.
Note: When the turntable is not in use, remember to lock back the hold-down clip. - Use the Tonearm Lever to lift up the tonearm.
- Gently move the tonearm over the record where play is desired to begin. Set the Tonearm Lever back to the down position, the tonearm will descend slowly onto the record and begin to playback.
- When the record is finished playing, use the Tonearm Lever again to raise the tonearm and then return it to the Tonearm Rest. Release the lever to let the tonearm sit back at its rest. To suspend the playback, repeat the same steps.
- Lock the Hold Down Clip to secure the tonearm.
Platter Auto-stop
If the Auto-stop Switch is set to ON position, the platter will stop spinning automatically when the record plays to the end. On some rare occasions, if the turntable stops playing before the end of the record, set the switch to OFF position the turntable should overcome this issue.
Pitch Control
The turntable speed can be increased or decreased by approximately 10% by rotating the Pitch Control Knob. To increase the speed, turn the Pitch Control Knob clockwise. To decrease the speed, turn the knob counter-clockwise.
Needle Replacement
Removing Needle
- Gently pull down the front edge of the needle
- Pull the needle forward.
- Pull out and remove.

Installing Needle
- Position the needle with its tip facing down.
- Line up the back of the needle with the cartridge.
- Insert the needle with its front end at a downward angle and gently lift the front of the needle upward until it snaps into place.

Bluetooth Operation
- Set the Function Switch to Bluetooth mode

Note: The function indicator will be flashing blue. - Turn on the Bluetooth feature of your audio device, search for “CROSLEY CR8017” and pair.
- Once your device is successfully paired with the unit, you will hear a short confirmation sound from the unit, and the function indicator will be blue.
- Play and stream music from your device to the unit.
Note: Bluetooth version – 5.1
Bluetooth Output Operation
This turntable features Bluetooth output which is a device that transmits audio from this turntable to another Bluetooth device such as wireless Bluetooth headphones, Bluetooth speakers, or other Bluetooth receiving devices.
- Place the audio device that supports Bluetooth technology as close to your turntable as possible.
- Set the turntable’s function switch to the middle position for Bluetooth output.
Note: The function indicator will slowly flash blue. - Set the device that you would like to connect to pairing mode.
- Your turntable will connect automatically to your audio device once they are both in pairing mode.
- When the pairing is complete, the function indicator will be solid blue.
Note: If pairing is unsuccessful, make sure your audio device is not paired/connected to another Bluetooth device.
Turntable Maintenance
1. Do not touch the stylus tip with your fingers. Avoid bumping the stylus on the turntable mat or a record’s edge.
2. Clean the stylus frequently with a soft brush with a back-to-front motion only.
3. Clean the records to get rid of dust or grease with a record cleaning brush and record cleaning solution.
4. Clean the turntable lid and turntable cabinet with a slightly damped microfiber cloth.
Note: Do not use a cleanser that contains alcohol, benzene, or any other harsh chemicals, which might damage the paint and finish of the turntable.
** Crosley offers a product line of different cleaning accessories. Please ask your retailer or check out our website www.crosleyradio.com for more cleaning product information.
Troubleshooting
There is no power
- The power adaptor is not connected correctly.
- No power at the power outlet.
- To help save power consumption, some models will comply with ERP energy-saving standards. When there is no audio input for 20 minutes, their powers will automatically cut off. To turn the power back on and resume playing, turn off the power and turn it on again.
Power is on, but the platter does not turn
- Turntable’s drive belt has slipped off.
- An aux-in cable is plugged into the aux-in jack, unplug it.
The turntable is spinning, but there is no sound, or sound not loud enough - The stylus protector is still on.
- The tonearm is lifted up by the lever.
- Headphones are plugged in.
FCC Statements
This device complies with part 15 of the FCC Rules. Operation is subject to the following two conditions:
(1) This device may not cause harmful interference, and
(2) this device must accept any interference received, including interference that may cause undesired operation.
Note: This equipment has been tested and found to comply with the limits for a Class B digital device, pursuant to part 15 of the FCC Rules. These limits are designed to provide reasonable protection against harmful interference in a residential installation. This equipment generates, uses, and can radiate radio frequency energy and, if not installed and used in accordance with the instructions, may cause harmful interference to radio communications. However, there is no guarantee that interference will not occur in a particular installation. If this equipment does cause harmful interference to radio or television reception, which can be determined by turning the equipment off and on, the user is encouraged to try to correct the interference by one or more of the following measures:
− Reorient or relocate the receiving antenna.
− Increase the separation between the equipment and receiver.
− Connect the equipment into an outlet on a circuit different from that to which the receiver is connected.
− Consult the dealer or an experienced radio/TV technician for help.
Note: The Grantee is not responsible for any changes or modifications not expressly approved by the party responsible for compliance. such modifications could void the user’s
authority to operate the equipment. The device has been evaluated to meet general RF exposure requirements. To maintain compliance with FCC’s RF exposure guidelines, the distance must be at least 20 cm between the radiator and your body and fully supported by the operating and installation configurations of the transmitter and its antenna(s).
SIMPLIFIED EU DECLARATION OF CONFORMITY
Hereby, Modern Marketing Concepts Inc. dba Crosley Brands, declares that the radio equipment type is in compliance with Directive 2014/53/EU. The full text of the EU
declaration of conformity is available at the following internet address: http://crosleybrands.com/euDoC

Questions, problems, missing parts?
Before returning to the store, call Customer Service
8 a.m. – 6 p.m., EST, Monday – Friday
1-888-CROSLEY
www.crosleyradio.co



















