GALVAMET 395.586 Aria Exhausting Cooker Hood Instruction Manual
![]()


220-240V 50Hz
220V 60Hz
GENERAL
Exhausting cooker hood. The equipment is constructed in accordance with European Standards and with the requirements included in the following Directives: 2006/95EC (Low Voltage Directive), 2004/108 (Electromagnetic Compatibility).
The present instruction manual is an integral part of the appliance itself, therefore it must be carefully kept and ALWAYS accompany it, even in case of its assignment to another owner or user or in case the cooker hood is moved to another installation plant.
The Manufacturer strives for continuous improvements. For this reason, the text and illustrations in this guide may change without notice.
WARNINGS
The present instruction manual is an integral part of the appliance itself, therefore it must be carefully kept and ALWAYS accompany it, even in case of its assignment to another owner or user or in case the cooker hood is moved to another installation plant.
Make sure that the voltage (V) and frequency (Hz) indicated on the data plate inside the unit match those available at the installation site. Any eventual adjustment to the electrical system, which may be necessary to install the cooker hood, must be carried out only by competent people.
Any repair carried out by no competent people may cause damages.
For any repair or needed technical action make reference to a Technical Assistance Centre, which is authorized to carry out the replacement of the spare parts. Always make sure that all the electrical parts (lights, exhaustion unit) are disconnected when the appliance is not in use. By storms take off the main switch of the house electrical system.
The using of the cooker hood must not be other than the use of exhausting units for cooking damps on domestic kitchens.
The manufacturer does not accept any liability for damages caused by people, animals or things, by installation and maintenance mistakes or by any illegitimate use.
We remind that the use of products functioning with electrical energy implies the observance of some essential security rules, as follows:
- This equipment is not intended for people (children included) with reduced mental or motor capacities, with lack of experience or knowledge, unless they are supervised or unless a person responsible for their security, gives them instructions regarding the use of the equipment. Children must be supervised in order to be sure that they do not play with the equipment.
- Any cleaning action is forbidden if the appliance hasn’t been disconnected from the main power supply and if the main switch of the house electrical system is not off. If cleaning is not carried out according to these instructions, a fire may break out.
- Do not pull, take off or twist the cable coming out from the appliance, even though this has been disconnected from the main power supply.
- Do not sprinkle or throw any water directly on the appliance.
- Do not stick any sharp tool inside the exhausting holes and into the air discharge.
- Do not take out the filters in order to reach the internal sides of the appliance in case the main switch of the house electrical system is not off.
- Do not singe or flambé directly underneath the cooker hood. Take particular care when frying to ensure that the oil does not catch fire.
- It is forbidden to use the hood as a support surface unless it is expressly indicated.
- Only use the fixing screws supplied with the product for installation.
CAUTION: Accessible parts may become hot when used with cooking appliances.
INSTALLATION
Preliminary Indications
Carefully read the guide before installation and use of the appliances.
The installation requires safety equipment and a range of tools as per Fig. 3.1.1

The minimum distance between the supporting surface of the cooking hob and the lowest part of the range hood must be not less than 65cm (Fig. 3.1.2).

If the mounting instructions of the gas hob indicate a wider distance, respect it.
It must not be superimposed on stoves with an upper radiating plate.
Respect all the air discharge regulations.
The air must not be discharged in a pipe used to discharge exhaust fumes produced by gas-fed equipments or fuel-fed equipments.
The room must be adequately ventilated when the hoods is used together with other gas or fuel equipments.
The hood placed above an induction hob can cause condensation, this is a normal phenomenon and not due to malfunctioning of the product.
The hood is equipped with all the necessary fastenings for its installation, which are suitable for most surfaces. Verify that the installation surface is strong.
Installation must be carried out by qualified installers according to present regulations.
Elements of the Hood
The hood (Fig. 3.2.1) consists of the following elements:

- Internal ceiling support structure (Fig. 3.2.1-A)
- Aspirator box module (Fig. 3.2.1-B)
- Upper telescopic external chimney (Fig. 3.2.1-C)
- Lower telescopic external chimney (Fig. 3.2.1-D)
- Hood module (Fig. 3.2.1-E)
Fixing the Hood to the Ceiling
Fix the support structure to the ceiling using the supplied anchors (Fig. 3.3.1-A).

Install the smoke evacuation pipe (Fig. 3.3.2-A).

Fix the extractor box module with the supplied screws (Fig. 3.3.2-B) at a height that allows, after installation, to respect the distance of 65 cm. from the gas hob.
Electrically connect the appliance.
Fix the upper telescopic chimney with the supplied screws (Fig. 3.3.3-A) then temporarily fix the lower chimney as indicated in Fig. 3.3.3-B.

Open the panel (Fig. 3.3.4-A), remove the metal filters (Fig. 3.3.4-B) and fix the hood module with the supplied screws as indicated in Fig. 3.3.4-C. Connect the connectors of the control cable and the spotlight cable (Fig. 3.3.5).


Refit the metal filters and close the panel, remove the screws (Fig. 3.3.3-B) and lower the lower chimney into its seat.
Fixing the Hood to the False Ceiling
Fix the support structure to the ceiling using the supplied plugs (Fig. 3.3.1-A).
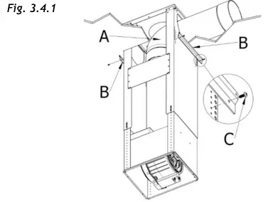
Install the smoke evacuation pipe (Fig. 3.4.1-A), four directions are possible.
Fix the extractor box module with the supplied screws (Fig. 3.3.2-B) at a height that allows, after installation, to respect the distance of 65 cm. from the gas hob. Electrically connect the appliance.
Fix the chimney support brackets (Fig. 3.4.1-B) to the support structure with the supplied screws (Fig. 3.4.1-C). Fix the upper telescopic chimney with the supplied screws (Fig. 3.4.2-A) then temporarily fix the lower chimney as indicated in Fig. 3.3.3-B


Open the panel (Fig. 3.3.4-A), remove the metal filters (Fig. 3.3.4-B) and fix the hood module with the supplied screws as indicated in Fig. 3.3.4-C.
Connect the connectors of the control cable and the spotlight cable (Fig. 3.3.5).
Refit the metal filters and close the panel, remove the screws (Fig. 3.3.3-B) and lower the lower chimney into its seat.

The above installation processes are also valid for the hood in the filtering version (with activated carbon filters). In this case it is not necessary to connect a pipe for the discharge of the fumes as they are recycled and purified through the slits at the top of the chimney. The activated carbon filters must be mounted as described in the ” MAINTENANCE AND CLEANING” paragraph.
In the suction version, the upper chimney can be mounted overturned to hide the filter recycling slots (Fig. 3.4.3).
Electrical Connection
The electrical connection must be carried out ONLY by qualified technicians.
The electrical protection of the electrical connection upstream of the equipment must comply with the regulations in force.
Caution! Make sure that the voltage (V) and frequency (Hz) indicated on the serial number plate located on the appliances correspond to those available at the installation site.
Any change to the electrical installation necessary to install the hood should only be undertaken by qualified staff.
After installation, insulated parts and those carrying electricity must be protected from any possible contact.
Caution! If the electrical connection is carried out incorrectly or not meeting the regulations, it may damage part of the appliance and the warranty will not be valid.
Warning! Before making the electrical connection, turn the main switch of the domestic system to “off”.
These appliances must be earthed.
Two types of connections to the network are possible:


- Using a standard plug connected (Fig. 3.5.1) to the power cord and inserted into an accessible socket outlet (to be disconnected during service operations). Make sure that the plug is accessible even after the complete installation of the appliance.
- Stable connection to the network by interposing a bipolar switch to ensure disconnection from the network, with a contact opening distance allowing complete disconnection under the conditions of the overvoltage category III, in accordance with the installation rules (Fig. 3.5.2.).
Earth connection (yellow-green wire) should not be interrupted.
If the power cord is damaged, it must be replaced by the manufacturer or its authorized service center or by a qualified technician, in order to prevent any risk.
USE
This cooker hood can be employed as exhausting or filtering.
Exhausting (external evacuation, Fig. 4.1). Remove any activated carbon filters if present. Kitchen smokes are driven outside through a flue (not provided with the hood) joined to the exhaust pipe flue connector.

This pipe must not under any circumstances be connected to cooker, boiler or burner exhaust pipes, etc.
Install this flue after completing what described in the INSTALLATION.
The use of pipes and holes on the wall with a smaller diameter than the output of the motor will cause a decrease in suction performance and an increase of the noise level.
Use as short as possible tubes and with few curves.
Use pipes with smooth internal surfaces.
Filtering (inside recycling, Fig. 4.2). The fumes pass through activated carbon filters (not supplied with the hood, Fig. 4.2-A) to be purified and recycled into the kitchen.

OPERATION
The hood is supplied with a multispeed motor.
The hood should be run at low speed under normal conditions and at higher speeds only when there is a heavy buildup of fumes or odors.
Ideally, the hood should be switched on as soon as cooking is started and then kept on until all odors have been eliminated.

The controls (Fig. 5.1) consist of these commands. Press TL to turn on the light, press T1 to switch on the hood at first speed and to switch off the aspirator, press T2-T3-T4 to select functioning speeds.
By pressing of the command T1 the motor starts running at the 1st speed. The commands T2-T3-T4 switch the motor on respectively at the 2, 3 and 4 speed. In order to switch the motor off press T1 once if set at the 1 speed, twice if set at the 2, 3 and 4 speed. With the button T4, select the maximum speed of the extraction fan for 5 minutes (button blinking), after which the extraction fan will automatically switch to the 3rd speed.
Adjustable and Delayed Self-Switching Off
While the hood is working, keep the TL command pressed until all LEDs start blinking.
By pressing one of the commands (T1, T2, T3, T4) you can program the delayed self-switching off, as follows: T1 corresponds to 5 minutes; T2 corresponds to 10 minutes, T3 corresponds to 15 minutes, T4 corresponds to 20 minutes. While the self-switching off is in function, it is possible to modify the speed previously set. If you select the maximum speed, after 5 minutes the extraction fan switches to the 3rd speed and will automatically turn off at such speed.
Filters Maintenance Reminder
Metal anti-grease filters
Once the hood is switched off, after 30 hour functioning, all the LEDs of the speed buttons switch on with a fixed light for 30 seconds to remind that metal anti-grease filter need cleaning. To set the timer to zero keep the button T4 pressed with the aspirator switched off, otherwise the timer will remain set on 30 hour functioning and the reminder will occur again when the hood is switched off again.
Charcoal filter (for filtering hoods)
Once the hood is switched off, after 120 hour functioning, all LEDs blink for 30 seconds to remind that the charcoal filter need cleaning.
To set the timer to zero keep the button T4 pressed with the aspirator switched off, otherwise the timer will remain set on 120 hour functioning and the reminder will occur again when the hood is switched off again.
MAINTENANCE AND CLEANING
Warning! Before any maintenance or cleaning operation, disconnect the hood from the power supply by setting the main switch of the domestic system to “off”.
Metal Grease Filter
Particular attention should be paid to the metallic anti-grease filters that are designed to trap particles of fat contained in the fumes. The metallic anti-grease filters must be washed at least once a month or, if present in this model, when indicated by the electronic notice, with detergent in hot water (or in the dish-washer). The filters may discolor after a few washes. This is normal and does not mean they have to be replaced. To remove the metal grease filters, use the handle on the filter itself (Fig. 3.3.4-B). It is recommended to refit the metal grease filters only if perfectly dry.
ATTENTION: the grease collected in the filters can easily catch fire and it is therefore extremely important to clean the metallic filters on a regular basis as per instructions
Activated Carbon Filter (for Filtering Hoods)
The activated carbon filters, if present, have the function of retaining the odors present in the cooking fumes.
The air is introduced into the purified environment. The activated carbon filters must not be washed and must be replaced 3 or 4 times a year in accordance with the use of the hood. Request the filters from the manufacturer.
To install the activated carbon filters, the metal grease filters must first be removed (Fig. 3.3.4-B).
At this point, without the use of tools, install the activated carbon filters by hooking them to the interlocking tabs on the sides of the engine. Then fix them by rotating them about 90 ° with respect to their insertion position in the tabs (Fig. 6.2-A).
To replace the activated carbon filters, reverse the operations.

Hood Cleaning
Immediately after installation, remove the protective film in order to eliminate any residual adhesive or other impurities. The hood must be cleaned frequently both internally and externally (at least once a month). Do not allow dirt to accumulate on the surfaces of the hood.
Do not use acid or basic products or abrasive sponges to clean the external body of the hood. Clean the hood with a sponge moistened with hot water and a modest quantity of neutral soap (for example dish soap) in order to eliminate any grease particles that may have deposited.
Rinse with a damp cloth, carefully removing all the soap, following the direction of the satin finish of the steel surface. Drying is particularly important, especially in areas where the water is very hard and leaves limescale deposits.
Lighting
The hood is equipped with LED lighting which, in addition to offering excellent lighting and limited energy consumption, guarantee a considerable duration over time. In case of replacement, contact the assistance service.
DISCONTINUATION
After discontinuation the appliance can be installed on another furniture, privately resold or disposed of.
Caution! For discontinuation it is necessary to switch the appliance off and disconnect the power
Disassembly requires that the device is accessible and has been disconnected from the power supply.
To do this, follow the installation instructions in reverse order.
This appliance is marked in accordance with the European Directive 2012/19/EC, Waste Electrical and Electronic Equipment (WEEE).
The symbol on the product or on the packaging indicates that the product should not be considered as a normal household waste, but must be taken to the appropriate collection point for the recycling of electrical and electronic equipment.
By appropriately dispose of this product, it helps to avoid potential negative consequences for the environment and health. For more detailed information, contact your local office, local waste disposal service, or the shop where you purchased the product.
![]()
GALVAMET S.r.l. UNIPERSONALE
Viale dell’Industria 10 – 35014 Fontaniva (PD) – Italy
T +39 049 5942144 – F +39 049 5940061
E-mail: [email protected] – web: www.galvamet.it















