
RC Quadcopter
Instruction Manual
A 6E314 +
The knowledge and safety notes below are useful for you in the remote control world. Please read this manual carefully before operating this product and keep it for further reference.
REMOTE CONTROL BATTERY INSTALLATION
Open the battery cover on the back of remote controller. Insert 3X1.5V ‘AAA” batteries in accordance with the instructions on battery box. (Battery should be purchased separately, old and new or different types of batteries shouldn’t be mixed.)

AIRCRAFT BATTERY INSTALLATION AND CHARGING

- Insert use charger into the USB interface en the rnmputes of other chargers. and then plug in. the indicator might vAll be on.
- Take off the battery from the aircraft and then conned the battery socket v4th that on the USB charger.
- The indicator. light will be off in the battery charging process; the indicator light will be on after full charging.
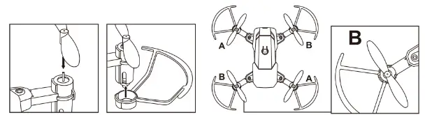
INSTALL THE BLADE AND PROTECTIVE COVER

- Prepare a screwdriver and protect cover
- insert four protection covers into the holes of the protection cover. finish beside the four blades, and use the screw knife to lock four screws lightly.
- Each paddle of the flying device is not the same, on each blade is marked with “K or B. When installing of the paddle, please perform correctly installation according to the corresponding labels as shown in the figure below. When the paddle is not correctly installed, the flying device can’t take off, roll over. nd skating fly.
AIRCRAFT OPERATION AND CONTROL


NOTE: Aircraft before takeoff must first weed the frequency. Ainixaft lights flashing when the oxitectionAhe Acarection is completed Sew light.1n avoidance et uncontrollable, when tying device TOM, it always needs to pay attention on theoperating levet carefully. in the process of operation. the flying device may lose a lithe power this rt needs to add power to march( ←The Wacky, of aircraft head)
FINE-TUNING

When the flying device is in the flight. it appears deviations (fuming left-right; margin gfretreating; left-right side); it is to adjust them by turning the opposite direction corresponding slight keys. For exa,mple the flying device deviates to the front, So it is to adjust by turning the backward “marching/ retreating slight” key as shown in the figure.
SENSITIVITY SETTING
This aircraft can achieve three modes of operation: low (30%), Intermediate (60%), and advanced (100%). Press the last/slow* button once= the aircraft enters the intermediate mode (sensitivity up to 60%). Press the last/slow* button again = the aircraft enters the advanced mode (sensitivity up to 100%). Press the fast-slow button again to restore the original default low mode (30% slow).
Through this key. it can adjust the sensitivity of the flying devices. the greater the sensitivity value hilts faster the flying device response: conversely,i1 is slower.
FLIP MODE
The flying device can perform a rolling flight of 360 degrees by following the operation. In order to better implement the rolling function, and endure the flying device is kept five meters height above the ground, it is better to operate rolling in the process of rising up. In this case, the flying device can be kept with height after the flying device performs a rolling action.
- Left side somersault: Click “mode of conversion”, and then push the right-control lever to left in maximum. After the flying device rolls, it is to tthe urn control lever to the middle position.

- Right side somersault: Click “mode of conversion”, and then push the right-control lever to right in maximum. After the flying device rolls, it is to tthe urn control lever to the middle position.

- Front somersault: Click “mode of conversion”, and then push the right-control lever to the front in maximum. After the flying device rolls, it is to turn the control lever to the middle position.

- Backward somersault: Click “mode of conversion”, and then push the right-control lever to backward in maximum. After the flying device rolls, it is to tthe urn control lever to the middle position.

AFTER ENTERING INTO THE ROLL MODE” IF THERE IS NO NEED OF ROLLING FUNCTIONS, THEN CLICK THE “MODE CONVERSION” KEY
FOUR-AXIS FOLDING INSTRUCTIONS

The wing is capable of expansion and contraction is and folded toward the direction of the arrow. Note: the protective cover must be removed in the process of folding.
HEADLESS MODE WITH ONE KEY RETURN
That is in nant, no matter what position the aircraft is, no matter what direction its attiuce, as long as you click On the headless mode button, automatic locking direction aircraft takeoff. When found in aircraft flignt has left you very far when you could not tell the direction, then dick on the headless mode key, you can not recognize the direction to control the aircraft return; return key or dick the auto-off direction of the vehicle will automatically return.
- Of the code of the aircraft must head toward the front (or rear headless mode and automatic mode opening direction will return disorder)
- When you need to use the headless mode, click on the headless mode key, the vehicle will automatically lock the direction of takeoff.
- When you do not use the headless mode, then click the headless mode button to exit the headless mode.
- When you want to automatically return, dick the button to automatically return the aircraft is in the direction of takeoff and will be automatically refunded.
- The automatic return process can be controlled manually about the direction of the aircraft, pushing the joystick forward to exit the automatic return function. Warning: Try to choose less vision and pedestrians at the place with this aircraft, so as to avoid unnecessary losses!
Automatic Altitude Mode
This aircraft adopts **barometer” module to achieve fixed height and hovering, use the left joystick (accelerator) to control rise/fall, loosen the left joystick (accelerator), the aircraft will hover at that height.
CAMERA USE
- After connecting with the power supply of the flying device, then it is to start up a remote control device and proofread of codes.
- To turn up the “camera” key on the remote control device, and then the camera will take a photo (the camera’s blue light will flash one time)
- To turn up the ‘camera’ key on the remote control device, then the camera will enter to the mode of camera (camera’s red light will keep flashing), and turn down the “camera” key on the remote control device, at this moment, the camera returns from camera mode.
- To exit the camera mode, then turn off the power, and finally remove out the SD card.
![]()
- Please make sure to follow up the procedures above. Otherwise if will lead to some functions abnormal.
- In photo-taking, because of the need of data storage. the interval of two photo-takings is not less than two Seconds.
- If SD can’t store data, please formatting before use.
- If the aircraft when low battery warming note is issued promptly withdraws save the video camera function, power failure after the aircraft does not automatically save the video.
TROUBLESHOOTING DURING FLIGHT
| situation | Cause | Way to deal | |
| 1 | Receiver staus LED blinks continuously for more than 4 seconds after flight vehicle battery inserted. No response to control input. | Unable to bind to the transmitter. | Repeat the power-up initializing process. |
| 2 | No response after the battery is connected to the flight vehicle. | Power to transmitter and receiver. 1. Check transmitter and receiver voltage. 2. Poor contact on battery terminals | 1. Turn on the transmitter and ensure flight vehicle battery is inserted properly. 2. Use fully charged batteries. 3. Re-seat the battery and ensure good contact between battery contacts. |
| 3 | The motor does not respond to the throttle stick, receiver LED flashes. | Flight vehicle battery depleted. | Fully charge the battery, or replace it with a fully charged battery. |
| 4 | The main rotor spins but is unable to take off. | 1. Deformed main blades. 2. Flight vehicle battery depleted | 1. Replace main blades 2. Charge cr replace with fully charged battery. |
| 5 | The strong vibration of flight vehicle | Deformed main blades | Replace main blades |
| 6 | Tail sti off trim after tab adjustment, or inconsistent speed during left/right pirouette. | 1. Damaged tail rotors 2. Damaged tail drive motor | 1. Replace main blades 2. Replace the main motor |
| 7 | Flight vehicle still wanders forward after trim adjustment during hover. | Gyroscope midpoint not | The bot MI lift fine-tunes the normalized neutral point reboot |
| 8 | Flight vehicle still wonders left/ right after trim adjustment during hover. | 1. Motor off 2. Cone lose | 1. Replace the motor 2. Installed tight cone |
ACCESSORIES

This device complies with Part 15 of the FCC Rules. Operation is subject to the following two conditions: (1) this device may not cause harmful interference, and (2) this device must accept any interference received, including interference that may cause undesired operation.
changes or modifications not expressly approved by the party responsible for compliance could void the user s authority to operate the equipment.
This equipment has been tested and found to comply with the limits for a Class B digital device, pursuant to Part 15 of the FCC Rules. These limits are designed to provide reasonable protection against harmful interference in a residential installation. This equipment generates, uses, and can radiate radio frequency energy and, if not installed and used in accordance with the instructions, may cause harmful interference to radio communications. However, there is no guarantee that interference will not occur in a particular installation. If this equipment does cause harmful interference to radio or television reception, which can be determined by turning the equipment off and on, the user is encouraged to try to correct the interference by one or more of the following measures:
— Reorient or relocate the receiving antenna.
— Increase the separation between the equipment and receiver.
— Connect the equipment into an outlet on a circuit different from that to which the receiver is connected.
— Consult the dealer or an experienced radio/TV technician for help.





















