NQD 757-4WD29 Gesture Remote Control Car

Product Information
- Product ID: 757-4WD29
- Product Name: Gesture Remote Control Car
- Remote Layout: Short Press for Auto Demo, Long Press for Mute
- One-click Twist Twist Up/Down All-round Moving Four Azimuth Side Drifts Programming key (press for three seconds to start recording, tap to start presentation) Rotate Left/Right Indicator Light On/Off Signal Light Finger Button Watch Sensor Control
- 2.4G automatic pairing frequency
Remote Layout


Watch Sensor Control

- Short press the finger button to switch modes (horizontal run / rotate), long press to mute.
- Finger Button
- Watch Sensor Control
- Fist rises vertically, body twist rises
- Fist goes down vertically, body twist is reduced
- Fist leaned forward, the car forward
- Fist leaned back, the car backed
- Fist leaned left, the car drifted left / rotated counterclockwise in place
- Fist leaned right, the car drifted right / rotated clockwise in place
- Short press the finger button to switch modes (horizontal run / rotate), long press to mute
2.4G automatic pairing frequency
- Install the batteries inthe remote control, and the remote control indicator will start flash. Then install the battery in the rc car and turn on the switch to start the connection. When the connection is successful, the remote control indicator goes off. (Please repeat the above operation if the connection fails)
- Each remote control can only be connected to one rc car. When the connection is successful, each car will not interfere with each other. (Do not connect multiple cars at the same time)
- If the remote control does not detect the 2.4G signal from the remote control car after one minute, the power indicator flashes, you must restart the power switch to pair the frequency.
- When you need to pair with other models of remote control or remote control car, you need to turn off the power of the remote control and remote control car to re-pair.
Precautions
The battery charger using this toy must be checked regularly to prevent damage to the wires and other parts. If it is damaged, it must be used after the damage is repaired.
Watch Sensor Control Demo
- Fist rises vertically, body twist rises

- Fist goes down vertically, body twist is reduced

- Fist leaned forward, the car forward

- Fist leaned back, the car backed

- Fist leaned left, the car drifted left/rotated counterclockwise in place

- Fist leaned right, the car drifted right / rotated clockwise in place

Battery Installation Instructions
The remote control uses two 1.5V (AA) non-rechargeable batteries. Please install the batteries correctly according to the polarity instructions. (Battery is not included).
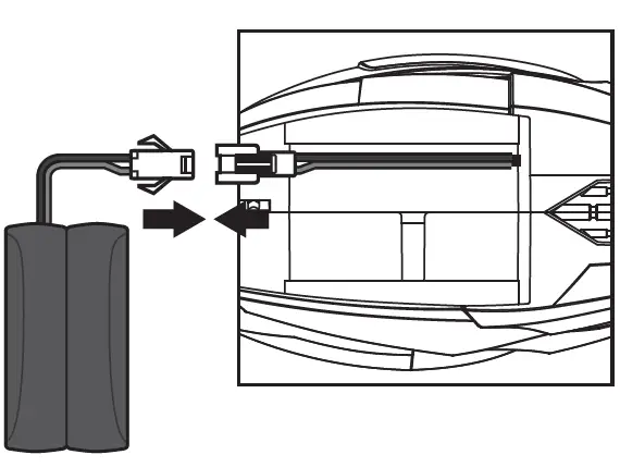
Battery socket to body power socket.
Charging Instructions:
USB Charging Cable Charging Cable Socket Battery Socket Input: 5V Output: 7.2V
- To protect the performance of the battery pack, do not charge the battery pack immediately after use. Leave the battery pack for a few minutes before recharging.
- The USB charger indicator is on during charging, and the indicator is dimmed after charging. The charging time is about 2-3 hours.
- It is normal for the battery pack to generate slight heat during charging.
RC Car Operation Instructions

- Turn on the remote control car switch.
- Operate the remote control’s arrow keys to control the direction of the car.
- Turn off the remote control car switch after use.
- One-click deformation. When the deformation key is pressed, the car will automatically deform.
- If the remote control car does not receive a command for one minute, it will enter the semi-sleep state (the semi-sleep state isnot equal to shutdown, only the power consumption is reduced), and the lights and sounds are turned off. After entering the semi-sleep state, you can wake up by any operation of the remote control.
- If the remote control is not connected to the remote control car for one minute, it will automatically enter the sleep state. You can wake up with any button.
Note: The battery has low voltage protection. It will automatically power off when the voltage is low, and it can be activated after charging.
Battery Precautions
- This product uses one 7.2V rechargeable battery pack. The remote control uses two 1.5V “AA” non-rechargeable batteries.
- The battery should be taken out and installed correctly according to the polarity and voltage signs on the toy battery box, and the battery should not be short-circuited.
- Non-rechargeable batteries cannot be charged.
- The rechargeable battery must be charged under adult supervision.
- The rechargeable battery should be removed from the toy before charging.
- Different types of batteries or old and new batteries cannot be mixed.
- Only use the same or equivalent batteries as the recommended ones.
- The exhausted battery should be removed from the toy. If not used for a long time, please remove the battery from the toy.
- The power terminals should not be shorted.
- Do not connect to more than the recommended number of power sources. During the use of the toy USB cable, it should be regularly inspected for damage to its wires, plugs, casings and other components. When damage is found, it should be stopped until repaired.
General Troubleshooting

Maintenance Matters
- Do not stay near the source of the fire, avoid direct sunlight, high temperature and humidity or keep it in the car for a long time to avoid short circuit and fire.
- Take out the batteries of the remote control car and remote control when not playing, and put the remote control and remote control car back in the color box to avoid damage or deformation during transportation or storage.
- The remote control car must be gently wiped with a damp cloth.
If you have any product questions, or you have any product issues, please contact our e-mail: [email protected].
WARRANTY INFORMATION
Half-year limited warranty: only covers parts caused by manufacturer’s defects within half a year from the date of purchase.
- The warranty is not transferable from the original purchaser.
- The warranty does not cover minor surface defects, tears, tears, or other appearance damage caused by normal use, or other intentional or unintentional equipment damage.
- The warranty does not cover any damage caused by improper use of cleaners, solvents or chemicals, or water damage to the product.
- The warranty does not cover improper repairs or misdiagnosis issues.
- If you believe your product needs any repairor you have questions please contact our e-mail: [email protected].
Please refer to the Product manual for full warranty coverage and specifications.

Scan and email this warranty card to: [email protected].

























