ONN Digital Clock Radio

ONN Digital Clock Radio
Model: AAABLK100008726
We’d love to hear from you. Scan with you Walmaapp and let us know what you think.
Information and Safety Instructions
Need help?
We’re here for you every day
from 7 a.m. – 9 p.m. CST.
Give us a call at 1-888-516-2630
Important Safety Instructions
- Read these Instructions.
- Keep these Instructions.
- Heed all Warnings.
- Follow all instructions.
- Do not use this apparatus near water.
- Clean only with a dry cloth.
- Do not block any ventilation openings. Install in accordance with the manufacturer’s instructions.
- Do not install near any heat sources such as radiators, heat registers, stoves, or other apparatus (including amplifiers) that produce heat.
- Do not defeat the safety purpose of the polarized or grounding-type plug. A polarized plug has two blades with one wider than the other. A grounding-type plug has two blades and a third grounding prong. The wide blade or the third prong are provided for your safety. When the provided plug does not fit into your outlet, consult an electrician for the replacement of the obsolete outlet.
- Protect the power cord from being walked on or pinched particularly at plugs, convenience receptacles, and the point where they exit from the apparatus.
- Only use attachments/accessories specified by the manufacturer.
- Unplug this apparatus during lightning storms or when unused for long periods of time.
- Refer all servicing to qualified service personnel. Servicing is required when the apparatus has been damaged in any way, such as power-supply cord or plug is damaged, liquid has been spilled or objects have fallen into the apparatus, the apparatus has been exposed to rain or moisture, does not operate normally, or has been dropped.
FCC Warnings
Warning: Changes or modifications to this unit not expressly approved by the party responsible for compliance could void the user’s authority to operate the equipment.
NOTE: This equipment has been tested and found to comply with the limits for a Class B digital device, pursuant to Part 15 of the FCC Rules. These limits are designed to provide reasonable protection against harmful interference in a residential installation. This equipment generates, uses, and can radiate radio frequency energy and, if not installed and used in accordance with the instructions, may cause harmful interference to radio communications. However, there is no guarantee that interference will not occur in a particular installation. If this equipment does cause harmful interference to radio or television reception, which can be determined by turning the equipment off and on, the user is encouraged to try to correct the interference by one or
more of the following measures:
- Reorient or relocate the receiving antenna.
- Increase the separation between the equipment and receiver.
- Connect the equipment into an outlet on a circuit different from that to which the receiver is connected.
- Consult the dealer or an experienced radio/TV technician for help.
Additional Warnings and Precautions
- CAUTION: TO PREVENT ELECTRIC SHOCK, MATCH WIDE BLADE OF PLUG TO WIDE SLOT, FULLY INSERT.
- The mains plug is used as a disconnect device and it should remain readily operable during intended use. In order to disconnect the apparatus from the mains completely, the mains plug should be disconnected from the mains socket outlet completely.
- Caution marking is located at the rear or bottom of the apparatus.
- WARNING: To reduce the risk of fire or electric shock, do not expose this apparatus to rain, moisture, dripping, or splashing.
- CAUTION: Use of controls or adjustments or performance of procedures other than those specified may result in hazardous radiation exposure.
- WARNING: Changes or modifications to this unit not expressly approved by the party responsible for compliance could void the user’s authority to operate the equipment.
- WARNING: Do not place this unit directly onto furniture surfaces with any type of soft, porous, or sensitive finish. As with any rubber compound made with oils, the feet could cause marks or staining where the feet reside. We recommend using a protective barrier such as a cloth or a piece of glass between the unit and the surface to reduce the risk of damage and/or staining.
- CAUTION: Danger of explosion if the battery is incorrectly replaced. Replace only with the same or equivalent type.
- WARNING: Shock hazard – Do Not Open.
- The battery shall not be exposed to excessive heat such as sunshine, fire, or the like.
- Keep new and used batteries away from children. If the battery compartment does not close securely, stop using the product and keep it away from children.
- WARNING: DO NOT INGEST BATTERY, CHEMICAL BURN HAZARDS. If you think batteries might have been swallowed or placed inside any part of the body, seek immediate medical attention.
- If the coin/button cell battery supplied with this product is swallowed, it can cause severe internal burns in just 2 hours and can lead to death.
- Completely replace all old batteries with new ones.
- Batteries should be recycled or disposed of as per state and local guidelines.
Overview


Power & Batteries
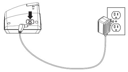
To power, the unit, plug the AC adaptor on the back of the unit into a standard power outlet.
To power, the unit using battery power, insert 2 AAA batteries (not included). The battery backup is intended for short power outages only. The clock radio’s primary functions cannot run on battery backup alone.
Note: Do not mix old and new batteries and Do not mix alkaline, standard (carbon-zinc) or rechargeable (ni-cad, ni-mh, etc.) batteries.
Clock & Sleep Timer
Setting the Clock
- If in Radio Mode, press and hold the Power/Source/Al Off button to turn the unit off.
- Press and hold the Clock/Mem button until the display begins to blink, then release the button.
- Press the Hour button to adjust the hour. The PM indicator will light when the hour is set in the PM.
- Press the Min button to adjust the minute.
- Press the Clock/Mem button to finish setting the time.
Setting the Sleep Timer
Note: There may be up to a 1-minute deviation in the sleep timer.
- Press the Snooze/Sleep button repeatedly to set the sleep timer ( 90, 80, 70, 60, 50, 40, 30, 20, 10 or OFF ).
- Once the set sleep time has expired the clock radio will automatically power off.
Alarm
Setting the Alarm
- If in Radio Mode, press and hold the Power/Source/Al Off button to turn the unit off.
- Press the AL1 or AL2 button until the display begins to blink.
- Press the Hour button to adjust the hour. The PM indicator will light when the hour is set in the PM.
- Press the Min button to adjust the minute.
- Press the AL1 or AL2 buttons repeatedly to switch between Radio and Buzzer.
- Once the set alarm time is reached, the alarm will sound.
- To set the other alarm, follow the above steps and choose the alarm not currently set.
Disabling the Alarm
• Press the AL1 or AL2 buttons repeatedly until the indicator is no longer lit.
Snooze and Alarm Reset
After the alarm sounds:
• Press the Snooze/Sleep button to delay the alarm for several minutes.
• Press the Power/Source/Al Off button to turn the alarm off until the set alarm time is reached again.
Radio
Tuning the AM or FM Radio
- Press the Power/Source/Al Off button to turn the clock radio on.
- Press the Power/Source/Al Off button again to switch between AM and FM Radio Mode.
- Press the Tun+/- buttons to adjust the radio to the desired frequency.
- Press and hold the Tun+/- buttons to search for the next available frequency.
- Press the Vol+/- buttons to adjust the volume.
- Press and hold the Power/Source/Al Off to turn the radio off.
Saving and Tuning to a Station as a Preset
- Tune to the desired station.
- Press the Clock/Mem button to cycle through preset radio stations.
- Press Tun+/Tun- to select which preset you want to save the station to. Up to 10 stations can be saved.
- Press the Clock/Mem to save the selected station.
- To cycle through presets press the Clock/Mem button and press the Tun+/Tun- to select which preset you want to listen to.
Radio Reception
A wired FM antenna is built into the clock radio and exits from the rear of the unit. To improve radio reception, adjust the position of the antenna, or if need be, adjust the position of the clock radio.
DOWNLOAD RESOURCES
- ONN Digital Clock Radio [pdf] User Guide Digital Clock Radio, AAABLK100008726
- Read more: https://#manualsee.com/onn/digital-clock-radio-manual#ixzz7dbHjWovD
FAQ’S
Setting the Time of the Clock Radio
Plug the power cord of the clock radio into a working electrical outlet.
On the clock radio, press and hold the CLOCK button for 2 seconds.
Release the CLOCK button.
Press the TIME SET+ or TIME SET- button to select the hour.
Press the CLOCK button.
To deactivate the alarm on the AM/FM clock radio, press the ALARM SET A or ALARM SET B button. NOTE: The ALARM A or ALARM SET B indicator will disappear from the upper left-hand corner of the display indicating that ALARM A or ALARM B is no longer activated
Set time, date & time zone
Open your phone’s Clock app .
Tap More. Settings. To pick your home time zone: Tap Home time zone. To automatically update your timezone: Tap Change date & time. Set time zone automatically. To update your timezone based on your location: Tap Change date & time Set time zone automatically.
Yes, it does.
Press the power button to turn it on.
Press and hold the power button until the unit turns off.
To set the alarm, press and hold the alarm button until you hear a beep, then use the volume up/down buttons to set your alarm time. Once you have set your alarm time, press and hold the alarm button again until you hear a beep, then press and release the power button to confirm your settings. To cancel your alarms, press and hold the snooze/alarm cancel button until you hear a beep, then press and release the power button to confirm your settings.
The alarm will not sound as it is already too late in that case. It will still sound if you try to set an alarm for a time in the future though!
Set an alarm
Open your phone’s Clock app.
At the bottom, tap Alarm.
Pick an alarm. To add an alarm, tap Add . To reset an alarm, tap its current time.
Set the alarm time. On the analog clock: slide the hand to the hour you want. Then slide the hand to the minutes you want.
Tap OK.
If you don’t actually hear your alarm, you could just naturally be a heavy sleeper. According to Dr. Guy Meadows, co-founder and clinical lead at Sleep School, research suggests that deep sleepers have more sleep spindles, a form of brain activity during non-rapid eye movement (NREM) sleep.
To change the clock format, click the ••• to the right of the clock and then click the switch next to 24-hour clock. When you switch to the 12-hour format, the AM/PM unit will display for a moment and then fade away to keep the interface clean.
It’s a colon; this is one of its uses. It’s a colon.
www://onn.com/




















