
SANITIZING WAND
Model: SW-9374
BEFORE USING YOUR WAND, READ THESE IMPORTANT INSTRUCTIONS.
FOR YOUR SAFETY
DANGER:
- To avoid electrocution, do not operate this device near water.
- Always direct the UV-C light AWAY from the eyes and skin. Direct prolonged exposure of eyes or skin to the UV-C light bulb can cause serious skin burn and eye inflammation from short wave ultraviolet radiation. Radiation from these lamps is harmful to the eyes and skin.
- The application of UV-C light to existing mold growth can cause respiratory irritation and allergic symptoms. Do not use UV-C light where active mold growth exists. Remove active mold growth from surface prior to exposure of the UV-C light.
WARNING:
- This product should not be handled or used by children to prevent accidental exposure to UV-C rays.
- NEVER use this product on pets or people. The product has been designed for use on hard surfaces.
- This bulb contains a trace amount of mercury. For safe handling, cleanup, disposal and recycling in accordance with applicable laws in US see www.epa.gov/cfl and in Canada, please visit www.lightrecycle.ca
- This product contains mercury, a chemical known to the State of California to cause birth defects or other reproductive harm.
- Leakage of batteries may cause damage to the wand. If the battery is found to be leaking do not use the product. Avoid direct skin or eye contact with the material leaking from the battery. Please be responsible and dispose of the batteries per local regulations.
CAUTION:
- Do not leave product unattended while on.
- No serviceable parts. Refer all servicing to qualified service personnel. Servicing is required when the product is damaged in any way, for example, if the product has been exposed to liquid or moisture and does not operate normally, or has been dropped and does not operate normally.
- Care should be taken to prevent bulb breakage.
- The product should not be exposed to dripping or splashing. No objects filled with liquids, such as bowls or glasses filled with liquid, should be placed on or near the product.
- Not intended for use on food, people or pets.
- With prolonged or overexposure, UV-C light may degrade, discolor and/or bleach fabrics, plastic and rubber. Do not hold product static over any surface for more than 1 minute.
- Remove batteries when not in use.
- Changes or modifications to this product not expressly approved by the party responsible for compliance could void the user’s authority to operate the product.
2
OPERATING INSTRUCTIONS
This appliance contains a UV emitter. Do not stare at the light source.
Read all danger, warning, and caution statements before operating this device. Do NOT look directly at the UVC bulb or shine on skin. Keep out of reach of children. Keep this manual for future reference.
Install Batteries
- Open the battery cover. Insert 4 new AA Alkaline batteries (not included) into the battery compartment and close the cover. (Fig. 1)

Turning On Wand
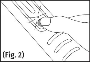
- Press the blue power switch. (Fig. 2)

Note: UVC bulb will only turn on when the bulb is pointed downward. This safety feature includes a switch that will make a rattling sound — this is a normal function. (Fig. 3)

Sanitize
- Move the wand slowly (1 inch per second) over hard surface keeping the wand 1/2 inch from surface, then reverse direction to re-expose the same area. Repeat for a total of 4 passes over same area. (Fig. 4)
Note: Germs, viruses, and bacteria are sanitized when UVC light shines directly on them. If they are in shadows, they will not be sanitized.
Turning Wand Off
- Press the blue power button to turn off the wand. (Fig. 2)
3
SANITIZING TIPS
Germs, viruses, and bacteria are sanitized when UVC light shines directly on them. If they are in shadows, they will not be sanitized.
Counter tops, computer keyboards, and other large items
• Move the wand slowly (1 inch per second) in one direction over object keeping the wand 1/2 inch from surface, then reverse direction to re-expose the same area. Repeat for a total of four passes. Overlap areas being exposed by 1 inch to ensure exposing the entire surface.
Kitchen utensils, telephone handsets, keys, baby toys, and other small objects
• Place items on a counter, away from water. Do NOT hold objects in hand. Move the wand slowly (1 inch per second) over the object 1/2 inch from the surface exposing all of the object to the UV-C light. Repeat for a total of four passes. Turn object and repeat for all sides. This will help ensure the UVC light is shining into hidden areas.
Personal hygiene items (hair brushes, toothbrushes, jewelry, razors)
• Place items on a counter, away from water. Do NOT hold objects in hand. Move the wand slowly (1 inch per second) over the object keeping the wand 1/2 inch from the object. Repeat for a total of four passes. Turn object and repeat for all sides. This will help ensure the UVC light is shining into hidden areas.
Face masks
• This product is not recommended for sanitizing cloth or fabric face masks.
4
FEATURES
The Suncatcher™ Personal Sanitizing Wand provides effective protection from germs, viruses, bacteria, dust mites and mold throughout your home. Used regularly on surfaces throughout your home to disinfect (in addition to regular cleaning of bedding, floors and other surfaces), it will protect your home without the use of sprays or harsh chemicals.
- Kills up to 99.9%† of viruses & germs on hard surfaces.
- Kill germs† on cellphones, remote controls and money in seconds. ǂ
- Destroys bacteria & allergens.*
- Ideal for foreign objects entering your home.
- Sanitizes without chemicals.§
- Sanitize bathroom surfaces quickly and easily without chemical residue.§
† UV-C light kills up to 99.9% of germs, viruses and other micro-organisms on hard surfaces. Note that sanitizing times and effectiveness may vary for non-solid surfaces.
‡ Studies are based on laboratory tests. UV-C light is effective on test organisms, in the laboratory on hard surfaces, under controlled conditions. MRSA refers to Methicillin-Resistant; H1N1 refers to A/Swine/Iowa Swine Influenza A (ATCC 333). Staphylococcus Aureus (ATCC 33592).
* UV-C direct light exposure is effective on certain allergen producing organisms such as Mold A and a reduction in dust mites.
§ When used as directed.
WHAT IS UV-C LIGHT?
UV stands for ultraviolet light. Ultraviolet light represents the frequency of light between 100 nanometers (nm) and 400nm and cannot be seen with the naked eye.
Within the UV spectrum lie three distinct bands of light: UV-A, UV-B and UV-C.
- UV-A (400nm-315nm): The long wave UV light (315nm to 400nm) or UV-A refers, to what we commonly call “black light.” This is the longest wavelength region and has the lowest energy. UV-A represents the largest portion of natural UV light.
- UV-B (315nm-280nm): The UV-B (280nm to 315nm), or mid-range UV, causes sunburn.
- UV-C (280nm-100nm): The germicidal UV light (100nm to 280nm), or UV-C, is effective in microbial control.
Scientific research has proven that the most effective frequency for microbial destruction is between 280nm and 200nm, which is within the UV-C band. Therefore, as long as the nm frequency of a germicidal lamp is well controlled within that range, the microorganisms will be destroyed effectively.
Please note: Opportunities for infection are abundant and virtually everywhere, so it is important to realize that use of the Suncatcher Personal Sanitizing Wand does not guarantee that the user will avoid illness. To avoid microbial infection, one must take a wide range of precautions. Use of the Suncatcher Personal Sanitizing Wand is an important precaution, but not the only precaution that one should take to protect oneself.
5
WAND TROUBLESHOOTING
The Suncatcher Personal Sanitizing Wand Will Not Turn On
- Be sure the Personal Sanitizing Wand is horizontal, with the bulb facing downward.
- Install 4 new batteries.
- Open battery compartment and remove batteries. Wait at least two seconds. Replace batteries. Try again.
For additional support, contact us at [email protected] or call 847-783-5900 ext. 107.
WARNING:
Do not expose eyes or skin directly to UV-C light. Keep this device out of the reach of children at all times.
TECHNICAL SPECIFICATIONS
Environment
Operating Temperature: 15°C to 35°C (59°F to 95°F)
Storage Temperature: 0°C to 40°C (32°F to 104°F)
Relative Humidity: 5% to 95% non-condensing
UV-C Bulb
3 Watt UV-C bulb; non-replaceable
Battery
4 standard AA batteries (not included)
| Size: | 10.4” L x 1.6” W x 1.5” H |
| Weight: | 0.3 lbs. |
| UV-C Lamp: | 3W DC Lamp |
| UV Wavelength: | UV-C (253.7nm) |
| Power Supply: | Alkaline Batteries (4 X AA) – (NOT INCLUDED) |
FCC INFORMATION:
The Suncatcher™ Personal Sanitizing Wand complies with Part 15 of the FCC Rules. Operation is subject to the following two conditions: (1) this device may not cause harmful interference, and (2) this device must accept any interference received, including interference that may cause undesired operation.
Changes or modifications to this product not expressly approved by the party responsible for compliance will void the user’s authority to operate the product and the warranty.
6
WARRANTY
Register your product online at www.suncatcherlight.com.
Suncatcher, Inc., warrants this product to be free from defects in material and workmanship for a period of one year from the date of the original retail purchase from an authorized Suncatcher distributor. If, during the first year of ownership, this product fails to operate properly, return it as instructed here.
Proof of purchase is required for all warranty claims. During the limited warranty period, Suncatcher, Inc. will, at its option, repair or replace defective parts of this product, at no charge to the customer, subject to these limitations: This limited warranty does not include any postage, freight, handling, insurance or delivery fees.
This warranty does not cover damage, defect or failure caused by or resulting from accident, external destruction, alteration, modification, abuse, misuse or misapplication of this product.
Return Authorization is required for all returns. To obtain a Return Authorization, please contact us at [email protected] or call 847-783-5900. Due to ongoing improvements, your Suncatcher Personal Sanitizing Wand may vary slightly from the one described in this manual.

A division of Waters Industries, Inc.
213 W. Main Street, West Dundee, IL 60118 USA
13007181C_SUNCATCHER_SW-9374_MAN_PRODUCTION
7




















