AVA TOAST 184MDT4 Medium Duty Pop-Up Toaster

SAFETY
When using electrical appliances, basic safety precautions should always be followed, including the following:
- Read all instructions carefully and completely.
- For commercial use only.
- DO NOT touch hot surfaces.
- Protect against electrical shock by keeping all cords, plugs, and other electrical components away from water or other liquids.
- Unplug this unit when not in use and before cleaning.
- Allow the unit to cool before putting on or taking off parts.
- DO NOT operate this or any appliance with a damaged electrical cord or plug.
- DO NOT operate this or any appliance after it has malfunctioned or has been damaged in any way.
- DO NOT use outdoors.
- DO NOT place on or near a hot gas or electric burner.
- Attach plug to appliance first, then plug electrical cord into the wall outlet.
- Disconnect the unit by removing the electrical plug from the wall outlet.
- DO NOT use appliance for any application other than intended use.
- DO NOT insert metal utensils or oversized foods into this unit, as they may cause a fire and heighten the risk of electrical shock.
- DO NOT store any item on top of this unit when in operation.
- O NOT allow this oven to touch or to be covered by flammable material, such as curtains, draperies, walls, etc., when in operation.
- DO NOT clean with metal scouring pads, as pieces can break off and touch electrical components, heightening the risk of electrical shock
- Never place materials such as paper, cardboard, plastic, etc. in this oven
- DO NOT cover interior of this unit with metal foil, as it may cause the oven to overheat.
- Avoid scratching the surface or nicking the edges of this unit. If the oven is damaged or broken, contact customer service before use.
- Turn off the appliance by removing the plug from the wall outlet.
- Note that the use of accessories not recommended by the manufacturer may result in injury.
- Children should be supervised to ensure that they DO NOT play with the oven.
- This appliance is not intended for use by persons (including children) with reduced physical sensory or mental capabilities, or lack of experience and knowledge, unless a person responsible for their safety has given them supervision or instruction concerning use of the appliance
- When using the appliance in shops, snack bars, hotels etc., check the voltage and outlet to make sure the appliance is correctly connected with power
- Place unit on a flat surface that is well ventilated. The appliance must be supervised during operation. DO NOT leave appliance without powering off.
NOTE: Save these instructions for future reference.
KEY PARTS

- Crumb Tray
- Bown Level Control Knob
- Foot
- Side Panel
- Slot
- Slot
- Lift Carriage
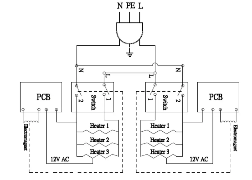
CIRCUIT DIAGRAM

BEFORE USING YOUR OVEN
Before cooking anything in your oven for the first time, please follow these simple instructions:
- Use a damp cloth to wipe the interior and shell.
● DO NOT use a spray or abrasive polishing agent
● DO NOT wash or soak this oven with water - Preheat to its highest temperature setting for 5 minutes.
● The heating elements are well lubricated, and this initial use will help burn off the extra grease.
● A light amount of smoke is normal during this process.
USING YOUR OVEN
- Load the food.
- Set desired brown level.
● There are 2 Brown Level Control Knobs on the front panel of the oven. Each one controls the 2 slots above. Set the desired brown level with the knobs before pressing down the Lift Carriage. - Press the Lift Carriage down; the oven will start heating.
- Once the toasting cycle is complete, the oven will ‘ding’ and the food will pop up automatically.
● If you need to cancel cooking before the cycle is completed, raise up the Lift Carriage. Food will pop up, and the cycle will end.
CAUTION: During the baking process, make sure that no metal accessory comes in contact with the electric heating elements.
CAUTION: Foods baked in this oven will be hot. Use tools when reaching into the oven to retrieve food
TYPICAL OPERATION SEQUENCE
| ACTION RESULT | |
| Plug in your oven | Power is connected, and oven is ready for cooking |
| Load food into the slot | Food is ready to be cooked |
| Adjust brown level control knob | Set the brown level of food |
| Press the lift carriage down | Oven starts heating |
| Raise up the carriage | Oven stops toasting |
| Unload oven | Product will be cooked/hot; use caution while removing |
CLEANING & MAINTENANCE
- Unplug the power cord from the wall outlet.
- Wait for the oven to cool.
- Use a damp cloth or sponge to gently wipe down the inside of the oven.
CAUTION: DO NOT soak this oven in water or use running water to clean it.
THIS WILL CAUSE SERIOUS DAMAGE TO THE UNIT.
TROUBLESHOOTING
PROBLEM: The oven does not become hot after being switched on.
- Be sure that the brown level is set.
- Be sure that the lift carriage is pressed down.
PROBLEM: There is a metallic sound when the oven is in use.
- DO NOT attempt to dismantle your oven.
- Discontinue use, and contact your service agent right away for examination.
PROBLEM: Food is often overcooked or burned.
- Check that the brown level is correctly set.
- Contact your service agent for examination.

| Model # | MDT4 |
| Voltage | 120V |
| Hertz | 60Hz |
| Wattage | 1800W |
| Dimensions | 12”W x 10½”D x 7¾”H |
| Unit Weight | 6 lb. |
| Shipping Weight | 7.4 lb. |
| Slot Size | 13/8” |
| Plug | NEMA 5-15P |
| # | Part | Specification | Quantity |
| 1 | Shell | SUS430 | 1 |
| 2 | Side Panel | SUS430 | 2 |
| 3 | Junction Plate | Aluminum | 2 |
| 4 | Interior Assembly | 900W | 2 |
| 5 | Corner Cushion | ABS | 2 |
| 6 | Base Assembly | ABS | 1 |
| 7 | Foot Cushion | Rubber | 4 |
| 8 | Power Cord | 3x16AWG | 1 |
| 9 | Crumb Tray | Galvanization Board | 2 |
| 10 | Crumb Tray Gusset Plate | ABS | 2 |
| 11 | PCB | PCB | 2 |
| 12 | Brown Level Control Knob | ABS | 2 |
| 13 | Magnet Plate | EGI | 2 |
| 14 | Lift Carriage | ABS | 2 |
| 15 | Lift Supporter | ABS | 2 |
| 16 | Lift | EGI | 2 |
| 17 | Fixture Bracket | ABS | 2 |
| 18 | Interior Connecting Plate | EGI | 2 |
EQUIPMENT LIMITED WARRANTY
AvaToast warrants its equipment to be free from defects in material and workmanship for a period of 1 year. This is the sole and exclusive warranty made by AvaToast covering your AvaToast brand equipment. A claim under this warranty must be made within 1 year from the date of purchase of the equipment. Only the equipment’s original purchaser may make a claim under this warranty. AvaToast reserves the right to approve or deny the repair or replacement of any part or repair request.
The warranty is not transferable. AvaToast Equipment installed in/on a food truck or trailer will be limited to a period of 30 days from the original date of purchase.
To Make a Warranty Claim:
For Warranty Inquiries contact the location where you purchased the product:
- WebstaurantStore.com: Contact [email protected]. Please have your order number ready.
- The Restaurant Store: If you purchased this unit from your local store, please contact your store directly.
- TheRestaurantStore.com: Online purchases, call 717-392-7261. Please have your order number ready.
Failure to contact the designated location prior to obtaining equipment service may void your warranty.
AvaToast makes no other warranties, express or implied, statutory or otherwise, and HEREBY DISCLAIMS ALL IMPLIED WARRANTIES, INCLUDING THE IMPLIED WARRANTIES OF MERCHANTABILITY AND OF FITNESS FOR A PARTICULAR PURPOSE.
This Limited Warranty does not cover:
- Equipment sold or used outside the Continental United States
- Use of unfiltered water (if applicable)
- AvaToast has the sole discretion on wearable parts not covered under warranty
- Equipment not purchased directly from an authorized dealer
- Equipment used for residential or other non-commercial purposes
- Equipment that has been altered, modified, or repaired by anyone other than an authorized service agency
- Equipment where the serial number plate has been removed or altered.
- Damage or failure due to improper installation, improper utility connection or supply, and issues resulting from improper ventilation or airflow.
- Defects and damage due to improper maintenance, wear and tear, misuse, abuse, vandalism, or Act of God.
Any action for breach of this warranty must be commenced within 1 year of the date on which the breach occurred. No modification of this warranty, or waiver of its terms, shall be effective unless approved in a writing signed by the parties. The laws of the Commonwealth of Pennsylvania shall govern this warranty and the parties’ rights and duties under it. AvaToast shall not under any circumstances be liable for incidental or consequential damages of any kind, including but not limited to loss of profits.



















