Assembly Instructions
3.3 m LED Free Arm Parasol PLD33

IMPORTANT
PLEASE KEEP THIS BOOKLET FOR FUTURE REFERENCE.
THIS IS IMPORTANT INFORMATION REGARDING THE USE AND CARE OF YOUR GARDEN FURNITURE.
![]()
Parts List
| Part |
| Description Parasol | Qty 1 |
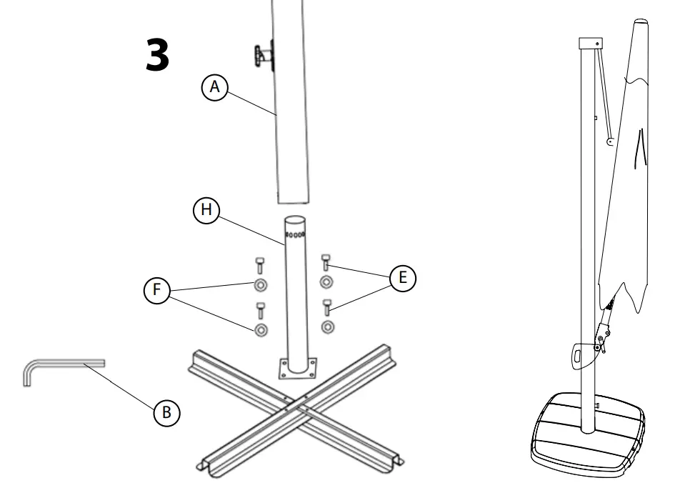
| A | |||
| B | Allen Key | 1 | |
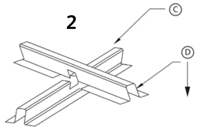
| C | Base Frame | 1 | |
| D | Base Frame | 1 | |
| E | Bolt | 4 | |
| F | Washer | 4 | |
| G | Cover | 1 | |
| H | Post | 1 | |
| I | Base Weight Segments | 2 | |
| J | Caps | 4 | |
| K | Removable Battery pack | 2 | |
| L | USB Cable | 1 | |
| M | Wireless Speaker | 1 |
Helpful advice before you begin:
- We suggest you spend a short time reading through this leaflet and then follow the simple step by step instructions.
- Do not discard any of the packaging until you have checked that you have all the parts and the pack of fittings.
- Assemble this product on a soft surface.
- To ensure an easier assembly, we strongly advise that all fittings are only finger tightened during initial assembly. Only upon completion of the assembly should all fixing points be fully tightened.
- Keep fittings out of children’s reach.
- Do not use any other tools other than those recommended to build this product.
- Please do not use substitute parts. Use only additional or replacement parts supplied by Kettler.
- In the unlikely event that this product has missing or damaged parts, please visit our website www.kettler.co.uk
Assembly

Each section of the base requires 20kg of sand and then needs to be topped up with water. Water alone will not support the parasol.
Tip: use kiln dried sand for easier filling.



Operating Instructions


The parasol will rotate 360 degrees by pulling out the knob and turning the knob 180 degrees.

Assembly

Disassembly

The parasol should be closed and the night cover fitted in windy conditions and when not in use. Failure to do this may result in damage to the parasol.

Protective cover assembly:
- Assemble the 3 part fibleglass rods in sequence and insert into the slit in fabric at bottom of zip.

- Place cover over the parasol and frame and zip down.
Parasol Wireless Speaker with LED Light

Functions
- Bluetooth Switch
- LED Light Power Switch
- Unlock Button
- LED Light
- Charging Port

Unscrew and pull down middle section and attach the Wireless speaker here.
Charging:
- Charge for 2-4 hours for the 1st charge.
- Plug the adapter in the charging port and plug into the power supply (100-240V).
- We recommended 1.2amp maximum output. Anything over this continuous use could result in reduced life span of the battery.
- When charging the red light will light up and go off when fully charged.
- Always charge in a dry environment.
User guide:
- To turn on, hold down the wireless switch for 3 seconds.
- Turn on your device’s Wireless function and search for “Kettler”.
- The run time is approx. 6-10 hours.
- To turn the light on/off press the “LIGHT” button.
Warning:
- Wireless connectivity will turn off when not used for 15 minutes.
- The sound quality will be reduced when the battery is low.
- Use wirelessly for upto 8-10metre range. Any more than this will affect the sound quality.
- Only one device can be connected at any one time.
- Do not allow the speaker unit to get wet.
- Store in a dry place when not in use.
Information
![]()
This parasol has UV50+ protection. What does that mean?
For example, a fabric with a UPF rating of 50 only allows 1/50th of the sun’s UV radiation to pass through it. This means that this fabric will reduce your skin’s UV radiation exposure by 50 times (98% UV block).
Hand wash canopy
The canopy can be carefully removed and washed via hand only. We advise putting back onto the frame to dry naturally.
For Your Safety
- This product may only be used for its intended purpose as furniture for residential properties.
- Check all components regularly for correct function, damage and loose connections especially at the start of the season and at 1-2 month intervals dependent on use.
- Damaged components may endanger your safety or shorten the life of the product. Replace all damaged parts immediately. Use only spare parts manufactured by Kettler. Should you wish to purchase spare parts, they can be ordered directly from: www.kettler.co.uk/shop
- Kettler will not be responsible for damaged caused by improper use.
Attention - Whilst assembling this product keep out of the reach of children. (Choking hazard –contains small parts)
- Ensure that your working area is free of possible sources of danger, for example don’t leave any tools lying around.
- Always dispose of packaging material in such a way that it may not cause any danger. There is always a risk of suffocation if children play with plastic bags!
- We reserve the right to make changes for technical reasons.
The symbol indicates that the product should not be discarded as unsorted waste but must be sent to separate collection facilities for recovery and recycling.
12
Month
Warranty
Warranty For Home Use
KETTLER parasols are covered by a 12 MONTH WARRANTY.
The warranty applies to domestic use only.
The warranty does not cover accidental damage (including wind damage) or mis-use.
To validate your warranty, register at www.kettler.co.uk and quote the product code from the front of this booklet.


















