
SAFETY INSTRUCTIONS
Read the operating instructions carefully before use. Save these instructions for future reference.
- The machine must only be used as it is intended to be used and in accordance with these instructions.
- Do not immerse the appliance in water or any other liquid – risk of electric shock.
- Set the temperature knob to Min. before unplugging or plugging in the power cord. Do not pull the power cord to unplug the plug.
- Do not allow the power cord to come into contact with the hot surfaces. Allow the machine to cool before putting it away.
- Unplug the power cord before filling/emptying water, prior to cleaning and when the appliance is not in use.
- Do not use the appliance if it is damaged or not working properly, or if the power cord or plug are damaged. Do not dismantle the appliance or try to repair it – risk of electric shock. Repairs must only be carried out by qualified personnel.
- Close supervision is required when the appliance is used by or near children. Never leave the appliance switched on or unattended on the ironing board.
- Risk of burn injury and/or scalding as a result of hot parts, hot water and/or steam. Be careful when turning the appliance up and down – hot water in the reservoir can cause scalding.
- Unplug the power cord and contact your dealer if the appliance does not function normally.
- The appliance is designed to be stored vertically on its rear heel. Never leave the appliance unattended when switched on. Do not place the appliance vertically on its rear heel on fragile or unprotected surfaces.
TECHNICAL DATA
- Rated voltage: 230 V ~ 50 Hz
- Rated output: 1800W
- Cord length: 1.9 m
- Water tank, volume: 260 ml
- Dimensions: L270 x W115 x H130 mm
- Weight: 944g
- Continuous steam: 0-25 g/min
- Steam burst: 70 g/min
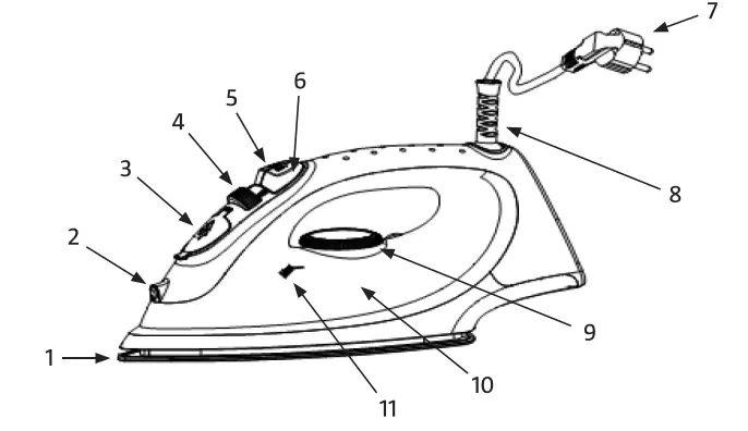
DESCRIPTION

- Soleplate
- Spray nozzle
- Filling cover for water
- Steam knob (on/off)
- Steam burst button
- Spray button
- Textile cord with plug
- Swivel cord attachment
- Temperature knob
- Water tank
- MAX. filling level
USE
When the product is new
Remove any plastic protection from the soleplate and clean with a soft cloth. Run the iron over a spare piece of cloth before using for the first time. An odour may be present when the product is new, this is completely normal and soon stops.
Before use
- Check that the mains voltage corresponds to the rated voltage on the type plate.
- There is a voltage selector (120 VAC/220-240 VAC) on the base of the appliance. Check that the voltage selector setting corresponds with the mains power supply where the appliance is being used. An incorrect setting can result in electric shock and/or damage to property.
- Make sure no other appliances are connected to the same circuit as the appliance, this could cause overloading.
Filling with water
- Unplug the power cord.
- Turn the steam control (4) to the”” position.
- Fill the water tank (fig. 1).
- Demineralized water is recommended for hard water. Do not use scented or chemically descaled water.
- Place the iron upright and check that the level does not exceed MAX (fig. 2).

Temperature setting
- Check the ironing instructions for the garment in question.
- If there are no ironing instructions for the garment, but you know what material it is made of, use the settings as set out below.
- Glossy or coated fabric, fabric with pleats and the like can be ironed at the lowest temperature setting.
- For mixed materials, e.g. 40% cotton and 60% polyester, use the temperature setting for the material that withstands the lowest temperature.
- Turn the temperature knob so that it points to the desired temperature setting as set out below.
- nylon and other synthetic materials
- wool, silk and fabric blends
- cotton and linen (steam)
Tips
- Sort the garments to be ironed according to the temperature they can withstand (wool with wool, cotton with cotton, etc.). Start with garments that have the lowest ironing temperature, for example, synthetics. Continue with garments that withstand a higher temperature.
- For mixed materials, e.g. 40% cotton and 60% polyester, use the temperature setting for the material that withstands the lowest temperature.
- Use a low temperature for garments with spangles, embroidery, and applications etc.
- If you are unsure of the temperature the material can withstand, try ironing a concealed part of the garment. Start with a low temperature and gradually increase to a suitable temperature.
- Never iron over stains. The heat will cause stains to burn into the material.
- Use a medium temperature when ironing without steam. A high temperature can leave yellow marks.
- Iron silk, woollen and synthetic garments from the reverse side to avoid leaving marks.
- Iron velvet in the direction of the fibres and do not press on the iron to avoid making the material shiny.
- Many fabrics are easier to iron when they are not completely dry for example, silk should also be ironed when damp.
- Garments become more wrinkled if the washing machine is full and when spin drying at high speed.
- It is important that the soleplate is smooth. Do not run the iron over hard objects, such as buttons, zips, parts of the ironing board and the like.
- Fibres of 100% wool can be ironed. Set a large amount of steam and use a dry ironing cloth.
Ironing with steam
NOTE: Steam ironing is only possible at a high-temperature setting. At lower temperatures, water can escape through the soleplate.
- Unplug the power cord if it is connected.
- Fill the water tank.
- Plug in the power cord.
- Turn the steam control (4) to the “0” position.
- Set an appropriate temperature by turning the temperature knob (9) to the position indicated by the ironing instruction label.
- Wait until the status lamp goes out to show that the set temperature has been reached.
- Place the iron on its rear heel during breaks in the ironing and when finished.
- Unplug the power cord. Drain any remaining water and allow the appliance to cool.
Steam burst – extra steam
Used for difficult creases.
- Turn the temperature knob (9) to the Max position and wait until the status lamp goes out.
- Press down the button (5) for an extra steam burst. Wait a few seconds, so that the steam has time to penetrate into the fibres, before you press the button again.
NOTE: For best results, do not use the function more than three times in succession in the same position. The button will need to be pressed several times to activate the function for the first time. Excessive use means the iron will cool down. Do not use the function until the status lamp has gone out.
Ironing without steam
- Empty the water reservoir.
- Turn the steam control to”” and set the required temperature with the temperature knob.
- Plugin the power cord. When the iron has reached its set temperature the status lamp will go out.
NOTE: If there is water in the water tank and the temperature knob is turned to••• steam will be released automatically.
Spray function
The spray function can be used at all temperatures, with and without steam, provided there is water in the tank.
- Press down the spray button to spray water.
NOTE: The button will need to be pressed several times to activate the function for the first time.
IMPORTANT: The status lamp comes on during ironing to indicate that the iron is heating up to maintain the selected temperature. If you lower the temperature after ironing at a high temperature, do not start ironing until the light comes on again.
MAINTENANCE
Cleaning and maintenance
- Unplug the power cord before cleaning and filling/emptying water and when the appliance is not in use.
- Do not use abrasive detergents.
- Never fill the water tank with anything other than water.
- Wipe the machine with a damp cloth.
Soleplate
- It is important that the soleplate is smooth. Do not run the iron over hard objects, such as buttons, zips, parts of the ironing board and the like.
Clean the soleplate with a coarse cloth soaked in diluted vinegar.
Storage
- Unplug the power cord.
- Turn the steam control (4) to the”” position.
- Turn the temperature knob (9) to the lowest temperature.
- Allow the iron to cool completely.
- Empty the water tank by opening the filling cover (3) and turn the iron upside down and shake it gently.
- Wrap the power cord around the rear of the iron and secure it with the power cord clip.
- Store the iron vertically on the heel in a dry and safe place.
NOTE: A damaged power cord must be replaced by an authorised service centre, or qualified person, to ensure safe use.
TROUBLESHOOTING
|
The iron does not get hot. | – The appliance must be connected to a power outlet with the correct rated voltage. – Make sure that the temperature knob is set to the required temperature. |
|
The iron does not produce steam | – The water tank is empty. Unplug the power cord and allow the iron to cool. Move the steam control to the position and fill with water. Wait until the status lamp goes out to show that the set tempera ture has been reached and turn the steam control to the required setting. |
|
The function extra steam (steam burst) does not work | – The water tank must be at least a 7/4 full. The steam control must be set to steam mode. The iron must be hor izontal. Press the steam button briefly to activate the function. Wait for a few seconds between spraying with steam. Press down steam spray button completely. |
|
The app liance leaks. | – The steam control must be set to “?Qs ” until the set temperature is reached. Too low re erature setting to produce steam. The steam spray function has been used so much that the iron has cooled down. Wait until the set temperature is reached again. |





















