
MOVING MAGNET CARTRIDGE
USERGUIDE

Thank you for choosing the Ortofon Moving Magnet cartridge. At Ortofon we constantly look for new technology to be used in our products, thus we assure the highest level of performance and quality. Refl acting on our extensive experience in industrial design and technological know-how, we present the Ortofon VNL cartridge – a model tailored uniquely to the unrelenting demands of modern turntablists and portables.
WARNING
This phono cartridge is only for mounting on tonearms and must not be used for other purposes.
PLEASE NOTE
To avoid damages to the stylus please keep the stylus guard on the cartridge any time when mounting or dismounting the unit.
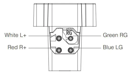
MOUNTING THE VNL CARTRIDGE
- Remove stylus unit with stylus guard before working with leads and screws. Handle all parts carefully.
- Please correlate the colour code for the terminals on the drawing with the colour codings on the VNL cartridge. White L+ Green RG Red R+ Blue LG

- Fasten the VNL cartridge to the headshell using a pair of screws enclosed in the packing. Do not tighten the screws completely before the stylus unit has been remounted.
- Adjust tonearm parallel to record surface, set tracking force acc. to the cartridge’s recommended technical data. For best back-cueing performance use “0” for anti-skating.
For more information please refer to Ortofon DJ FAQ: www.ortofon.com/support/support-dj/faq-setup.
THE OPTIMUM TRACKING
WEIGHT SETTING
Tracking Force Recommended refers to the optimal weight which will result in the best combination of groove holding and sound. Take care not to deviate outside of the Tracking Force Range, as it may result in skipping, poor sound quality, or unnecessary wear on your vinyl.
STYLUS CARE
- Remove dust carefully from record surfaces by using a fine antistatic brush before every use.
- We do not recommend the use of solvents of any kind for cleaning of either record surface or stylus, as they can weaken the stylus or cause damage to the internal
components of the cartridge. - For cleaning the stylus, use a stylus brush a few times along the cantilever in the direction of the stylus tip, whenever you play a new record or change sides. Use
the brush in the forward direction from the rear of the cartridge towards the stylus tip and never from the stylus tip to the rear of the cartridge and never from side to side. - Remove dust from the diamond tip before and after playback of each record.
- Make sure to follow setup guidelines as suggested by the specifi cations found in the manual (or found on our website).
SPECIFICATIONS
![]() | ![]() | ![]() | ![]() |
| Output voltage at 1,000 Hz, 5 cm/sec. Channel separation 1 kHz Frequency Response Tracking ability at 315 Hz at a recommended tracking force Compliance, dynamic lateral Stylus type Tracking force range Tracking force recommended Internal impedance, DC resistance Internal inductance Recommended load resistance Recommended load capacitance Cartridge weight including extra weight VNL premounted on SH-4 | 6 mV 20 dB 20 Hz – 20 kHz –2 / +4 dB 100 µm 16 µm/mN Spherical R 18 µm 3 – 5 g 4 g 700 Ohm 450 mH 47 kOhm 200 – 600 pF 6.5 g 16.0 g | 6 mV 20 dB 20 Hz – 20 kHz –2 / +4 dB 90 µm 15 µm/mN Spherical R 18 µm 3 – 5 g 4 g 700 Ohm 450 mH 47 kOhm 200 – 600 pF 6.5 g 16.0 g | 6 mV 20 dB 20 Hz – 20 kHz –2 / +4 dB 90 µm 14 µm /mN Spherical R 18 µm 3 – 5 g 4 g 700 Ohm 450 mH 47 kOhm 200 – 600 pF 6.5 g 16.0 g |

http://www.ortofon.com/dj/products/dj-cartridges
Get more information about Ortofon DJ cartridges
Ortofon A/S
Stavangervej 9
DK-4900 Nakskov
Denmark
[email protected]
www.ortofon.com























