BEST BUY essentials BE-ANT600HA Amplified Ultra-Thin Film Indoor HDTV Antenna User Guide
Before using your new product, please read these instructions to prevent any damage.
Package contents
- Antenna
- Plastic antenna base
- Power adapter
- Power inserter
- Double-sided tape
- Fixing pins (2)
- Quick Setup Guide
Features
- 50 miles (80 km) range* for reception in most locations
- Advanced amplifier design boosts performance while minimizing noise and interference for the very best picture
- Wall-mounted or free-standing design with included tabletop base for more placement options
- Ultra-flexible 8 ft. (2.4 m) coaxial cable that’s built-in for easy routing
- Black/white two-sided antenna blends into your home decor
*Range will vary depending on a variety of environmental and geographic factors
Setting up and using your antenna
- Select a location to place your antenna. See “Tips for Better Reception” for more information.
Notes:- This is an indoor antenna. Do not place it outside.
- When placing the antenna in the stand or on a wall/window, you can orient the antenna in either direction.
- Attach double-sided tape to your antenna’s four corners, then firmly press the antenna to the wall or window to secure.
Note: Do not secure your antenna with the double-sided tape until you’re sure it’s in the correct location to receive the channels you want.
OR
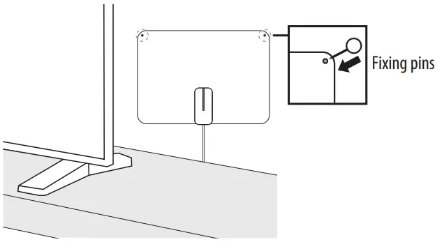
Use two fixing pins (included) to attach your antenna to a wall. Use a hammer and nail to create two small nail holes, then firmly press the fixing pins through the antenna and into the holes.
Note: The fixing pins are suggested for use on a wooden wall or any other softer walls.
OR
Pass the coaxial cable through the plastic antenna base holes (A). Then firmly push the antenna down into the plastic antenna base (B).
- Connect the power inserter’s coaxial connection to the coaxial jack on your TV, digital converter box, or set-top box.
Connecting the antenna to a digital converter or set-top box
Connect the coaxial cable to your digital converter box or set-top box, then connect a video/audio cable (such as an HDMI, coaxial, or AV cable) from your converter box or set-top box to your TV.

Connecting the antenna directly to your TV
Connect the coaxial cable to the coaxial jack on the back of your TV.
Note: If you have an HDTV with a digital TV (ATSC) tuner, you can connect the antenna directly to the HDTV. Older TVs may require a separate digital TV tuner or digital converter box.

- Plug the power adapter into a wall outlet, then plug the other end into the power inserter.
Note: Use only the supplied power adapter. For the antenna to function correctly, the power inserter must be installed and powered on. - Turn on your TV, then press input or source to select the input your antenna is connected to.
Note: Turn on your digital converter box or set-top box if your antenna is connected to either device. - Open your TV’s setup menu, then select the “scan” or “channel scan” option. Your TV automatically searches for available channels in your area. See your TV’s user guide for detailed instructions.
Note: If you don’t receive channels that you want, try moving your antenna to another location, then run the channel scan again.
Tips for better reception
- Install the antenna as high as possible to avoid possible obstacles between the antenna and the transmission tower.
- If possible, place the antenna near windows.
- Keep the antenna away from sources of interference such as air conditioners, hair dryers, and microwave ovens.
- Run a channel scan (from your TV’s setup menu) every time you move your antenna.
- If possible, position your antenna toward the transmission tower. To determine which channels are available in your area, visit https://www.fcc.gov/media/engineering/dtvmaps. Type in your zip code to get help with antenna placement.
- Test the antenna in multiple locations to find the strongest signal.
- This antenna is an indoor antenna. Do not place it outside.
- Run a channel scan monthly to make sure that you are receiving all possible channels.
- Some TVs have a signal strength indicator that can help with antenna placement. Check your TV manual to see if your TV has this feature.
- This antenna works with any TV or device with an ATSC tuner. See your device’s manual to check compatibility.
Troubleshooting
I cannot find any channels.
- Make sure that you have selected the correct input on your TV.
- Make sure that all your connections are correct and secure.
- Move your antenna, then rescan for available channels on your TV or set-top box.
- Make sure that you are connected to a TV or set-top box with an ATSC tuner. If you do not have either of those, you will need to purchase a digital converter box.
The picture quality is good on some channels and poor or no reception on others.
- Move your antenna, then scan for available channels on your TV or set-top box.
- Keep the antenna away from sources of interference, such as air conditioners, hair dryers, and microwave ovens.
- Your antenna may be too far from the broadcast antenna to receive an adequate signal. The signal may also be affected by obstructions between the broadcast antenna and your antenna.
- Make sure that the signal strength from the antenna is adequate. Some TVs have a signal strength indicator. Check your TV manual to see if your TV has this feature
I don’t know what digital TV reception I get in my area.
- To determine which channels are available in your area, visit https://www.fcc.gov/media/engineering/dtvmaps. Type in your zip code to get help with antenna placement.
Not all channels are available after performing a channel scan.
- Adjust your antenna, then scan for available channels on your TV or set-top box.
- Make sure that the signal strength from the antenna is adequate. Some TVs have a signal strength indicator. See your TV manual to see if your TV has this feature.
I have more than one TV on which I want to view over-the-air TV.
- If the signal is strong enough, you can purchase a coaxial splitter to allow for one antenna to provide channels to more than one TV.
OR - You will need to purchase an antenna for each TV that you would like to view over-the-air TV.
I am not receiving cable and streaming channels after a channel scan.
- Your antenna is capable of receiving local channels that are dependent on the broadcasters in your area.
- You can use the antenna alongside cable boxes and streaming devices, but it will not provide all of the same content offered by those devices.
I want HD channels, but I do not have an HDTV.
- Your digital antenna will not upscale to HD if the TV is not HD. You will need to purchase an HDTV.
Specifications
- Dimensions (H×W×D): 11.7 × 8.3 × 0.5 in. (29.8 × 21 × 1.3 cm)
- Range: 50 miles (80 km)
Note: Range will vary depending on a wide range of environmental and geographic factors - Frequency range:
- VHF: 174~230 MHz
- UHF: 470~700 MHz
- Cable length: 8 ft. (2.4 m)
- Impedance: 75
Legal notices
FCC Statement
FCC Caution – §15.21:
Changes or modifications not expressly approved by the party responsible for compliance could void the user’s authority to operate the equipment.
FCC Statement – §15.105(b):
This equipment has been tested and found to comply with the limits for a Class B digital device, pursuant to part 15 of the FCC Rules. These limits are designed to provide reasonable protection against harmful interference in a residential installation. This equipment generates, uses, and can radiate radio frequency energy and, if not installed and used in accordance with the instructions, may cause harmful interference to radio communications. However, there is no guarantee that interference will not occur in a particular installation. If this equipment does cause harmful interference to radio or television reception, which can be determined by turning the equipment off and on, the user is encouraged to try to correct the interference by one or more of the following measures:
- Reorient or relocate the receiving antenna.
- Increase the separation between the equipment and receiver.
- Connect the equipment into an outlet on a circuit different from that to which the receiver is connected.
- Consult the dealer or an experienced radio/TV technician for help.
One-year limited warranty
Visit www.bestbuy.com/bestbuyessentials for details.
Contact Best Buy essentials
For customer service, call 866-597-8427 (U.S. and Canada)
www.bestbuy.com/bestbuyessentials
Best Buy essentials is a trademark of Best Buy and its affiliated companies.
Distributed by Best Buy Purchasing, LLC 7601 Penn Ave South, Richfield, MN 55423 U.S.A.
©2022 Best Buy. All rights reserved.























