

AROMATRU ESSENTIAL OIL DIFFUSER
USER MANUAL
LOREM IPSUM

THANK YOU
Congratulations on purchasing the AromaTru Essential Oil Diffuser and your commitment to controlling the freshness of your indoor air. With the AromaTru Essential Oil Diffuser, we provide the ability to diffuse up to four different essential oils at a single time. In addition, AromaTru is equipped with several timer settings and app connectivity. Get ready to experience fresher smelling air!
PLEASE NOTE: It is crucial that you read and follow all the instructions and safety warnings in this manual for optimal performance of your essential oil diffuser and your health and safety.

SAFETY INSTRUCTIONS
WARNING: RISK OF ELECTRIC SHOCK
Safety precautions should always be used when operating this or any electrical appliance. Decrease the risk of electrocution, electric shock, injury, or fire by reading and following all the warnings below.
CAUTION: HIGH VOLTAGE!
This equipment should be inspected frequently and collected dirt removed from it regularly to prevent excessive accumulation that may result in flashover or a risk of fire. Use this product only as described in this AromaTru Essential Oil Diffuser owner’s guide. To reduce the risk of electric shock, do not attempt to service the product in any way other than in the manner described in the “Maintenance” section of this guide.
- Read all instructions before operating the AromaTru Essential Oil Diffuser.
- This product operates at 100 to 240V AC, 60Hz only, with a 24 volt DC Adaptor.
- Do not run the power cord under carpets or cover with throw rugs.
- Never run the essential oil diffuser unless it is fully assembled.
- Attempting to service the AromaTru Essential Oil Diffuser in any way not described in this own guide will void the warranty and could cause serious personal injury to the user and/or result in considerable damage to the unit.
- Never operate the AromaTru Essential Oil Diffuser if the plug or cord is damaged or appears damaged. Only qualified service personnel should replace a damaged power cord.
- Never use the power cord to pick up, carry, drag, pull or lift the AromaTru Essential Oil Diffuser.
Do not pull the cord against or around sharp corners and edges. This could result in injury to the user or damage to the cord. - Always remove the plug from its power outlet by holding onto the plug itself and pulling gently. Never pull on the cord itself to unplug it from its power outlet.
- Use care when operating the Aroma Essential Oil Diffuser by keeping all foreign objects, fingers, and other body parts, hair, loose clothing, and jewelry away from openings.
- Never touch the AromaTru Essential Oil Diffuser or its plug when your hands are wet.
- The AromaTru Essential Oil Diffuser is an electrical appliance. Adult supervision is required when operating around children.
FCC STATEMENT
This equipment has been tested and found to comply with the limits for a Class B digital device, pursuant to part 15 of the FCC Rules. These limits are designed to provide reasonable protection against harmful interference in a residential installation. This equipment generates, uses, and can radiate radio frequency energy and, if not installed and used in accordance with the instructions, may cause harmful interference to radio communications. However, there is no guarantee that interference will not occur in a particular installation. If this equipment does cause harmful interference to radio or television reception, which can be determined by turning the equipment off and on, the user is encouraged to try to correct the interference by one or more of the following measures:
AROMATRU ESSENTIAL OIL DIFFUSER
- Reorient or relocate the receiving antenna.
- Increase the separation between the equipment and receiver.
- Connect the equipment into an outlet on a circuit different from that to which the receiver is connected.
- Consult the dealer or an experienced radio/TV technician for help.
Changes or modifications not expressly approved by the party responsible for compliance could void the user’s authority to operate the equipment.
This device complies with part 15 of the FCC Rules. Operation is subject to the following two conditions:
(1) This device may not cause harmful interference, and (2) this device must accept any interference received, including interference that may cause undesired operation.
IC WARNING
This device contains license-exempt transmitter(s)/receiver(s) that comply with Innovation, Science and
Economic Development Canada’s license-exempt RSS(s).
Operation is subject to the following two conditions:
1) This device may not cause interference.
2) This device must accept any interference, including interference that may cause undesired operation of the device.
The distance between user and products should be no less than 20cm.

PRODUCT BENEFITS
THE REVOLUTIONARY AROMATRU ESSENTIAL OIL DIFFUSER FRESHENS THE AIR AROUND YOU.
- The AromaTru Essential Oil Diffuser boasts many great features:
- Powerful and quiet diffuser has 4 timer settings.
- Low power consumption-energy efficient.
- Effectively freshens the air around you.
- A 40-minute timer to set the time of operation, from 10 minutes up to 40 minutes.
- The light button allows controlling the light ring when you sleep.
ELECTRICAL RATINGS
- 100 – 240 VOLT AC TO 24 VOLT DC / 50-60 HZ
- POWER CONSUMPTION / 105 WATTS
- MODEL AR1
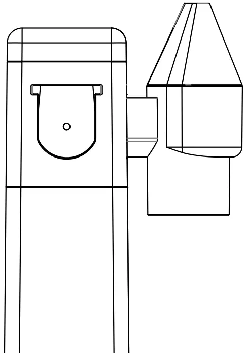
KNOWING THE AROMATRU ESSENTIAL OIL DIFFUSER
MAIN PARTS
- Shade Cover
- Atomizer Post
- Essential Oil Atomizer (4ea)
- Atomizer body
- Atomizer top
- Pickup tube
- Control Panel
- Power Buttons
- Light Button
- Power receptacle
- Light Bar
- Power Adaptor

PROPER USAGE
Please note: make sure the essential oil diffuser nozzles are installed properly before use.
- Keep the unit more than 1 foot away from a wall.
- Do not blow air from a fan or air conditioner directly onto the oil diffuser.
- Place AromaTru at least 2 feet away from curtains or drapery.
OPERATING THE AROMATRU ESSENTIAL OIL DIFFUSER

- Power Control
As soon as you press the power button on the front of the unit, the power button will light up. This indicates that the unit is on and ready to use. - Light Indicator
The light indicator button on the front of the unit activates and controls the light ring on AromaTru. When the light button is touched, the light ring will turn on and gradually go through all the colors. Each additional touch of the button will change the color of the light ring. The first touch will keep it on whichever color it is currently on from the first touch. Then, it will go to green, dark blue, red, orange, purple, light blue, and white. To turn the light ring off, touch the light indicator button a final time. - Diffuse for
The Diffuse for button controls the amount of time each oil slot will be diffused for. Each press will change the amount of time from 5 seconds to 10, 15, and 20 seconds. - Diffuse every
The Diffuse button controls the amount of time between each cycle of oils being diffused. Each press will change the amount of time from 5 seconds to 10, 30, and 60 seconds. - Timer
The Timer button controls the amount of time the unit will run for. Each press of the button will change the amount of time from 10 minutes to 20, 30, and 40 minutes. - Slot Number:
This button selects and deselects the oil you want to diffuse
LOADING OIL ON THE AROMATRU
Note AromaTru is intended to be used with AroamTru oils or with other non AromaTru oils in 15ml Bottles. Bottles larger than 15ml will not fit on the AromaTru unit
Before first use, remove the shade cover and nozzles and install oils. Make sure that the pickup tube is fully inserted before attaching it to the oil bottle

Note if the oil you are using has an orifice reducer please remove this before installing the Atomizer; reinstall nozzles on the unit and reinstall the shade cover. Plug the unit into an electrical outlet. The unit will be ready to run. Read the following directions to select desired settings.
DIFFUSING FOR THE FIRST TIME:
- Load oil on AromaTru
- Press the power button to activate the unit
- Select the Diffuse for a time by pressing the “Diffuse For” button this is the time the unit will continually diffuse a selected oil.
- Select the time between diffusing by pressing the Diffuse every button
- Press the Timer button to select for how long you want to diffuse the oil
- Select the oils you want to diffuse.
Note as soon as a diffusing time and 1 oil have been selected, the AromaTru will start diffusing, you can change any of the settings during diffusing
DIFFUSING MULTIPLE OILS:
It is possible to select between 1 to 4 oils to diffuse at a time. The way the AroamTru diffuses multiple oils is by diffusing them one at a time. If for example, the following AromaTru program has been selected, diffuse for 10 seconds, diffuse every 60 seconds, Timer is set to 20 minutes and oil slots 1, 2, and 3 have been selected. AromaTru will diffuse these in the following way.
Slot 1 will diffuse for 10 seconds, followed by slot 2 for 10 seconds, followed by slot 3 for 10 seconds, followed by a 60-second rest time before slot 1 will diffuse for 10 seconds, then slot 2 and slot 3 before another 60 seconds rest period will start. This cycle will continue for 20 minutes until the end of the Timer.
Note it is possible to change the slot number and timer setting anytime during diffusion
MAINTENANCE
Cleaning Maintenance
To clean the AromaTru atomizers, use the control panel to set the “Diffuse for” button to 2secons, the “Diffuse every” button to 5 seconds, and let the cleaning solution run for 2 minutes. Repeat for each atomizer. Once finished, replace the cleaning solution with oils of your choice and use them normally.
AromaTru Cleaning Solution
USES
To prevent clogging due to more viscous essential oils, diffuse the cleaning solution for 1-2 minutes every 1-3 months, according to the frequency of use. May also be used to clean the external surfaces of the diffuser.
WARNINGS
Do not drink.
Flammable: keep away from fire or flames.
When using this product: Avoid contact with eyes; do not take internally; do not inhale vapors.
Keep out of reach of children.
In case of accidental ingestion, seek immediate medical assistance or contact a poison control center without delay.
CLEANING THE ATOMIZER DIRECTIONS
To prevent and dissolve clogging: Attach the Cleaning Solution bottle to an atomizer and install the atomizer in the diffuser. Run the diffuser for 1-2 minutes to dissolve any residual clogging.
CLEANING EXTERNAL SURFACES:
Apply a small amount of the Cleaning Solution to a dry cloth. Wipe down the external surfaces of the unit as necessary.
TROUBLESHOOTING
Before contacting our customer service department, please try the following solutions:
Problem: Unit won’t operate.
Reason: ON/OFF button has not been pressed.
Solution: Press ON/OFF button.
Reason: Unit is unplugged.
Solution: Plug-in unit.
Problem: Reduced amount of oil being diffused.
Reason: The nozzle or pickup tube may be blocked.
Solution: Inspect the pickup tube and nozzle and use a cleaning solution to clean the nozzle.
ONE-YEAR LIMITED WARRANTY
AROMATRU ONE-YEAR LIMITED WARRANTY
Your AromaTru Essential Oil Diffuser is warranted to be free from defects in materials and workmanship for one year from the original purchase date. Should the product have a defect in materials or workmanship, we will repair or replace it without charge to you (a shipping and processing fee will apply). To obtain service under warranty, simply call our customer service center toll-free at 800.926.1706.
This warranty does not cover damage caused by accident, misuse or any use other than as intended and described in this product manual, or damage resulting from failure to
maintain and clean this product as specified in this product manual. This warranty applies only to the original purchaser of the AromaTru essential oil diffuser. This warranty does not cover the oils.
ALL EXPRESS AND IMPLIED WARRANTIES FOR THIS PRODUCT, INCLUDING IMPLIED WARRANTIES OF MERCHANTABILITY AND FITNESS FOR A PARTICULAR PURPOSE, ARE LIMITED IN DURATION TO THE WARRANTY PERIOD, AND NO WARRANTIES, WHETHER EXPRESS OR IMPLIED, WILL APPLY AFTER THIS PERIOD. Some states do not allow limitations on the duration of implied warranties, so the above limitation may not apply to you. While this warranty gives you specific legal rights, you may also have other rights which may vary from state to state.
CONTACT INFO FOR WARRANTY SERVICE:
AromaTru
P.O. Box 9156 | Van Nuys, CA | 91409
800.926.1709 | [email protected]
Register your AromaTru at aromatru.com/warranty
© 2021 Ideal Living LLC All Rights Reserved.
ARBITRATION AGREEMENT
PLEASE READ THIS AGREEMENT CAREFULLY. YOU ACCEPT THE TERMS OF THIS AGREEMENT BY RETAINING THE PRODUCT(S) SHIPPED IN CONNECTION WITH THIS AGREEMENT (THE “PRODUCTS”) FOR MORE THAN THIRTY (30) DAYS AFTER RECEIPT. IF YOU DO NOT AGREE TO THE TERMS OF THIS AGREEMENT, YOU MAY RETURN THE PRODUCT TO THE COMPANY WITHIN THIRTY (30) DAYS OF RECEIPT FOR A FULL REFUND.
THIS ARBITRATION AGREEMENT (“AGREEMENT”) AFFECTS YOUR LEGAL RIGHTS AND REMEDIES BY PROVIDING THAT DISPUTES BETWEEN YOU AND THE MANUFACTURER, DISTRIBUTOR, AND/OR SELLER OF THIS PRODUCT (COLLECTIVELY, “COMPANY”), MUST BE RESOLVED THROUGH BINDING ARBITRATION AND NOT IN COURT. IT ALSO PROVIDES THAT ANY DISPUTE CAN NOT BE RESOLVED IN A CLASS ACTION OR OTHER PROCEEDING WHERE YOU REPRESENT OTHER PERSONS OR OTHER PERSONS REPRESENT YOU AND THAT NO CLASS OR REPRESENTATIVE ARBITRATIONS ARE PERMITTED. PLEASE CAREFULLY READ ALL TERMS IN THIS AGREEMENT.
- RESOLUTION OF CLAIMS OR DISPUTES. Any claim or dispute between you and Company (or any of Company’s subsidiaries or affiliates) arising out of or relating in any way to the Product or this Agreement shall be resolved through final, binding arbitration. This arbitration obligation is reciprocally binding on both you and the Company and applies regardless of whether the claim or dispute involves a tort, fraud, misrepresentation, product liability, negligence, violation of a statute, or any other legal theory. Both you and Company specifically acknowledge and agree that you waive your right to bring a lawsuit based on such claims or disputes and to have such a lawsuit resolved by a judge or jury.
- LIMITATION OF LEGAL REMEDIES. All arbitrations under this Agreement shall be conducted on an individual (and not a class-wide) basis, and an arbitrator shall have no authority to award class-wide relief. You acknowledge and agree that this Agreement specifically prohibits you and the Company from commencing arbitration proceedings as a representative of others or joining in any arbitration proceedings brought by any other person. The parties agree that no class or representative actions of any type are permitted.
- ARBITRATION PROCEDURES.
a. Before instituting an arbitration, if you have any dispute, we strongly encourage you to contact the Company to try to resolve the matter by calling 800-926-1709, although you are not required to do so.
b. The arbitration of any claim or dispute under this Agreement shall be conducted in accordance with the expedited procedures set forth in the JAMS Comprehensive Arbitration Rules and Procedures as those Rules exist on the date you receive the Product, including Rules 16.1 and 16.2 of those Rules. These rules and procedures are available by calling JAMS or by visiting its website at www.jamsadr.com. The arbitration of any claim or dispute under this Agreement shall be conducted by an arbitrator who has at least five years of experience conducting arbitrations.
c. The arbitration of any claim or dispute under this Agreement shall be conducted in the State of California or the location in which you received this Agreement. For claims of $10,000 or less, you may choose whether the arbitration proceeds in person, by telephone, or based only on submissions.
d. The Company shall pay costs for the arbitration of claims, including any JAMS Case Management Fee and all professional fees for the arbitrator’s services. The Company shall pay the fees and costs of its own counsel, experts, and witnesses and shall not be able to recoup them from you even if you do not prevail in the arbitration. Unless otherwise provided by law, you acknowledge and agree that you shall pay the fees and costs of your own counsel, experts, and witnesses. - CHOICE OF LAW. The arbitration provisions of this Agreement and any arbitration conducted pursuant to the terms of this Agreement shall be governed by the Federal Arbitration Act (9 U.S.C. Secs. 1-16). In this respect, the parties acknowledge that this Agreement involves a transaction conducted in interstate commerce. Otherwise, this Agreement and the rights of the parties hereunder shall be governed by and construed in accordance with the laws of the State of California, exclusive of conflict or choice of law rules.
- SEVERABILITY. If any provision of this Agreement is declared or found to be unlawful, unenforceable, or void, such provision will be ineffective only to the extent that it is found unlawful, unenforceable, or void, and the remainder of the provision and all other provisions shall remain fully enforceable.
AROMATRU ESSENTIAL OIL DIFFUSER




















