LiMURAL K11S Professional Hair Clipper Instruction Manual
Components

Parameters
| Professional HP CI ’ | Motor | Operating voltage: 3v =-=-= |
| High performance motor | ||
| Battery | 2500 mAh Li-ion battery | |
| G ha røi nø time: a bout 3 ho u rs | ||
| Applicable Adapter Type | input: 100-240V-50/60Hz |
| OutpuI: 5V —1000mA | |
| Output cannot exceed 5.5V, otherwise the device will bum out, resulting in a permanent end to its operational life. |
Precautions For Use
DO NOT disassemble the product by yourself.
DO NOT wash the hair clippers; keep them away from wet areas
- The product should only be cleaned with a lightly dampened moist cloth or a mild soap solution.
- DO NOT charge the product within temperature ranges of above 40°C or below 0°C. Otherwise the battery’s capacity will be reduced and its lifespan will be shorten.

- Output CANNOT exceed 5.5V, otherwise the device will burn out, resulting in a permanent end to its operational life.

The product will become warm during usage and charging, this is normal.
Please remove the bakery safely, and follow all proper protocols in your area or battery disposal, when the battery ‘s service life ends.
Instruction

LED Display
- Power Indicator Percentage.

- If there is a lack of oil, the red light on the left side of the clipper turns on and there is an audible reminder at the same time.

- If the battery is below 5%, the red light on the right will fîash.
Fixed-Length Function
A: Use of guide Combs: Crop and trim the hair Options: (3,6,10,13, 16,19mm) six length adjustment options, they help to control the length of the hair that is cut.
- To determine the length of the haircut
- To select the appropriate guide Combs for styling and trimming.

- To adjust the clippers
These clippers are equipped with an adjustable taper lever that changes the closeness of the hair trimming. When the lever is in the uppermost position, the blades will produce the closest trimming. Pushing the lever downward gradually will increase the cutting length, as a result less hair will be cut.
Install the guide Comb:
- Align the guide Comb with the blade edge.
- Slightly pressed down on it until there is a Snap in order to mount it.
Disassemble the guide Comb:
Pull the guide comb firmly at its base (not along the teeth) until it disconnected from the clippers.
Use the Rechargeable Mode

How To Recharge
- Insert the charger into the rear port of clippers, connect to a power supply to begin charging.
- When the charging indicator light comes on, charging has commenced; when the red light changes to blue, it
- Indicates the product has been fully charged. Cord and cordless options are available.
Assembly & Disassembly Of The Clippers
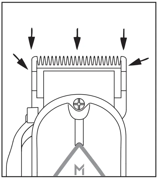
The blades must be realign if they have been removed for cleaning or replacement.
As shown in the image to the right the bottom blade holes are wider than the shanks of the blades screws. After the screw of the bottom blade is loosened, adjust the distance of lower blade, and align it with the upper blade, then tighten it.
- The end of the upper blade teeth should be 0.5mm away from the lower blade when the lever is in the uppermost position.

This must be done so that the clippers will not cut too closely or allow any moving parts to œme in contact with the skin.
- The left most tooth of the upper blade must be covering or in the left position of the first small tooth of the bottom blade.
- The right most tooth of the top blade must be touching the large tooth on the bottom blade.
Maintenance of Clippers
- The clippers have been carefully tested to ensure they are oiled and aligned propeñy before leaving the factory.
- To keep the clippers performing at the highest capacity they must be oiled after several uses
To oil it properly, the unit should be held so the blades are in a downward position. With the clipper blade running, dispense 2-3 drops of oil across the top blade.
Support
For more information, contact us at:
[email protected]
http://www.iimurai.com/



























