COSTWAY EP24925US Air Fryer Oven User Manual
THIS INSTRUCTION BOOKLET CONTAINS IMPORTANT SAFETY INFORMATION. PLEASE READ AND KEEP FOR FUTURE REFERENCE.
Please give us a chance to make it right and do better!
Contact our friendly customer service department for help first. Replacements for missing or damaged parts will be shipped ASAP!
Before You Start
Please read all instructions carefully.
Retain instructions for future reference.
Separate and count all parts and hardware.
Read through each step carefully and follow the proper order.
We recommend that, where possible, all items are assembled near to the area in which they will be placed in use, to avoid moving the product unnecessarily once assembled.
Always place the product on a flat, steady and stable surface.
Keep all small parts and packaging materials for this product away from babies and children as they potentially pose a serious choking hazard.
Important Safeguards:
When using electrical units, basic safety precautions should always be followed including the following:
- Do not touch hot surfaces.
- To protect against electric shock, do not immerse cord, plugs, or the unit in water or other liquid.
- Close supervision is necessary when any unit is used by or near children.
- Unplug from outlet when not in use and before cleaning. Allow to cool before putting on or taking off parts.
- The use of other accessories that are not intended to be use with this unit is not recommended. Doing so may damage the unit and can cause accidents.
- Not intended for outdoor use.
- Do not let cord hang over edge of table or counter, or touch hot surface.
- Do not place on or near a hot gas, electric burner and or in a heated place.
- Extreme caution must be used when moving unit containing hot oil or other hot liquids.
- To disconnect, transfer the timer to the shutdown and turn the thermostat to the end, then remove plug from the wall outlet.
- Never put the appliance against the wall or other appliances. There should be at least 3 inches of free space on the back side, left/right sides and the upper side of the appliance. Do not place anything on top of appliance.
- During air frying, hot steam is released from the air outlet opening. Keep your hands and face away from the steam and from the air outlet opening. Also, be careful of hot steam and air when you remove the Frying Pan Basket from the appliance.
- Make sure the ingredients prepared in this appliance come out golden yellow instead of dark or brown. Remove burnt remnants
WARNING
Please immediately cut off circuit and send unit to our Customer Service Department in case of other problems.
Accessories:
The frying pan and frying pan basket become extremely HOT during the cooking process. Do not touch the accessories during and immediately after cooking. Only hold the frying pan by the handle and use caution when removing these items from the unit. Always wear oven mitts or use pot holders when handling potentially hot accessories. Allow everything to cool completely before cleaning.
DO NOT USE UNIT FOR OTHER THAN INTENDED USE
Note: Put the appliance on a surface that is horizontal, even and stable. This appliance is intended for normal household use only. It is not intended to be used in environments such as staff kitchen of shops, offices, farms or other work environments. Nor is it intended to be used by clients in motels, bed and breakfast and other residential environments.
Save These Instructions
- Do not place the unit close to flammable materials, heating units or wet environments.
- Height of ingredients placed in the Frying Pan Basket should comply with the directions listed under “Operation Instructions.”
- Do not replace with other parts that are not designed specifically for this AIR FRYER.
- Do not put other cooking pans in the Frying Pan basket. Do not replace any parts with other containers.
- If a lot of smoke is escaping from the air vent during operation, unplug the unit immediately and contact customer service.*
- Do not move the unit while in operation. Only after the AIR FRYER has completely cooled down should you attempt to move it. Always wait for the AIR FRYER to cool down prior to handling it.
- Never use a towel to block the vent.
- If any troubles arise during operation, any necessary service must be authorized by the manufacturer for repairs.
- Do not disassemble the unit on your own or replace any parts.
- Do not use metal utensils with the coated Frying Pan Basket as this can damage the surface.
- If the power cord is damaged, do not attempt to operate the unit.*
- Keep the unit out of reach of children when the unit is operating or cooling down.
- Keep hands and face away from the vent outlet or where heat or steam is being released.
- Make sure the Air Fryer is always clean prior to cooking.
- It is normal for some smoke to escape from the unit when heating for the first time.
CAUTION
- Always put the ingredients to be fried in the Frying Pan Basket to prevent direct contact with the heating components.
- Do not cover the air inlet and outlet opening while the appliance is operating.
- Do not pour oil into the Frying pan, this may create a fire hazard.
- Never touch the inside of the appliance while it is operating.
Parts & Accessories
NOTE: Unpack all listed contents from packaging. Varies by model. Please
remove any clear or blue protective film on the components.
- Main Unit
- Control Panel
- Air Intake Vents
- Hot Air Outlet Vents
- Air Flow Racks
- Rotating Cage
- Drip Tray
- Skewers(10 pcs)
- Adjustable Skewers Racks(2 pcs)
- Rotisserie Shaft,Forks & Set Screws
- Rotisserie Fetch Tool
- Protection Cover
Air Flow Racks
Can be used not only for dehydration but also to cook crispy snacks or reheat items like pizza.
Rotating Cage
Great for fries, roasting nuts and other snacks. Use Rotisserie Fetch Tool to place cage into Unit.
Drip Tray
Cook with the Drip Pan in place for easy clean ups.
Skewers
Great for all your kabob recipes,meat,fish or veggies.
Adjustable Skewer Racks
Used when making kabobs. Skewer Racks fit over shaft and lock in place with Set Screws.
Rotisserie Shaft, Forks & Set Screws
Use for roasts whole chicken. Force shaft lengthwise through meat and center. Slide forks onto shaft from either end into meat, then lock in place with set screws. There are indentations on the shaft for the set screws. You can adjust the screws closer to the middle if needed but never move outward towards the ends. NOTE: Make sure roast or chicken is not too large to rotate freely within the oven. Maximum chicken or Roast,3.5 4lb.
Rotisserie Fetch Tool
Use to remove cooked roasts and chicken that have been prepared using the rotisserie or skewer methods. Place under Rotisserie Shaft and lift,left side first then gently extract the food.
Protection Cover
Prevent food from coming into contact with heat element. Easy to take out and easy to clean.
Important
Please make sure that your Power Air Fryer Oven has been shipped with the components that you ordered(as some accessories may be sold separately). Check everything carefully before use. if any part is missing or damaged , do not use this product. Contact the customer service.
NOTE: Some accessories may not be included with the purchase.
Warning
Forks,Skewers and other metal parts with this unit are sharp and will get extremely hot during use. Great care should be taken to avoid personal injury. Wear protective oven mitts or gloves.
Using the Accessories
PlaceAir Flow Racks into Unit
- Insert Drip Tray into bottom of the Unit.
- Place Air Flow Racks into Unit by sliding through the side grooves and onto the back lip(fig. A).
- Place Air Flow Racks closer to the top heating element for faster cooking and added crisp(fig. B).
- Rotate the Air Flow Racks mid-cycle for even cooking.
Components

Rotisserie Shaft & Skewers Racks
- Place the two Skewer Racks at each end of the Rotisserie Shaft. Make sure the Set Screws are on the outer side of the Rotisserie Shaft.
- Slightly tighten Set Screws. Do not over tighten as you may need to adjust the tightness after you insert the Skewers.
- Carefully poke Skewers through food.

Rotisserie Spit Assembly
- Insert each Skewer point through holes on the left Skewer Rack(fig. C).
- Squeeze the clip-end of each Skewer as you insert into the opposite Skewer Rack slot to secure.
- Release clip to securely rest in slot as shown(fig. D).
- Repeat process 3 through 6 in a uniform manner around the Skewer Rack. Make sure Skewers are evenly spaced.
- Tighten the Set Screws to make sure they are securely in place.
- Use caution while inserting the Spit into the Unit to prevent getting poked by the Skewer ends.
Place Rotisserie Spit or Rotating Mesh Basket into Unit
- Insert the left side of the assembled Spit or Basket first into the Rotisserie Shaft socket. Be sure the Rotisserie Shaft is in place to engage rotation(fig. E).
- Place the right side onto the hanger(fig. F) Fig. E-Left Side.
Remove Rotisserie Spit or Rotating Basket from Unit
- Open Unit door to pause cooking cycle or turn Unit off by pressing the Power Button
- Insert Rotisserie Fetch tool beneath the Rotisserie Shaft.
- Lift the right side of the Rotisserie Fetch tool at a slight angle to clear the bracket,then shift to the right until the left side of the Shaft slides out of the Rotisserie Shaft socket.
- Carefully remove the rotisserie food from the oven.
IMPORTANT: See the Final Assembly diagram to help identify the left and right sides of the Rotisserie Shaft before placing it in the Unit. The right side has two notches, and the left has one.
Place protection cover into Unit
- Insert protection cover into top of the Unit, protect the food and avoid touching the heat element. (Fig. G)
- Activity protection cover, easy to remove and cleaning. (Fig. H)

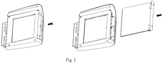
Place door glass into Unit
Activity door glass, easy to remove and cleaning. (Fig. I) If no insert door glass, the Unit cannot working.
Using the Digital Control Panel

- Power/Start-Stop Button- Once unit is plugged in, the Power Button will light up. Selecting the Power Button once will cause the full panel to be illuminated. Selecting the Power Button a second time will activate the cooking process at the default temperature of 370°F(190°C) and time of 15 minutes. Selecting the Power Button at any time during the cooking process will shut down the Unit causing display to go dark immediately and running light to go dark within 20 seconds. The fan will continue running for 20 seconds to “cool down” the Unit
- Internal Light- Selecting this button will help you check cooking progress while Unit is in operation.
NOTE: Opening the door during the cooking process will pause the unit. Internal light will illuminate if the door is open. - Rotation Button-Select this button when cooking anything using the Rotisserie Mode. Function can be used with any preset. The icon will blink while in use.
- Temperature Control Button-These buttons enable you to raise or lower cooking temperature by 41 °F(5℃)intervals starting from 150°F(65° C)to 400°F(200°C).Dehydration is from 90° F(30°C) to 170°F(75°C).
- Time Control Button- These buttons enable you to select exact cooking time to the minute,from 1 to 60 minutes in all modes except when dehydrating, which uses 30 minute intervals and an operating time from 2 to 24 hours.
- LED Digital Display-The Digital Numeric Display will switch between Temperature and Time Remaining during the cooking process.
- 14.Cooking Presets-Selecting any of these will set Time and Temperature as a default setting for that particular food. You may override these presets with Time and Temperature Buttons. View presets on the next page.
- 15.Running Lights- These lights will blink in sequence while cooking is in progress and continue blinking up to 20 seconds once you shut Unit down.
Cooking Presets
Preset Button Cooking Chart
*Cooking time for whole roasted chicken will vary with weight. Use meat thermometer to check internal temperature as per chart below.
Preset Button | Temperatrue | Time |
7.French Fries | 400°F(200°C) | 15mins |
| 8.Steaks/Chops | 370°F(185°C) | 25mins |
9.Fish | 390°F(200°C) | 15mins |
| 10.Shrimp | 320°F(160°C) | 12mins |
11.Chicken | 370°F(185°C) | 40mins |
| 12.Baking | 350°F(175°C) | 30mins |
13.Rotisserie | 400°F(200°C) | 30mins |
| 14.Dehydrator* | 90°F( 30°C) | 4hrs.(*2-24hrs.) |
Using the Power Air Fryer Oven Without Presets
Once you are familiar with the Power Air Fryer Oven you may want to experiment with your own.
Warning
Never use a cooking vessel filled with cooking oil or any other liquid with this unit! Fire hazard or personal injury could result.
Internal Temperature Meat Chart
This chart should be used to check the internal temperature for cooked meats. USDA Food Safety Standards.
Food | Type | Internal Temperature |
| Beef & Veal | Ground | 160°F(70°C) |
| Steaks, roasts-medium | 160°F(70°C) | |
| Steaks, roasts-rare | 145°F(63°C) | |
| Chicken & Turkey | Breasts | 165°F(75°C) |
| Ground, stuffed | 165°F(75°C) | |
| Whole bird,legs,thighs,wings | 165°F(75°C) | |
| Fish & Shellfish | Any type | 145°F(63°C) |
| Lamb | Ground | 160°F(70°C) |
| Steaks, roasts-medium | 160°F(70°C) | |
| Steaks,roasts-rare | 145°F(63°C) | |
| Pork | Chops, ground, ribs, roasts | 160°F(70°C) |
| Fully cooked ham | 140°F(60°C) |
General Operating Instructions
Before using the Power Air Fryer Oven for the first time
- Read all material and warning stickers and labels
- Remove all packing materials,labels and stickers.
- Wash all parts and accessories used in the cooking process with warm soapy water. NOTE: Only the accessories are dishwasher safe.
- Wipe the inside and outside of the cooking Unit with a clean moist cloth.
NOTE: Never wash or submerge the cooking Unit in water.
NOTE: When using this unit,never fill any cooking vessel with oil or liquid of any kind. This Unit cooks with hot air only.
Preparing for Use
- Place the appliance on a stable,level, horizontal and heat resistant surface.
- Select the cooking accessory for your recipe.
A Versatile Appliance
The Power Air Fryer Oven is designed to cook a wide variety of your favorite foods. The charts and tables provided within this manual and the Recipe Guide will help you get great results. Please refer to this information for proper time / temperature settings and proper food quantities.
Warning
- NEVER put anything on top of the appliance.
- NEVER cover the air vents on the top and back of the cooking Unit.
- NEVER fill any cooking vessel with oil or liquid of any kind. This Unit cooks with hot air only.
- NEVER use the Oven Door as a place to rest a hot Frying Basket filled with food. The Hot Frying Basket could damage the Oven Door or cause the Unit to tip. Personal injury could result.
- ALWAYS use oven mitts when removing hot Air Flow Racks.
Cooking with the Power Air Fryer Oven
- Place the ingredients on an Air Flow Rack, one of the Rotisserie accessories, or in the Rotating Cage.
- Put the Air Flow Rack, Rotating Mesh Basket or Rotisserie Spit,into the unit and shut the oven door. Plug the power cord into the 120V, dedicated outlet.
- When Rotating Cage or Rotisserie and food is in place, Press the Power Button once (fig.1)
- Select a preset function (figs.7-14) or manually set the Temperature and then the Time (figs.4 and 5). Refer to the detailed Control Panel.
- If a preset function was selected,the Unit will automatically start the cooking cycle. On the other hand,if the Temperature and Time were set manually,you need to press the Power Button to begin the cooking cycle.
NOTE: You may open the oven door to view the rotisserie at any time during the process to check the progress.
NOTE: Consult the Charts in this manual or the Recipe Books to determine the correct settings.
Tips
- Foods that are smaller in size usually require a slightly shorter cooking time than larger ones.
- Large quantities of food only require a slightly longer cooking time than smaller quantities.
- “Flipping” or turning smaller sized foods halfway through the cooking process, assures that all the pieces are evenly fried.
- Misting a bit of vegetable oil to fresh potatoes is suggested for a crispier result.When adding a little oil,do so just before cooking.
- Snacks normally cooked in an oven can also be cooked in the Power Air Fryer Oven.
- Use pre-made dough to prepare filled snacks quickly and easily. Pre-made dough also requires a shorter cooking time than homemade dough.
- Place a baking tin or oven dish in the Power Air Fryer Oven when baking a cake or quiche. A tin or dish is also suggested when cooking fragile or filled foods.
- You can use the Power Air Fryer Oven to reheat foods. Simply set the temperature to 300°F(150°C) for up 10 minutes.
Important
Removing Cooked or Hot Food
When removing cooked or hot food use the Rotisserie Fetch Tool(fig. A),or oven Mitts. Fetch Tool can also be used with Rotisserie Spit.
Warning
- During the cooking process, the Rotating Cage and other accessories will become very hot. When you remove it to check on the progress, make sure you have a trivet or a heat resistant surface nearby to set it down on. NEVER place the Rotating Cage directly on a counter top or table.
- Cooking accessories will get hot during the air frying process.Wear oven mitts and handle with care to AVOID INJURY.
Cooking Chart
| Food Item | Min-Max | Time* | Temperature | Comments |
| Thin Frozen Fries | 11/4-3cups | 15-16 min. | 400°F(200°C) | |
| Thick Frozen Fries | 11/4-3cups | 15-20 min. | 400°F(200°C) | |
| Homemade Fries | 11/4-31/4cups | 10-16 min. | 400°F(200°C) | Add 1/2 tbsp.oil |
| Homemade Potato Wedges | 11/4-31/4cups | 18-22 min. | 360°F(182°C) | Add 1/2 tbsp.oil |
| Homemade Potato Cubes | 11/4-3cups | 12-18 min. | 360°F(182°C) | Add 1/2 tbsp.oil |
| Hash Browns | 1cup | 15-18 min. | 360°F(182°C) | |
| Potato Gratin | 2cups | 15-18 min. | 400°F(200°C) | |
| Steak | 1/4-1.1 lb. | 8-12 min. | 360°F(182°C) | |
| Pork Chops | 1/4-1.1 lb. | 10-14 min. | 360°F(182°C) | |
| Hamburger | 1/4-1.1 lb. | 7-14 min. | 360°F(182°C) | |
| Sausage Roll | 1/4-1.1 lb. | 13-15 min. | 400°F(200°C) | |
| Chicken Drumsticks | 1/4-1.1 lb. | 18-22 min. | 360°F(182°C) | |
| Chicken Breast | 1/4-1.1 lb. | 10-15 min. | 360°F(182°C) | |
| Spring Rolls | 1/4-3/4 lb. | 15-20 min. | 400°F(200°C) | Use oven-ready |
| Frozen Chicken Nuggets | 1/4-1.1 lb. | 10-15 min. | 400°F(200°C) | Use oven-ready |
| Frozen Fish Sticks | 1/4-1.1 lb. | 6-10 min. | 400°F(200°C) | Use oven-ready |
| Mozzarella Sticks | 1/4-1.1 lb. | 8-10 min. | 360°F(182°C) | Use oven-ready |
| Stuffed Vegetables | 1/4-1.1 lb. | 10 min. | 320°F(160°C) | |
| Cake | 11/4cups | 20-25 min. | 320°F(160°C) | Use baking tin |
| Quiche | 11/2cups | 20-22 min. | 360°F(182°C) | Use baking tin/oven dish |
| Muffins | 11/4cups | 15-18 min. | 400°F(200°C) | Use baking tin |
| Sweet Snacks | 11/2cups | 20 min. | 320°F(160°C) | Use baking tin/oven dish |
| Frozen Onion Rings | 1 lb. | 15 min. | 400°F(200°C) |
Settings
This table will help you select the correct temperature and time for best results. As you become more familiar with the Power Air Fryer Oven cooking process,you may adjust these settings to suite you own personal tastes.
The table above will help you choose the basic settings for the ingredients selected.
*Add 3 minutes to cooking time when starting with a cold appliance.
NOTE: Keep in mind that these settings air indications. As ingredients differ in origin,size,shape and brand, we cannot guarantee the best settings for your ingredients.
Tip
Set the Timer to 1/2 the time needed for the recipe and the Timer bell will alert you when it’s time to “flip” your food. When you hear the timer bell,the pre-set preparation time has elapsed.
Cleaning & Storage
Cleaning
Clean the Power Air Fryer Oven after each use. The Rotating Cage and other accessories are made of durable stainless steel and are dishwasher safe. Never use abrasive cleaning materials or utensils on these surfaces.Caked on food should be soaked for easy removal in warm soapy water.
- Remove the power cord from the wall socket and be certain the appliance is thoroughly cooled before cleaning.
- Wipe the outside of the appliance with a warm,moist cloth and mild detergent。 3.To clean the oven door,remove it by lifting it to a 45°angle while gently pulling upward. Clean both sides with warm soapy water on a damp cloth.
- Do not soak or submerge the door in water or wash in the dishwasher.
- Clean the inside of the appliance with hot water,a mild detergent and a nonabrasive sponge.
- If necessary,remove unwanted food residue from the upper screen with a cleaning brush.
Storage
- Unplug the appliance and let it cool down thoroughly.
- Make sure all components are clean and dry.
- Place the appliance in the clean,dry place.
Troubleshooting
Problem | Possible Cause | Solution |
| The Power Air Fryer Oven does not work | The appliance is not plugged in. You have not turned the Unit on,by setting the preparation time & temperature | Plug power cord into wall socket With basket in place,set the Temperature and Time. Check that door is closed. |
| Food not cooked | The Rotating Cage is overloaded. The temperature is set too low. | Use smaller batches for more even frying. Raise Temperature and continue cooking. |
| Food is not fried evenly | Some foods need to be “turned” during the cooking process. | See General Operations in this manual. |
| White smoke coming from Unit | Oil is being used. Accessories have excess grease residue from previous cooking. | Wipe down to remove excess oil. Clean the Rotating cage after each use. |
| French fries are not fried evenly | Wrong type of potato being used. Potatoes not rinsed properly during preparation. | Use fresh,firm potatoes. Use cut sticks and pat dry to remove excess starch. |
| Fries are not crispy | Raw fries have too much water. | Dry potato sticks properly before misting oil. Cut sticks smaller. Add a bit more Oil. |
| Door came off | Door came off the hinge | As the door is slightly open (about 1 inch/2.5cm from the closed position),align the hinge so the joints fall into the slots.Then close the door. |
ENVIRONMENT FRIENDLY DISPOAL
You can help protect the environment! Please remember to respect the local regulations: hand in the non-working electrical equipments to an appropriate waste disposal centre.
Follow Costway![]()
Contact Us!
Do NOT return this item.
Contact our friendly customer service department for help first.
Welcome to visit our website and purchase our quality products!
With your inspiring rating, COSTWAY will be more consistent to offer you EASY SHOPPING EXPERIENCE, GOOD PRODUCTS and EFFICIENT SERVICE!
US office: Fontana, California
UK office: Ipswich
- Reward Points
- Exclusive Customer Service
- Personalized Recommendations
- Permanent Shopping Cart
- Order History

We would like to extend our heartfelt thanks to all of our customers for taking time to assemble this product and giving us valuable feedbacks.





















