
IRON & MANGANESE FILTER SYSTEM COMBO
WF4-P | WF8-P

IMPORTANT INFORMATION
- Read these instructions carefully and determine the location of all system components before beginning installation.
- Check all applicable plumbing, building, and electrical codes for installation compliance.
- Install the system on the main water supply.
- The use of plumber’s tape and/or pipe thread seal paste will be needed on all threaded connections.
- To condition all water in the home, install the filtration system close to the water supply inlet, and upstream of all other plumbing connections, except outside water pipes. Outside faucets should remain on un-filtered water.
- The electronic filter head cannot be exposed to outdoor elements, such as direct sunlight or atmospheric precipitation. The system may be installed in a covered, open-air structure such as a carport or other shelter. Weather covers are available to protect the electronic control from direct sunlight and precipitation.
WARNING
If this or any other system is installed in a metal (conductive) plumbing system, i.e. copper or galvanized metal, the plastic components of the system will interrupt the continuity of the plumbing system. As a result any errant electricity from improperly grounded appliances downstream or potential galvanic activity in the plumbing system can no longer ground through contiguous metal plumbing. Some homes may have been built in accordance with building codes, which actually encouraged the grounding of electrical appliances through the plumbing system.
Consequently, the installation of a bypass consisting of the same material as the existing plumbing, or a grounded “jumper wire” bridging the equipment and re-establishing the contiguous conductive nature of the plumbing system insert must be installed prior to your systems use.
CAUTION
When adding a filtration/softening system to homes/buildings supplied by well water, the system should be installed following the pressure tank. DO NOT USE this system for pneumatic or hydropneumatic applications. If you are using a booster pump, then install this system following the booster pump. If you have questions, please call customer service.
Customer Service Contact Information Section
Homeowners Phone: 877.842.1635
Professionals Phone: 877.842.1635
PRODUCT OPERATION AND SPECIFICATIONS
| Specification Description | WF4-P | WF8-P |
| Max Flow Rate | 10 GPM | 15 GPM |
| Minimum Working Pressure | 25 PSI | |
| Maximum Working Pressure | 80 PSI | |
| Maximum Vacuum | 5 inch/127 mm Hg | |
| Operating Temperatures | 36°F – 120°F | |
| pH Range | 7 -11 | |
POWER REQUIREMENTS
The computer board receives power from an external wall-mount transformer, supplied with each system.
Voltage: The voltage supplied to the computer board is 24V AC.
Frequency: The line frequency is 50 Hz or 60 Hz.
Storage Range: The computer board can be stored at temperatures from -20°C (-4°F) to 70°C (158°F).
Humidity: The computer board operates properly with relative humidity from 10% to 95%, non-condensing.
COMPLETE PARTS LIST
Note
The parts supplied are intended to accommodate a variety of water supply lines. Additional fittings may be needed to fit to your plumbing. Visit pentair.com to view our full line of installation kits.
| Part | Description | Qty. | Part | Description | Qty. |
| 1″ Plastic Male NPT Assembly: V3007-04 1″ Plastic Male NPT Assembly (2): O-Rings (2), Split Rings (2), and Connectors (2) | 1 | Bypass Valve: In/Out Bypass Valve with Red Arrow Handles | 2 | ||
| 1″ PVC Tail Adaptor for Electronic Head Bypass 90 Degree 1″ PVC Tail Adaptors also included | 2 | Hose Bib Assembly | 1 | ||
| Sediment Filter System: Big Blue Filter Housing, Mounting Bracket, Phillips Head Screws (4), Bolt Head Screws (4), and Washers (4) | 1 | Electronic Head with Bypass | 1 | ||
| Sediment Filter: 5-Micron Poly-Spun Sediment Filter | 1 | Pentair Whole House Carbon Filter | 1 | ||
| PVC Tubing Drain Line (50 ft.) | 1 | Solution Tank | 1 | ||
| Chlorine Test Strips | 1 | Chemical Injector Pump Tubing | 1 | ||
| Non-Abrasive Auto Wax 4 oz. Bottle | 1 | Chemical Injector Pump (2) 1″ Bushings Included | 1 | ||
| Pentair Whole House Carbon Filter | 1 | Pentair Whole House Iron & Manganese Filter | 1 |
INSTALLATION OVERVIEW


Note
Sediment filter position is at the discretion of your professional installer. As a general guideline, the sediment prefilter is typically installed in the “pre” position (as shown above) for well water applications. For city water applications, the sediment filter is typically installed in the “post” position after the Water Softener Alternative tank.
PRE-INSTALLATION
Note
Head may come loose in transit. Please check head by tightening clock wise, hand tighten only, no more than 1/4 turn.
Head may not move at all or less than 1/4 turn.
Bypass Valve Installation for the Whole House Carbon Filter

Note
The bypass valve(s) included with this system are designed for multiple water systems. This may result in the arrows on the bypass valve(s) pointing differently than shown. If the arrows on your bypass valve(s) do not match the diagram, remove the red arrows by pulling them straight up, turn them 180˚ to match the drawing, and push them back down onto the stem.
The bypass valve comes pre-assembled and ready to install with the o-rings, split rings, and quick connect nuts. Push the bypass valve into the head of the Carbon Filter Tank with the unthreaded ends oriented toward the tanks and hand-tighten the quick connect nuts.
MEDIA SOAK


Carbon Soak/Rinse:
Note
Steps 1-3 should be done prior to installation
- Locate the carbon filter tank and the hose bib attachment.
- Attach the hose bib attachment to “Inlet” side of the carbon filter. Attach garden hose to the hose bib and turn water slowly until water flows out of the outlet of the tank (a stream of water about the size of a pencil). Allow this water to flow out for 15 minutes. (Note the first few gallons of water could look black and cloudy due to the carbon fines, this is a normal occurrence).
- After 15 minutes, turn water off for 1 minute. Then turn water on fully for 1 minute, and then turn off and wait 1 minute.
- Shoud you lose water pressure while completing step 3, turn water off, and allow the tank to settle with no water usage. Repeat step 3, but reduce how fast you flush the tank.
Note
Should you need to perform the above steps after the tanks are connected to the home plumbing, it is recommended to use an outside garden hose spigot or faucet with an aerator to perform the rinsing procedure.
IMPORTANT
For 72 hours after installation, try not to use a high demand of water (multiple fixtures at one time). This can cause the media to float and could restrict water pressure. Should this happen, stop using the water and allow the tank to sit undisturbed (no water flow) for 15 minutes. Then resume a lower water useage.
SEDIMENT FILTER INSTALLATION
Note
Sediment filter position is at the discretion of your professional installer. As a general guideline, the sediment pre filter is typically installed in the “pre” position (as shown above) for well-water applications. For city water applications, the sediment filter is typically installed in the “post” position after the Water Softener Alternative tank.

Part 1
- Unscrew the cover from the blue filter housing.
- Remove the plastic covering from the sediment filter.
- Place the sediment filter onto the stand pipe in the blue filter housing and set aside.

Part 2
- Shut off the water.
- Attach the filter cover to the mounting bracket using the supplied bolt head screws and washers. Make sure to properly orientate the IN and OUT to match your flow pattern.
- Attach the mounting bracket to the wall using the supplied Phillips head screws.
CHEMICAL INJECTOR PUMP OVERVIEW

Pressure Release Button – Allows you to relieve the air pressure after install and maintenance.
Flow Direction Arrow – Indicates the proper flow pattern depending on how the unit is installed.
Dosage Adjustment – Allows you to increase or decrease the amount of solution injected per gallon of flow.
Dosage Lock Nut – Locks and unlocks the Dosage Adjustment for increasing and decreasing solution.
Suction Hose Nut – Compression nut secures the injector tubing to the injector.
CHEMICAL INJECTOR PUMP AND SOLUTION TANK INSTALLATION

Chemical Injector Pump Installation
IMPORTANT
Install the Chemical Injector Pump onto the water supply after the Sediment Filter and before any other filtration or softening system.
- Determine the size and material of your incoming water supply line from the Sediment Filter System.
- Mount the Chemical Injector Pump to the wall using the provided bracket. Line up the inflow and outflow connections with the current water line.
- Remove the two red thread protectors from inlets and discard. Injector Pump has 3/4″ connections, two 1″ bushings are included.
- Plumb the Injector Pump into your water line. The arrow on the body of the Injector Pump shows the correct water flow direction.
The Injector Pump can be rotated to match your flow direction. The water should enter and exit the pump following the direction of the arrow.
Solution Tank Installation
- Remove the black cap from the opening on the Solution Tank.
- Drill one 1/2” hole into the top of the Solution Tank. (Hole should be larger than tubing to allow air in)
- Insert the end of the Chemical Injector Pump Tubing with the pump foot valve connected into the hole which was covered by the black cap on the top of the Solution Tank.
- Feed and pull the other end of the tubing through the drilled opening on the top of the Solution Tank.
- Determine the length of Chemical Injector Pump Tubing required for the foot valve to reach 4″ from the bottom of the Solution Tank and cut tubing.
- Connect the Chemical Injector Pump Tubing to the suction valve on the Chemical Injector Pump by removing the suction hose nut, place nut over tubing, push tubing onto suction valve and tighten nut.
- Fill the Solution Tank with 17 gallons of bottled water and proper number of cups of bleach based on the % concentration of Sodium Hypochlorite noted on the bottle (see chart below.)
| Concentration of Bleach (% Sodium Hypochlorite) | Number of Cups | Gallons of Water |
3.00% | 12 7 6 4.5 | 17 17 17 17 |
IMPORTANT
Ensure the Chemical Injector Pump Tubing is free of kinks and the Solution Tank is not sitting directly on concrete. The cold temperatures held by concrete floors can separate your solution.
IRON AND MANGANESE TANK INSTALLATION

- Level the Whole House Iron & Manganese Filter.
Note
If the tank is not level, lift the tank straight up 6 inches and tap it on the ground until the tank stands vertical. The bottom of the tank is round and the boot allows the tank to stand upright. - Determine the size and material of your incoming water supply line from the Injection Pump and choose the appropriate fittings required to connect it to the Bypass Valve.
CAUTION
Do not over-tighten any of the fittings during installation.Part Description Qty. 
1″ PVC Tail Adaptor for
Electronic Head Bypass2 
- Remove the white and red cap from the top of the Whole House Iron & Manganese tank.
- Screw the Electronic Head onto the tank hand tight.
- Install the fittings onto the inlet and outlet, following the labels on the Head.
- Wrap 2-3 turns of Teflon tape on the drain line connection hose barb. Screw into the drain port hand tight. Do not over tighten.
- Connect the incoming water supply to the fitting on the inlet side of the Bypass Valve.
- Connect the outgoing water supply to the outlet side of the Bypass Valve.
- Slide hose clamp over one end of drain tube drain line barb and secure to the hose barb with the hose clamp. Secure the other end of the line to a drain. Note: An air gap

IMPORTANT
- Ensure the PVC Tubing Backwash Drain Line is not submerged and is free of kinks.
- Maximum vertical rise of the backwash line is 6 feet.
- If incorporating two or more backwashing systems make sure to keep the drain lines separate or install a one way check valve between the units.
WHOLE HOUSE WATER FILTER INSTALLATION
- Level the Whole House Water Filter.
Notice
If the tank is not level, lift the tank straight up 6 inches and tap it on the ground until the tank stands vertical. The bottom of the tank is round and the boot allows the tank to stand upright.
- Determine the size and material of your incoming water supply line and choose the appropriate plumbing required to adapt to the 1” male NPT Assembly.
Note
Visit Pentair.com to view our full line of installation kits.
CAUTION
Do not over-tighten any of the fittings during installation.
Note: The fitting below is designed with a ¼” give to allow for proper pipe alignment. It will not leak and is intended to have some flexibility.Part Description Qty. 
Sediment Filter
1″ Plastic Male NPT Assembly:
V3007-04 WS1 Fitting 1″ Plastic Male
NPT Assembly (2): O-Rings (2),
Split Rings (2), and Connectors (2) - Install the fittings into the INLET and OUTLET sides of the bypass valve. Follow the diagram supplied with the fitting.
- Connect the incoming water supply to the fitting on the INLET side of the bypass valve.
- Connect the outgoing water supply to the OUTLET side of the bypass valve.
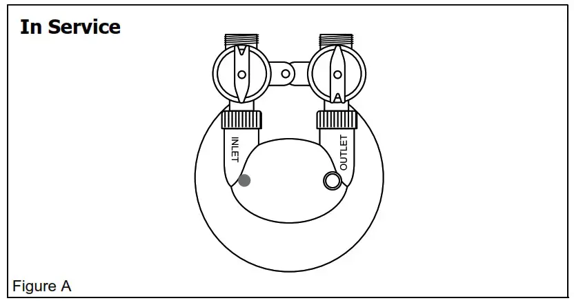
BYPASS VALVE OPERATIONS

Figure A shows the system “in service” which allows water to flow in and out of the tank. In this position the system would be considered ON.

Figure B shows the system “in bypass” which will direct water straight to the home without going in and out of the tank. In this position the system would be considered OFF.
COMPLETE THE INSTALLATION

- Turn on main water supply
- Press Pressure Release Button on top of Injector Pump
- Check for leaks
- Peel off the protective plastic wrap from the stainless steel tank jacket(s)
- Add the Pentair logo sticker(s) in the desired location on the tank
- Wax stainless steel tank jacket(s) with wax provided (or any other non-abrasive auto wax) a minimum of 1-2 times per year or as needed based on the installed environment
PROGRAMMING THE ELECTRONIC HEAD
How to Program the End User’s Level
To begin, verify that the control is in the Service Mode.
Time of Day GL Remaining
Press the SCROLL BUTTON to advance to the next setting.
The following settings are available in the End User’s Level:
- Time of Day
The control will display:
Set Time of Day
• Press the UP or DOWN ARROW to program the time of day. Press the SCROLL BUTTON to advance to the next setting. - Vacation Mode
The control will display:
Vacation: OFF
• Press the UP or DOWN ARROW to activate the Vacation Mode.
Note
The unit will not regenerate when the Vacation Mode is on.
• The Vacation Mode will deactivate when a flow rate greater than 1.5 gallons per minute has been measured by the meter or when any button is pressed on the control. After the Vacation Mode has been deactivated, the unit will go into an immediate regeneration.
Note
The vacation mode is mainly useful if you have override set to something other than “OFF” and do not want the unit to regenerate during an extended absence.
Press the SCROLL BUTTON to advance to the next setting. - Immediate Regeneration Mode
The control will display:
Regen in 10 sec
• If the control is left in this position, the timer will countdown from 10 to 0, initiating a regeneration at 0.
• To avoid an immediate regeneration, press the SCROLL BUTTON before the timer reaches 0.
Press the SCROLL BUTTON to advance to the next setting. - Delayed Regeneration Mode
The control will display:
Regen @ (current setting)
• If the control is left in this position, the unit will regenerate at the programmed time. The display will remain in the Delayed Regeneration Mode until the regeneration has begun.
• To cancel the Delayed Regeneration Mode, press the SCROLL BUTTON.
Press the SCROLL BUTTON to return to the Service Mode.

Key Buttons:
Scroll Button
Up Arrow
Down Arrow
TESTING CHLORINE LEVELS IN WATER – DIALING IN
- Put the Whole House Water Filter into bypass. (See page12 for bypass position)
- Turn on the nearest cold water faucet to the system.
- Listen and watch the pump to make sure it is pumping. The pump should pulse and not run continuously. If the water is off, the pump will stop.
- Let the water run for 15 minutes.
- After 15 minutes, use a chlorine test strip to test a sample of water from the cold water faucet.
a. The optimum chlorine level reading is 2.6ppm on the test strip.
b. If you do not have a reading of chlorine you will need to add 3 more cups of bleach to the solution tank and mix. Note the new total of bleach to 17 gallons water. Repeat steps 4 & 5 to achieve a new sample for testing. Double check to make sure the Water Filter is in bypass. Page 12 shows the bypass position.
c. If your reading is close to 2.6ppm then you will unlock the dosage adjustment on the injector pump and rotate up two full turns.
Re-lock the dosage adjustment and repeat steps 4 & 5 to achieve a new sample for testing. - If you needed to test another sample and you still do not have a reading of chlorine add another 3 cups of bleach and mix. Note the new total of bleach to 17 gallons of water. Repeat steps 4 & 5 to achieve a new sample for testing.
- If your reading is close to 2.6ppm then you will unlock the dosage adjustment on the injector pump and rotate up two full turns. Re-lock the dosage adjustment and repeat steps 4 & 5 to achieve a new sample for testing.
IMPORTANT
If after testing again there is still no reading of chlorine we recommend calling in to speak with a
Technical Support representative. 877-842-1635
| Concentration of Bleach (% Sodium Hypochlorite) | Number of Cups | Gallons of Water |
3.00% | 12 7 6 4.5 | 17 17 17 17 |
ELECTRONIC HEAD CONTROL INFORMATION
Power on LED
A green LED is ON when power is applied to the control and the microprocessor is operating properly.
Service Required
If the message “For Service Call” or “Service Required” displays in the window of the control without showing the time of day, the control valve has encountered a problem, such as failure to reach the proper position during regeneration. The valve, the motor assembly, and board must be checked to diagnose and fix this problem.
Note
It is normal for the message ‘For Service Call’ followed by a phone number to scroll across the second line of the display.
The time of day & capacity remaining will appear on line 1 during normal operation.
Time Clock
The time clock maintains the time of day for an extended period of time in the event of power loss. A super capacitor provides this function and eliminates the need of a battery. In the event the power is off past the charge of the capacitor, only the time of day is lost. The rest of the programming is stored in the memory and will not need to be reprogrammed. When the power is restored, the clock will restart at 8 AM and will need to be reset.
Regeneration
Once an immediate regeneration is requested, a complete regeneration must occur to clear the request. Once the regeneration starts, it must finish or the computer board will not clear. Manually walk (scroll) the control through regeneration to clear the computer board. If the regeneration is aborted and the request is not cleared, another immediate regeneration will occur.
High-Speed Motor Operation in the Regeneration Mode
High-speed motor operation is achieved while stepping the control through the regeneration cycle. Pressing the scroll button a second time, while in regeneration, activates the higher speed.
MAINTENANCE
Sediment Filter
It is recommended that the sediment filter be replaced every 6-9 months depending on the amount of sediment present in the water supply. If the system has been working properly and the pressure is slowing, it may be time to change the sediment filter.
Check the sediment filter and replace if necessary.

Replacing the Sediment Filter
- Turn off the main water supply to the sediment filter system and bypass all tanks.
- Run a faucet (cold water) inside the house to relieve the pressure. Leave the faucet open.
- Unscrew the blue filter housing clockwise using the supplied filter wrench.
- Remove the existing sediment filter and discard.
- Remove the o-rings and wipe the upper groove clean. Lubricate two new o-rings with a coating of clean silicone grease.
Replace both o-rings. Be sure to press the upper o-rings down into the groove with two fingers.
Note
This step is important to ensure the proper filter seal. Make sure the upper o-rings is seated level in the groove. If the o-ring appears damaged, stretched, or crimped it should be replaced. - Place a new sediment filter onto the stand pipe in the blue filter housing.
- Screw the blue filter housing onto the filter cover hand tight. Lightly snug the housing with the spanner wrench making sure not to over-tighten.
- Turn on the main water supply slowly to allow the sediment filter system to fill with water and expel air from lines. Put tanks back in service (out of bypass).
- Check for leaks.
Chemical Injector Pump:
- Clean lower end and service check valve every 3-6 months or as needed.
- Change every 6-12 months (Injector Pump Seal Kit – 3 O-Rings & Check Valve)
Note
Spare kits for replacement purposes can be obtained by calling your customer service representative.
Solution Tank Refill — Bleach & Water
- Check the level of the Solution Tank twice per month. Do not let the liquid in the tank fall below ¼ full.
WARNING
Running the pump without solution, will cause damage to the pump. - Fill the Solution Tank with bleach and treated water as needed (Water that has gone through your filtration system).
ELECTRONIC VALVE MAINTENANCE REQUIREMENTS
- Clean the backwash flow control.
- Verify that the flow meter is functioning correctly. Clean the impeller, if necessary.
- Verify the programming of the control. Reprogram, if necessary.
- Verify the minimum and maximum water pressure. Install a pressure reducer, if necessary.
- Replace the filter media every three to five years. Systems used for treatment of high iron willnrequire replacement of the filter media more often. Call your local dealer to replace the filter media
TROUBLESHOOTING
| Problem | Solution |
| Water leaking at the top of the tank around the head. | You may need to turn the head to tighten it. The tank head is pre-installed hand-tight, do not overtighten the head (just turn it snug). |
| The tank leans to one side or is not level. | If the tank is not level, lift the tank straight up 6 inches and tap it on the ground until the tank stands vertical. The bottom of the tank is round and the boot allows the tank to stand upright. |
![]() | |
| Water pressure is slowing. | It is recommended that the sediment filter be replaced every 6-9 months depending on the amount of sediment present in the water supply. If the system has been working properly and the pressure is slowing, it may be time to change the sediment filter. Check the sediment filter and replace if necessary. |
| Water appears grey or cloudy. | Water may appear grey or cloudy for the first seven to ten days after installation due to extra carbon dust. |
| Water is backfilling into the solution tank. | The check valve on the lower end of the pump is stuck in the open position. Turn water off, relieve pressure, remove the suction hose nut as well as the retaining nut underneath. Remove the check valve by pulling down. Rotate the white retainer cap to expose the check valve. Clean o-ring, inner housing and Replace. |
| Water pressure is slowing immediately after installation. | High flow rates such as bathtubs, utility sinks, hose bibs, multi-headed showers, body sprayers, or anything that is considered high flow for the first 72 hours should be avoided. If you suspect a carbon blockage of the top basket due to a high-flow situation within the first 72 hours of installation, turn off any running water for at least 10 minutes. This will clear the blockage and you can resume using water at low or normal flow rates. |
| The unit fails to regenerate. | 1. Check the electrical items (fuse, transformer). 2. Verify the correct regeneration schedule and reset the control. 3. Replace the drive motor. 4. Replace the flow meter. 5. Replace the computer board. 6. Replace the microswitches. |
| The valve cycles continuously. | Replace the microswitches. |
| Constant water flow to the drain. | 1. Replace the drive motor. 2. Replace the computer board. 3. Replace the microswitch(es). 4. Defective microswitch(es). |
Note
If you have experienced a Boil Alert or require your system to be sanitized, please go to pentair.com/assets/pwsboilalert for product sanitization instructions.
PRODUCT WARRANTY AND REGISTRATION FORM
For details on your Pentair product warranty, please visit Warranty Registration Form
Send in this Warranty Registration Form to validate your warranty or visit pentair.com/register-warranty to complete the warranty registration form online.
Date Item(s) were Received: _____________________ Order ID#: _____________________ Model: _____________________
Dealer Purchased From: ___________________________________________________________________________________
Model/Serial Number: ____________________________________________________________________________________
Name: _________________________________________________________________________________________________
Address: ________________________________________________________________________________________________
City: _____________________ State: _____________________ Zip: _____________________
Send to:
Pentair
2361 Mason Avenue, Suite 100
Daytona Beach, FL 32117
Phone: 1.800.842.1635
PRODUCT CERTIFICATION
![]()
Certified By IAPMO R&T to NSF/ANSI Standard 42 for the reduction of Chlorine Taste & Odor, structural integrity & NSF/ANSI 61 for material safety.
![]()
The NaturSoft® system is DVGW DW-9191 certified for 99.6% hard water scale prevention.

2361 Mason Ave | Suite 100 | Daytona Beach, FL 32117 | United States
P: 877.842.1635 | Technical Services: 877.842.1635 | pentair.com/homewater
© 2021 Pentair. All indicated Pentair trademarks and logos are property of Pentair. Third-party registered and unregistered trademarks and logos are the property of their respective owners.
4006043 Rev A May21






















